TOP
|
特許
|
意匠
|
商標
特許ウォッチ
Twitter
他の特許を見る
10個以上の画像は省略されています。
公開番号
2025140348
公報種別
公開特許公報(A)
公開日
2025-09-29
出願番号
2024039694
出願日
2024-03-14
発明の名称
リテーナおよび管用継手
出願人
大阪瓦斯株式会社
,
日本継手株式会社
代理人
個人
,
個人
主分類
F16L
33/00 20060101AFI20250919BHJP(機械要素または単位;機械または装置の効果的機能を生じ維持するための一般的手段)
要約
【課題】 許容可能な管の動きをより大きくすること。
【解決手段】 リテーナ24は貫通空間116を取囲む。リテーナ24は、一方接続対象引掛部94および他方接続対象引掛部96と、固定部98とを有している。一方接続対象引掛部94および他方接続対象引掛部96は、フレキシブル管が貫通空間116を貫通するとフレキシブル管の外周面にそれぞれ引っ掛かる。固定部98には一方接続対象引掛部94および他方接続対象引掛部96が固定される。固定部98が、一方隣接接続部および他方隣接接続部と、易捻連結部とを有している。易捻連結部は、一方隣接接続部および他方隣接接続部の間においてそれらを連結する。分離箇所における固定部98の中心軸方向についての動きを可能とするねじれについての易捻連結部の弾性変形がそのねじれについての一方隣接接続部および他方隣接接続部の弾性変形に比べて容易である。
【選択図】 図3
特許請求の範囲
【請求項1】
管が貫通する貫通空間を取囲み、かつ、前記管が前記貫通空間を貫通すると前記管が前記貫通空間から後退し抜けることを防止するリテーナであって、
前記管が前記貫通空間を貫通すると前記管の外周面にそれぞれ引っ掛かる複数の引掛部と、
前記複数の引掛部が固定される固定部とを有しており、
前記固定部が、
前記複数の引掛部のいずれかにそれぞれ接続される複数の接続部と、
前記複数の接続部のうち隣接する前記接続部の対のいずれかである隣接接続部の対の間において前記隣接接続部の対を連結する易捻連結部とを有しており、
隣接する前記複数の接続部の対の間のうち前記易捻連結部により連結される前記隣接接続部の対の間とは異なる一箇所である分離箇所にて前記固定部が前記固定部の中心軸方向の一端から他端にわたって分離しており、
前記分離箇所における前記固定部の中心軸方向についての動きを可能とするねじれについての前記易捻連結部の弾性変形が前記ねじれについての前記隣接接続部の対の弾性変形に比べて容易なことを特徴とするリテーナ。
続きを表示(約 1,400 文字)
【請求項2】
前記易捻連結部における前記固定部の中心軸方向についての両端のうち少なくとも一方に凹部が設けられていることを特徴とする請求項1に記載のリテーナ。
【請求項3】
前記複数の引掛部のうち前記隣接接続部の対がそれぞれ接続される前記引掛部の対である接続対象引掛部の対それぞれの外周面に嵌込溝が設けられており、
前記接続対象引掛部の対の一方の前記嵌込溝に前記隣接接続部の対の一方が嵌め込まれており、
前記接続対象引掛部の対の他方の前記嵌込溝に前記隣接接続部の対の他方が嵌め込まれていることを特徴とする請求項2に記載のリテーナ。
【請求項4】
前記隣接接続部の対の一方が、
前記接続対象引掛部の対の一方の前記嵌込溝の中に配置され一端が前記易捻連結部に接続される一方溝内配置部と、
前記接続対象引掛部の対の一方の前記嵌込溝の中から前記一方溝内配置部が抜けることを防止する一方抜止部とを有していることを特徴とする請求項3に記載のリテーナ。
【請求項5】
前記接続対象引掛部の対の一方の前記嵌込溝が前記易捻連結部に対向する側とは反対側の端において開口を形成しており、
前記一方抜止部が、前記一方溝内配置部の他端に接続され、かつ、前記接続対象引掛部の対の一方に係合することを特徴とする請求項4に記載のリテーナ。
【請求項6】
前記嵌込溝が蟻溝であることを特徴とする請求項3に記載のリテーナ。
【請求項7】
前記凹部の内周面が曲面を形成していることを特徴とする請求項2に記載のリテーナ。
【請求項8】
前記固定部の素材が膨張黒鉛を含む合成樹脂であることを特徴とする請求項1に記載のリテーナ。
【請求項9】
継手本体と、
管の前記継手本体内への進入に伴って前記継手本体内へ収容され、前記管が貫通する貫通空間を取囲み、かつ、前記管が前記貫通空間を貫通すると前記管が前記貫通空間から後退し抜けることを防止するリテーナと、
前記リテーナが前記継手本体内へ収容されると前記リテーナが前記継手本体から後退し抜けることを防止する押輪とを備え、
前記継手本体が、
前記管および前記リテーナの進入口と、
前記進入口を介して前記継手本体の外に連通する前記管および前記リテーナの進入路とを有している管用継手であって、
前記リテーナが、
前記管が前記貫通空間を貫通すると前記管の外周面にそれぞれ引っ掛かる複数の引掛部と、
前記複数の引掛部が固定される固定部とを有しており、
前記固定部が、
前記複数の引掛部のいずれかにそれぞれ接続される複数の接続部と、
前記複数の接続部のうち隣接する前記接続部の対のいずれかである隣接接続部の対の間において前記隣接接続部の対を連結する易捻連結部とを有しており、
隣接する前記複数の接続部の対の間のうち前記易捻連結部により連結される前記隣接接続部の対の間とは異なる一箇所である分離箇所にて前記固定部が前記固定部の中心軸方向の一端から他端にわたって分離しており、
前記分離箇所における前記固定部の中心軸方向についての動きを可能とするねじれについての前記易捻連結部の弾性変形が前記ねじれについての前記隣接接続部の対の弾性変形に比べて容易なことを特徴とする管用継手。
発明の詳細な説明
【技術分野】
【0001】
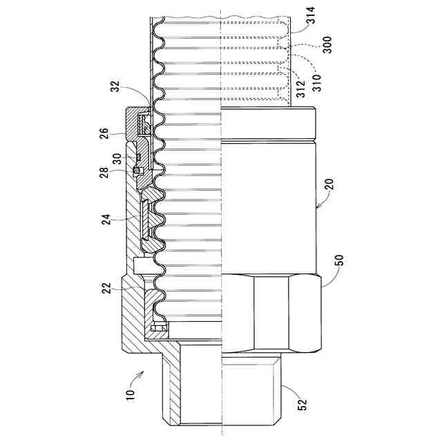
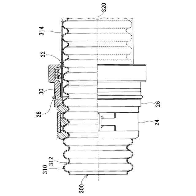
本発明はリテーナおよび管用継手に関する。
続きを表示(約 2,000 文字)
【背景技術】
【0002】
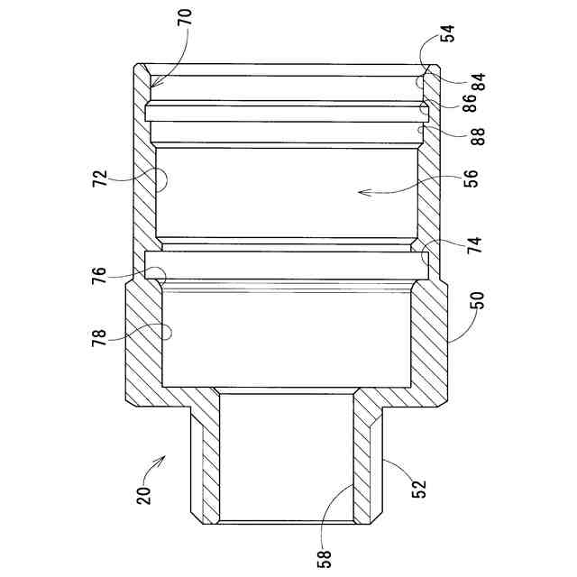
特許文献1はフレキシブル管用継手を開示する。このフレキシブル管用継手は、継手本体、リテーナ、および、押輪を備える。リテーナは継手本体内に収容される。押輪は継手本体内に進入する。継手本体がフレキシブル管の進入口とフレキシブル管の進入路とを有する。進入路にリテーナが配置される。進入路は進入口を介して継手本体の外に連通する。リテーナが、フレキシブル管が貫通する貫通空間を取囲む。リテーナが、フレキシブル管が貫通空間を貫通するとフレキシブル管が貫通空間から後退し抜けることを防止する。押輪が、リテーナがフレキシブル管ごと継手本体内から抜け落ちることを防止する。リテーナが、複数の引掛部と、固定部とを有する。引掛部は、フレキシブル管の外周面にそれぞれ引っ掛かる。固定部は、複数の引掛部が固定される。
【0003】
特許文献1に開示されたフレキシブル管用継手は、狭い場所に設けられているフレキシブル管へ容易に接続できる。
【先行技術文献】
【特許文献】
【0004】
国際公開第2013/132585号パンフレット
【発明の概要】
【発明が解決しようとする課題】
【0005】
特許文献1に開示されたフレキシブル管用継手には、リテーナにおける許容可能な管の動きが小さいという問題点がある。
【0006】
本発明は、この問題点を解消するためになされたものである。その目的は、許容可能な管の動きがより大きなリテーナおよび管用継手を提供することにある。
【課題を解決するための手段】
【0007】
図面に基づいて本発明のリテーナおよび管用継手が説明される。なおこの欄で図中の符号を使用したのは発明の内容の理解を助けるためである。この欄で図中の符号を使用することには発明の内容を図示した範囲に限定する意図がない。
【0008】
上述した目的を達成するために、本発明のある局面に従うと、リテーナ24は、管300が貫通する貫通空間116を取囲む。リテーナ24は、管300が貫通空間116を貫通すると管300が貫通空間116から後退し抜けることを防止する。リテーナ24は、複数の引掛部94,96と、固定部98とを有している。複数の引掛部94,96は、管300が貫通空間116を貫通すると管300の外周面にそれぞれ引っ掛かる。固定部98には複数の引掛部94,96が固定される。固定部98が、複数の接続部120,122と、易捻連結部124とを有している。複数の接続部120,122は、複数の引掛部94,96のいずれかにそれぞれ接続される。易捻連結部124は、隣接接続部120,122の対の間において隣接接続部120,122の対を連結する。隣接接続部120,122の対は、複数の接続部120,122のうち隣接する接続部120,122のいずれかである。分離箇所126にて固定部98がその中心軸256方向の一端から他端にわたって分離している。分離箇所126は、隣接する接続部120,122の対の間のうち易捻連結部124により連結される隣接接続部120,122の間とは異なる一箇所である。分離箇所126における固定部98の中心軸256方向についての動きを可能とするねじれについての易捻連結部124の弾性変形がそのねじれについての隣接接続部120,122の対の弾性変形に比べて容易である。
【0009】
管300が貫通空間116から抜けようとする際、管300の外周面にそれぞれ引っ掛かる複数の引掛部94,96は、力を受けることとなる。その力の一部は複数の引掛部94,96および隣接接続部120,122の対を介して易捻連結部124に伝わる。次に述べられるねじれについての易捻連結部124の弾性変形がそのねじれについての隣接接続部120,122の対の弾性変形に比べて容易である。そのねじれは、分離箇所126における固定部98の中心軸256方向についての動きを可能とするものである。これにより、その易捻連結部124の弾性変形が容易でない場合に比べて、隣接接続部120,122がその弾性変形に伴って受ける反力は小さくなる。隣接接続部120,122が受けるその反力が小さくなると、それら隣接接続部120,122を介して複数の引掛部94,96が受ける反力も小さくなる。その反力が小さくなる分、許容可能な管300の動きがより大きくなる。その結果、許容可能な管300の動きがより大きなリテーナ24が提供されることとなる。
【0010】
また、上述された易捻連結部124における固定部98の中心軸256方向についての両端のうち少なくとも一方に凹部128,128が設けられていることが望ましい。
(【0011】以降は省略されています)
この特許をJ-PlatPat(特許庁公式サイト)で参照する
関連特許
大阪瓦斯株式会社
牽引装置
4か月前
大阪瓦斯株式会社
蓄電装置
29日前
大阪瓦斯株式会社
牽引装置
4か月前
大阪瓦斯株式会社
給湯装置
2日前
大阪瓦斯株式会社
ガスコンロ
2日前
大阪瓦斯株式会社
衣類乾燥機
1か月前
大阪瓦斯株式会社
加熱調理器
1か月前
大阪瓦斯株式会社
衣類乾燥機
1か月前
大阪瓦斯株式会社
衣類乾燥機
1か月前
大阪瓦斯株式会社
異常診断装置
13日前
大阪瓦斯株式会社
異常診断装置
13日前
大阪瓦斯株式会社
異常診断装置
13日前
大阪瓦斯株式会社
異常診断装置
13日前
大阪瓦斯株式会社
蓄電制御装置
6日前
大阪瓦斯株式会社
異常診断装置
13日前
大阪瓦斯株式会社
通信システム
2か月前
大阪瓦斯株式会社
異常診断装置
13日前
大阪瓦斯株式会社
異常診断装置
13日前
大阪瓦斯株式会社
燃料電池装置
12日前
大阪瓦斯株式会社
地中給電設備
12日前
大阪瓦斯株式会社
鮮度維持装置
12日前
大阪瓦斯株式会社
住宅設備機器
1か月前
大阪瓦斯株式会社
異常診断装置
13日前
大阪瓦斯株式会社
異常診断装置
13日前
大阪瓦斯株式会社
切欠開裂治具
4か月前
大阪瓦斯株式会社
蓄電池管理装置
6日前
大阪瓦斯株式会社
熱供給システム
2日前
大阪瓦斯株式会社
放射冷却式装置
3か月前
大阪瓦斯株式会社
燃料電池システム
2日前
大阪瓦斯株式会社
燃料電池システム
2日前
大阪瓦斯株式会社
燃料電池システム
1か月前
大阪瓦斯株式会社
燃料電池システム
今日
大阪瓦斯株式会社
燃料電池システム
今日
大阪瓦斯株式会社
燃料電池システム
今日
大阪瓦斯株式会社
樹脂積層フィルム
23日前
大阪瓦斯株式会社
燃料電池システム
今日
続きを見る
他の特許を見る