TOP
|
特許
|
意匠
|
商標
特許ウォッチ
Twitter
他の特許を見る
10個以上の画像は省略されています。
公開番号
2025140085
公報種別
公開特許公報(A)
公開日
2025-09-29
出願番号
2024039258
出願日
2024-03-13
発明の名称
蓄電装置、車両
出願人
トヨタ自動車株式会社
,
トヨタバッテリー株式会社
代理人
弁理士法人深見特許事務所
主分類
H01M
50/211 20210101AFI20250919BHJP(基本的電気素子)
要約
【課題】複数のセル連結体を備える蓄電装置のリサイクル性を向上させる。
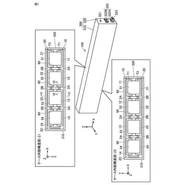
【解決手段】蓄電装置(電池100)が、電気的に接続された第1セル連結体(セル連結体10)および第2セル連結体(セル連結体20)を備える。第1セル連結体は、複数の第1蓄電セル(蓄電セル11~14)と、第1蓄電セル同士を電気的に接続する第1接続部(接続部2A)とを含む。第2セル連結体は、複数の第2蓄電セル(蓄電セル21~24)と、第2蓄電セル同士を電気的に接続する第2接続部(接続部2B)とを含む。複数の第1蓄電セルの少なくとも1つは、複数の第2蓄電セルのいずれかと第1方向に対向するように配置されている。蓄電装置は、対向する第1蓄電セルおよび第2蓄電セルの間に、それら第1蓄電セルおよび第2蓄電セルを保持する保持部材51~54をさらに備える。
【選択図】図1
特許請求の範囲
【請求項1】
蓄電装置であって、
当該蓄電装置は、電気的に接続された第1セル連結体および第2セル連結体を備え、
前記第1セル連結体は、複数の第1蓄電セルと、前記第1蓄電セル同士を電気的に接続する第1接続部とを含み、
前記第2セル連結体は、複数の第2蓄電セルと、前記第2蓄電セル同士を電気的に接続する第2接続部とを含み、
前記複数の第1蓄電セルの少なくとも1つは、前記複数の第2蓄電セルのいずれかと第1方向に対向するように配置され、
当該蓄電装置は、前記対向する第1蓄電セルおよび第2蓄電セルの間に、それら第1蓄電セルおよび第2蓄電セルを保持する保持部材をさらに備える、蓄電装置。
続きを表示(約 1,000 文字)
【請求項2】
前記保持部材は、
前記第1蓄電セルと前記第2蓄電セルとの間に位置する本体部と、
前記本体部から前記第1蓄電セル側に延びて前記第1蓄電セルを保持する第1セル保持部と、
前記本体部から前記第2蓄電セル側に延びて前記第2蓄電セルを保持する第2セル保持部と、
を有する、請求項1に記載の蓄電装置。
【請求項3】
前記本体部は、前記第1方向と直交する第2方向において前記第1蓄電セルと前記第2蓄電セルとの間に位置し、
前記第1セル保持部は、前記第1方向および前記第2方向の両方に直交する第3方向に前記第1蓄電セルを挟持し、
前記第2セル保持部は、前記第3方向に前記第2蓄電セルを挟持する、請求項2に記載の蓄電装置。
【請求項4】
前記第1セル連結体および前記第2セル連結体は、前記第1方向と直交する第2方向に並び、
前記保持部材は、前記第2方向に直交する断面として、X字状の断面を有する、請求項1に記載の蓄電装置。
【請求項5】
前記保持部材は、前記第1蓄電セルを保持する第1樹脂部材と、前記第2蓄電セルを保持する第2樹脂部材と、前記第1樹脂部材と前記第2樹脂部材との間に位置する金属板とを有する、請求項1に記載の蓄電装置。
【請求項6】
当該蓄電装置は、煙を検知する回路基板をさらに備え、
前記保持部材には、前記対向する第1蓄電セルおよび第2蓄電セルの少なくとも一方から排出される煙を前記回路基板へ導く流路が設けられている、請求項1に記載の蓄電装置。
【請求項7】
当該蓄電装置は、
煙を検知する回路基板と、
前記第1セル連結体において隣り合う蓄電セルの間、および/または、前記第2セル連結体において隣り合う蓄電セルの間に位置するスペーサと、
をさらに備え、
前記スペーサには、前記隣り合う蓄電セルの少なくとも一方から排出される煙を前記回路基板へ導く流路が設けられている、請求項1に記載の蓄電装置。
【請求項8】
前記複数の第1蓄電セルの各々が、前記複数の第2蓄電セルのいずれかと前記第1方向に対向するように配置され、
前記対向する第1蓄電セルおよび第2蓄電セルの組合せごとに、前記保持部材が設けられている、請求項1に記載の蓄電装置。
【請求項9】
請求項1~8のいずれか1項に記載の蓄電装置を備える、車両。
発明の詳細な説明
【技術分野】
【0001】
本開示は、蓄電装置、および蓄電装置を備える車両に関する。
続きを表示(約 1,600 文字)
【背景技術】
【0002】
特表2023-502457号公報(特許文献1)には、長さLが400mm~2500mmであり、かつ、幅Hに対する長さLの比率(L/H)が4~21である直方体状の電池(蓄電装置)が開示されている。
【先行技術文献】
【特許文献】
【0003】
特表2023-502457号公報
【発明の概要】
【発明が解決しようとする課題】
【0004】
特許文献1に記載された蓄電装置では、直列に接続されて一列に並ぶ複数の電極体セット(蓄電セル)がケース(ハウジング)内に配置されている。以下では、複数の蓄電セルが一列に接続された連結体を、「セル連結体」と称する。
【0005】
蓄電装置の体積エネルギー密度を向上させるためには、1つのセル連結体だけでなく、複数のセル連結体をケースに収容させたほうが有利である。しかし、複数のセル連結体がケース内で過度に動くと、それらセル連結体間の接続部や蓄電セル間の接続部などがダメージを受けやすくなる。そこで、接着性の強い接着剤によって各セル連結体をケースの内面に固定することが考えられる。しかし、こうした固定方法が採用された蓄電装置では、使用後に蓄電装置を分解して部品を再利用する場合に、ケースと各セル連結体とが分離しにくくなる。このため、複数のセル連結体を備える蓄電装置については、リサイクル性の点で改良の余地が残されている。
【0006】
本開示は、上記課題を解決するためになされたものであり、その目的は、複数のセル連結体を備える蓄電装置のリサイクル性を向上させることである。
【課題を解決するための手段】
【0007】
本開示の第1観点に係る形態に従うと、以下に示す蓄電装置が提供される。
【0008】
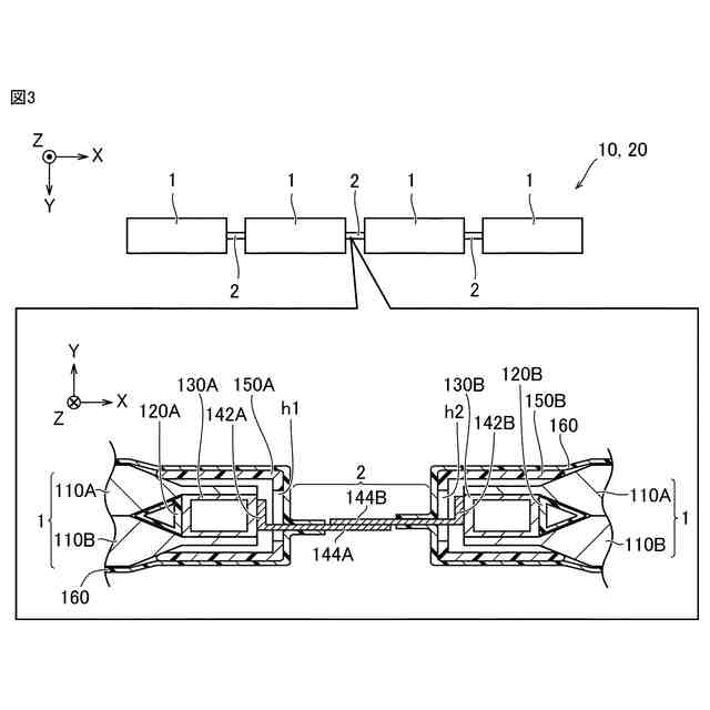
(第1項)蓄電装置が、電気的に接続された第1セル連結体および第2セル連結体を備える。第1セル連結体は、複数の第1蓄電セルと、第1蓄電セル同士を電気的に接続する第1接続部とを含む。第2セル連結体は、複数の第2蓄電セルと、第2蓄電セル同士を電気的に接続する第2接続部とを含む。複数の第1蓄電セルの少なくとも1つは、複数の第2蓄電セルのいずれかと第1方向に対向するように配置されている。蓄電装置は、対向する第1蓄電セルおよび第2蓄電セルの間に、それら第1蓄電セルおよび第2蓄電セルを保持する保持部材をさらに備える。
【0009】
上記構成によれば、第1蓄電セルおよび第2蓄電セルが、保持部材で保持されることによって動きにくくなる。このため、第1セル連結体および第2セル連結体を固定するための接着剤を省くこと、あるいは使用される接着剤の接着強度を弱めることが可能になる。これにより、蓄電装置のリサイクル性が向上する。なお、第1セル連結体および第2セル連結体の各々において、各接続部は導電性部材であってもよい。各接続部は、隣り合う蓄電セルの電極を接続してもよい。第1セル連結体の電極と第2セル連結体の電極とが接続される(例えば、それらの電極が接触する、またはそれらの電極が導電性部材を介して接続される)ことによって、第1セル連結体と第2セル連結体とが電気的に接続されてもよい。第1セル連結体の正極と第2セル連結体の負極とが接続されてもよい。第1セル連結体の正極と第2セル連結体の正極とが接続されてもよい。第1セル連結体と第2セル連結体とは、直列に接続されてもよいし、並列に接続されてもよい。
【0010】
(第2項)第1項に記載の蓄電装置において、保持部材は、第1蓄電セルと第2蓄電セルとの間に位置する本体部と、本体部から第1蓄電セル側に延びて第1蓄電セルを保持する第1セル保持部と、本体部から第2蓄電セル側に延びて第2蓄電セルを保持する第2セル保持部とを有する。
(【0011】以降は省略されています)
この特許をJ-PlatPat(特許庁公式サイト)で参照する
関連特許
トヨタ自動車株式会社
車両
1か月前
トヨタ自動車株式会社
車両
5日前
トヨタ自動車株式会社
車両
1か月前
トヨタ自動車株式会社
装置
29日前
トヨタ自動車株式会社
電池
9日前
トヨタ自動車株式会社
車両
28日前
トヨタ自動車株式会社
車両
1か月前
トヨタ自動車株式会社
車両
9日前
トヨタ自動車株式会社
車両
19日前
トヨタ自動車株式会社
装置
29日前
トヨタ自動車株式会社
車両
5日前
トヨタ自動車株式会社
電池
1日前
トヨタ自動車株式会社
電動車
5日前
トヨタ自動車株式会社
ロータ
7日前
トヨタ自動車株式会社
電動車
19日前
トヨタ自動車株式会社
回転子
5日前
トヨタ自動車株式会社
回転子
20日前
トヨタ自動車株式会社
電動車
7日前
トヨタ自動車株式会社
電動車
1日前
トヨタ自動車株式会社
モータ
20日前
トヨタ自動車株式会社
サーバ
13日前
トヨタ自動車株式会社
電動車
5日前
トヨタ自動車株式会社
電解液
5日前
トヨタ自動車株式会社
電動車
5日前
トヨタ自動車株式会社
加熱装置
19日前
トヨタ自動車株式会社
蓄電装置
6日前
トヨタ自動車株式会社
制御装置
19日前
トヨタ自動車株式会社
制御装置
19日前
トヨタ自動車株式会社
切断装置
5日前
トヨタ自動車株式会社
内燃機関
19日前
トヨタ自動車株式会社
電動車両
19日前
トヨタ自動車株式会社
電動車両
19日前
トヨタ自動車株式会社
冷却装置
19日前
トヨタ自動車株式会社
駆動装置
5日前
トヨタ自動車株式会社
蓄電装置
19日前
トヨタ自動車株式会社
表示装置
21日前
続きを見る
他の特許を見る