TOP
|
特許
|
意匠
|
商標
特許ウォッチ
Twitter
他の特許を見る
10個以上の画像は省略されています。
公開番号
2025138162
公報種別
公開特許公報(A)
公開日
2025-09-25
出願番号
2024037080
出願日
2024-03-11
発明の名称
光源装置
出願人
ウシオ電機株式会社
代理人
弁理士法人ユニアス国際特許事務所
主分類
G03F
7/20 20060101AFI20250917BHJP(写真;映画;光波以外の波を使用する類似技術;電子写真;ホログラフイ)
要約
【課題】フライアイレンズの入射面において急激な変化のない放射照度分布を実現する光源装置を提供する。
【解決手段】
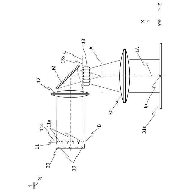
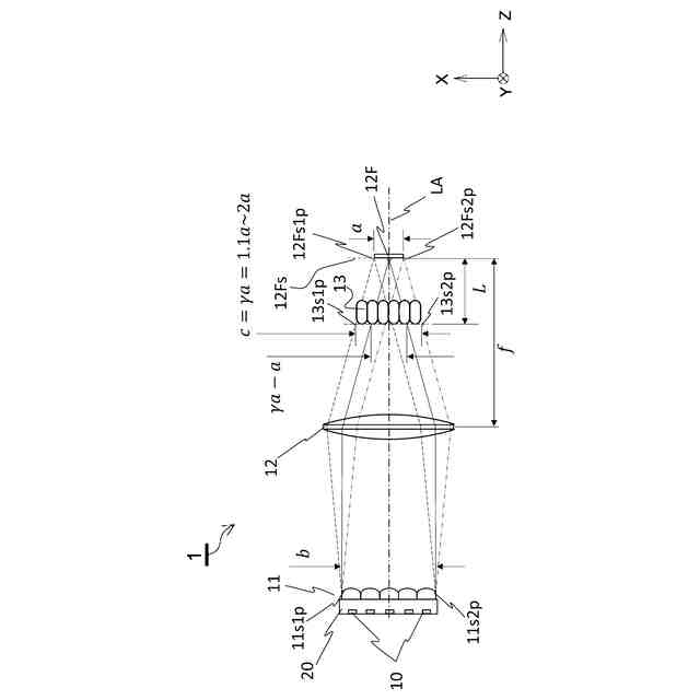
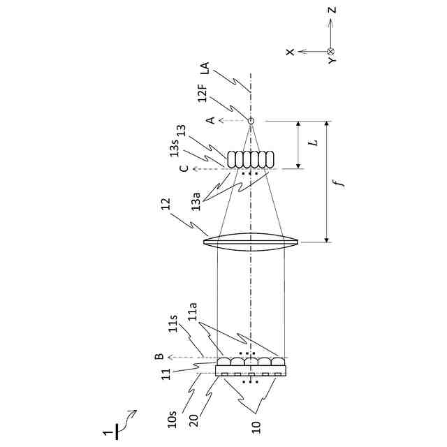
複数の発光素子と、複数の発光素子の後段において複数の発光素子のそれぞれに対応して配置された複数のレンズ領域を含み、レンズ領域のフロントフォーカスからの光をそれぞれコリメートするコリメート光学系と、コリメート光学系から出射された光を集光する集光光学系と、集光光学系から出射された光が入射されるフライアイレンズとを備え、集光光学系の焦点距離をfとし、光軸に直交し、コリメート光学系の最大幅となる幅をbとし、幅bを構成する線分と一致する軸を軸Bとし、集光光学系のバックフォーカス面での発光面の投影像において、軸Bと光学的に等価な関係にある軸上の投影像の幅をaとし、フライアイレンズの入射面と集光光学系のバックフォーカスとの離間距離をLとしたときに、所定の式を満たす。
【選択図】 図5
特許請求の範囲
【請求項1】
複数の発光素子と、
前記複数の発光素子の後段において前記複数の発光素子のそれぞれに対応して配置された複数のレンズ領域を含み、前記レンズ領域のフロントフォーカスからの光をそれぞれコリメートするコリメート光学系と、
前記コリメート光学系から出射された光を集光する集光光学系と、
前記集光光学系から出射された光が入射されるフライアイレンズとを備え、
前記集光光学系の焦点距離をfとし、光軸に直交し、前記コリメート光学系の最大幅となる幅をbとし、前記幅bを構成する線分と一致する軸を軸Bとし、前記集光光学系のバックフォーカス面での発光面の投影像において、前記軸Bと光学的に等価な関係にある軸上の前記投影像の幅をaとし、前記フライアイレンズの入射面と前記集光光学系のバックフォーカスとの離間距離をLとしたときに、下記(1)式を満たすことを特徴とする光源装置。
TIFF
2025138162000006.tif
21
150
続きを表示(約 120 文字)
【請求項2】
前記フライアイレンズの入射面の最小幅をDとしたときに、幅Dが下記(2)式を満たすことを特徴とする請求項1に記載の光源装置。
TIFF
2025138162000007.tif
21
150
発明の詳細な説明
【技術分野】
【0001】
本発明は、光源装置に関し、特に、複数の発光素子を備えた光源装置に関する。
続きを表示(約 1,500 文字)
【背景技術】
【0002】
従来、アレイ状に配置された複数の発光素子からの光をコリメートした後、集光光学系を用いてフライアイインテグレータの光入射面に結像させる光源装置が提案されている(特許文献1参照)。
【先行技術文献】
【特許文献】
【0003】
特許第6651124号公報
【発明の概要】
【発明が解決しようとする課題】
【0004】
特許文献1に記載された技術は、例えば、露光装置用の光源として利用することが可能である。しかしながら、特許文献1に記載された構造では、フライアイインテグレータの入射面に映り込む像として、各LEDの発光面がほぼずれなく重なって投影される。LED発光面が不均一な面内分布である場合、フライアイインテグレータの入射面でも放射照度分布が不均一となってしまう。その結果、フライアイインテグレータを経た後の照射面においても放射照度分布が不均一になる可能性が高くなる。
【0005】
なお本特許において、単位面積に入射する光量を「放射照度」または「照度」、単位面積・単位立体発散角から放射する光量を「放射輝度」または「輝度」と称するものとする。
【0006】
通常、光源として複数の発光素子を配置する場合においては、各発光素子は、同一の寸法及び形状を示すものが使用される。そして、例えば、発光面に配線パターンが形成された複数の発光素子を光源として配置する場合、当該配線パターンは、同一である。さらに、このような場合には、各発光素子の発光面に形成された配線パターンは、発光面に向かって見たときに、同じ向きとなるように配置されることが多い。
【0007】
このような構成が採用される光源装置は、各発光素子の発光面上の配線パターンが非発光領域となるため、LED発光面は不均一な面内分布が形成される。そして、同一の配線パターンで構成された複数の発光素子を用いて、各発光素子から出射された光を、第一光学系及び第二光学系を介して第二光学系のバックフォーカスに配置されたフライアイインテグレータの入射面に投影される。投影面上において発光領域が重なり合った領域と、非発光領域が重なり合った領域とで、放射照度に急激な変化が現れる。
【0008】
フライアイインテグレータは光軸方向に対して直角方向に複数のレンズを備えた構造のフライアイレンズとフライアイレンズの出射側にフロントフォーカスを持つ照射レンズにより構成される。照射レンズのバックフォーカス位置(照射面)ではフライアイレンズの入射側の個々のレンズ面がずれなく重なって投影される。
【0009】
フライアイレンズに光が入射する場合において、入射側の個々のレンズ面内の入射光分布が個々にランダムに異なっていれば照射面において、それらが重なるために、放射照度分布の均一化が期待できる。しかし、入射側の個々のレンズ面内の入射光分布がパターン化されていれば、それらを重ねたとしても、高い確率で照射面は放射照度分布が不均一になってしまう。
【0010】
なお、ここでは、フライアイレンズの入射面に、部分的に非発光領域が形成されることについて、配線パターンの存在に基づく説明をした。しかしながら、上記課題については、発光面に配線パターンが形成されておらず、単に発光素子の発光面においてパターン化された放射輝度のばらつきが存在している複数の発光素子が搭載される場合においても、同様の課題が生じ得るものと考えられる。
(【0011】以降は省略されています)
この特許をJ-PlatPat(特許庁公式サイト)で参照する
関連特許
ウシオ電機株式会社
半導体レーザ素子
8日前
ウシオ電機株式会社
細胞培養デバイス、細胞培養デバイスの使用方法
6日前
個人
表示装置
1日前
株式会社シグマ
絞りユニット
28日前
平和精機工業株式会社
雲台
1か月前
キヤノン株式会社
撮像装置
1か月前
日本精機株式会社
車両用投射装置
7日前
キヤノン株式会社
撮像装置
21日前
キヤノン株式会社
撮像装置
27日前
株式会社リコー
画像形成装置
1か月前
株式会社リコー
画像形成装置
1か月前
株式会社リコー
画像形成装置
17日前
キヤノン株式会社
トナー
8日前
キヤノン株式会社
画像形成装置
2日前
キヤノン株式会社
画像形成装置
1か月前
キヤノン株式会社
トナー
13日前
キヤノン株式会社
トナー
1か月前
株式会社オプトル
プロジェクタ
20日前
キヤノン株式会社
画像形成装置
1か月前
沖電気工業株式会社
画像形成装置
1か月前
キヤノン株式会社
現像装置
6日前
アイホン株式会社
カメラシステム
7日前
スタンレー電気株式会社
照明装置
9日前
株式会社シグマ
絞り機構及びレンズ鏡筒
1か月前
ブラザー工業株式会社
画像形成装置
1か月前
ブラザー工業株式会社
画像形成装置
1か月前
ブラザー工業株式会社
画像形成装置
6日前
株式会社電気印刷研究所
静電印刷用積層体
13日前
株式会社リコー
画像投射装置
1か月前
ブラザー工業株式会社
画像形成装置
1か月前
ブラザー工業株式会社
画像形成装置
6日前
株式会社リコー
画像形成装置
17日前
キヤノン株式会社
画像形成装置
1か月前
株式会社セガ
写真シール作成機
1か月前
キヤノン株式会社
画像形成装置
14日前
ブラザー工業株式会社
定着装置
1か月前
続きを見る
他の特許を見る