TOP
|
特許
|
意匠
|
商標
特許ウォッチ
Twitter
他の特許を見る
公開番号
2025138023
公報種別
公開特許公報(A)
公開日
2025-09-25
出願番号
2024036695
出願日
2024-03-11
発明の名称
海洋水産資源量予測装置、海洋水産資源量予測方法、海洋水産資源量予測プログラム
出願人
古野電気株式会社
代理人
弁理士法人 楓国際特許事務所
主分類
G06Q
50/02 20240101AFI20250917BHJP(計算;計数)
要約
【課題】将来等の現時点と異なる時刻を含み、広範囲の海域における海洋水産資源量を高精度に予測する。
【解決手段】
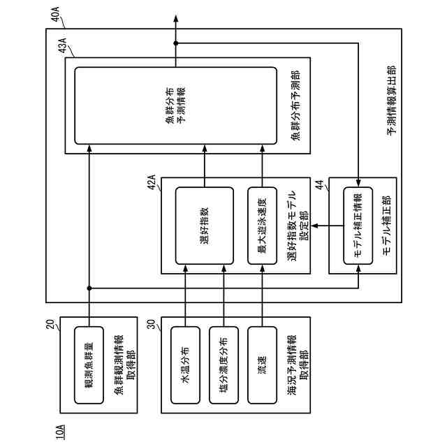
海洋水産資源量予測装置は、所定海域の魚群観測情報を取得する魚群観測情報取得部と、所定海域を含む予測対象海域の海況予測情報を取得する海況予測情報取得部と、魚群観測情報と海況予測情報とに基づいて、予測対象海域の海洋水産資源量予測情報を算出する予測情報算出部と、を備える。
【選択図】 図1
特許請求の範囲
【請求項1】
所定海域の魚群観測情報を取得する魚群観測情報取得部と、
前記所定海域を含む予測対象海域の海況予測情報を取得する海況予測情報取得部と、
前記魚群観測情報と前記海況予測情報とに基づいて、前記予測対象海域の海洋水産資源量予測情報を算出する予測情報算出部と、
を備える、海洋水産資源量予測装置。
続きを表示(約 860 文字)
【請求項2】
請求項1に記載の海洋水産資源量予測装置であって、
前記魚群観測情報は、前記所定海域の魚群分布情報に基づいている、
海洋水産資源量予測装置。
【請求項3】
請求項1に記載の海洋水産資源量予測装置であって、
前記魚群観測情報は、前記所定海域の魚群分布情報と前記所定海域の少なくとも1箇所に設定された魚群観測位置情報に基づいている、
海洋水産資源量予測装置。
【請求項4】
請求項1に記載の海洋水産資源量予測装置であって、
前記海況予測情報は、前記予測対象海域の水温、塩分濃度、および流速の少なくとも1つに基づいている、
海洋水産資源量予測装置。
【請求項5】
請求項4に記載の海洋水産資源量予測装置であって、
前記海況予測情報は、前記予測対象海域の水温、塩分濃度、および流速に基づいている、
海洋水産資源量予測装置。
【請求項6】
請求項1に記載の海洋水産資源量予測装置であって、
前記予測情報算出部は、
前記海洋水産資源量予測情報として、前記予測対象海域の海洋水産資源量、および、海洋水産資源量の時間変化量の少なくとも1つを算出する、
海洋水産資源量予測装置。
【請求項7】
所定海域の魚群観測情報を取得し、
前記所定海域を含む予測対象海域の海況予測情報を取得し、
前記魚群観測情報と前記海況予測情報とに基づいて、前記予測対象海域の海洋水産資源量予測情報を算出する、
海洋水産資源量予測方法。
【請求項8】
所定海域の魚群観測情報を取得し、
前記所定海域を含む予測対象海域の海況予測情報を取得し、
前記魚群観測情報と前記海況予測情報とに基づいて、前記予測対象海域の海洋水産資源量予測情報を算出する、
処理を演算処理装置に実行させる、海洋水産資源量予測プログラム。
発明の詳細な説明
【技術分野】
【0001】
本発明は、魚量等の海洋水産資源量情報を予測する技術に関する。
続きを表示(約 1,000 文字)
【背景技術】
【0002】
従来、漁業者等は、過去に優れた漁獲実績を上げた場所や海況を好漁場の候補として、今回の漁業に利用していた。しかしながら、過去の好漁場が今回の好漁場になるとは限らなかった。具体的に、好漁場とは、魚が当該場所周辺に来遊しており、かつ海況が魚にとって好適な条件である場所と考えられるが、従来の方法では後者しか考慮できていなかった。
【0003】
このため、実際に観測された情報(来遊情報)を提示することが考えられる。ただ、この場合、観測地点しか情報が存在しない・現時点しか情報が存在しないという問題がある。
【0004】
この問題を解決するために、特許文献1、および、非特許文献1に示すように、海洋水産資源を予測するシステムが各種考案されている。
【先行技術文献】
【特許文献】
【0005】
国際公開第2022/230333号
【非特許文献】
【0006】
AI技術を利用したサンマ漁場予測手法の開発、矢吹 崇、JAFIC Technical Review No.1 February 2022
【発明の概要】
【発明が解決しようとする課題】
【0007】
しかしながら、上述の従来の各種方法では、広範囲の海域に対して海洋水産資源量を高精度に予測することはできなかった。また、従来の各種方法では、現時点の海洋水産資源量の予測は可能であるが、将来等の現時点と異なる時刻での海洋水産資源量の予測を行うことはできなかった。
【0008】
したがって、本発明の目的は、将来等の現時点と異なる時刻を含み、広範囲の海域における海洋水産資源量を高精度に予測することにある。
【課題を解決するための手段】
【0009】
この発明の一実施形態に係る海洋水産資源量予測装置は、所定海域の魚群観測情報を取得する魚群観測情報取得部と、所定海域を含む予測対象海域の海況予測情報を取得する海況予測情報取得部と、魚群観測情報と海況予測情報とに基づいて、予測対象海域の海洋水産資源量予測情報を算出する予測情報算出部と、を備える。
【0010】
この構成では、観測して得られる魚群観測情報と、予測される海況予測情報とに基づくことで、海洋水産資源量を高精度に算出できる。
(【0011】以降は省略されています)
この特許をJ-PlatPat(特許庁公式サイト)で参照する
関連特許
古野電気株式会社
装置
10日前
古野電気株式会社
送受波器
今日
古野電気株式会社
監視装置
10日前
古野電気株式会社
電磁波整合装置、電磁波通過装置、及び壁
1か月前
古野電気株式会社
監視装置、レンズ識別方法、及びプログラム
10日前
古野電気株式会社
気象予測装置、気象予測方法および気象予測プログラム
18日前
古野電気株式会社
海図情報表示システム、海図情報表示方法、及びプログラム
10日前
古野電気株式会社
船体制御装置、船体制御システム、船体制御方法、船体制御プログラム
10日前
個人
詐欺保険
13日前
個人
縁伊達ポイン
13日前
個人
RFタグシート
今日
個人
地球保全システム
26日前
個人
QRコードの彩色
17日前
個人
為替ポイント伊達夢貯
1か月前
個人
冷凍食品輸出支援構造
1か月前
個人
表変換編集支援システム
1か月前
個人
農作物用途分配システム
12日前
個人
残土処理システム
19日前
個人
タッチパネル操作指代替具
6日前
個人
知財出願支援AIシステム
1か月前
個人
知的財産出願支援システム
20日前
個人
パスワード管理支援システム
1か月前
個人
AIによる情報の売買の仲介
1か月前
個人
携帯端末障害問合せシステム
5日前
個人
行動時間管理システム
1か月前
個人
スケジュール調整プログラム
5日前
株式会社キーエンス
受発注システム
25日前
個人
海外支援型農作物活用システム
1か月前
株式会社キーエンス
受発注システム
25日前
個人
AIキャラクター制御システム
1か月前
日本精機株式会社
施工管理システム
1か月前
株式会社アジラ
進入判定装置
1か月前
個人
パスポートレス入出国システム
1か月前
個人
システム及びプログラム
1か月前
個人
食品レシピ生成システム
25日前
株式会社キーエンス
受発注システム
25日前
続きを見る
他の特許を見る