TOP
|
特許
|
意匠
|
商標
特許ウォッチ
Twitter
他の特許を見る
10個以上の画像は省略されています。
公開番号
2025137940
公報種別
公開特許公報(A)
公開日
2025-09-25
出願番号
2024036475
出願日
2024-03-11
発明の名称
タンタル酸イットリウム結晶、その製造方法、シンチレータ材料、および、その用途
出願人
国立研究開発法人物質・材料研究機構
,
国立大学法人 奈良先端科学技術大学院大学
代理人
個人
主分類
C30B
29/30 20060101AFI20250917BHJP(結晶成長)
要約
【課題】カドミウム等の有害物質を含まず、タングステン酸カドミウム(CdWO
4
)に匹敵する、もしくはそれを上回るシンチレーション特性を有するタンタル酸イットリウム結晶およびその製造方法を提供する。
【解決手段】本発明の一実施形態に係るタンタル酸イットリウム結晶は、一般式Y(Ta
1-x
Nb
x
)O
4-y
(式中、xおよびyはそれぞれ独立に、0≦x≦1、0≦y≦0.5を満たす。)で表され、透過スペクトルにおいて、380nmから780nmの波長範囲の透過率が70%以上であることを特徴とする。
【選択図】なし
特許請求の範囲
【請求項1】
一般式Y(Ta
1-x
Nb
x
)O
4-y
(式中、xおよびyはそれぞれ独立に、0≦x≦1、0≦y≦0.5を満たす。)で表され、透過スペクトルにおいて、波長380nm以上780nm以下の範囲の透過率が70%以上である、タンタル酸イットリウム結晶。
続きを表示(約 1,600 文字)
【請求項2】
I12/a1空間群に属する結晶構造を有し、結晶相が単斜晶の単相である、請求項1に記載の結晶。
【請求項3】
X線源装置を用いるX線耐性試験において、電圧45kV、電流300mAの条件で発生させたX線に少なくとも60分間以上曝露した試料が、該X線の照射前と実質的に同等の発光を示し、かつ、X線照射痕を有しない、請求項1または2に記載の結晶。
【請求項4】
イットリウム(Y)を含有する原料、タンタル(Ta)を含有する原料、および必要に応じてニオブ(Nb)を含有する原料を用いて原料棒を作製するステップと、
前記作製するステップで得られた原料棒を、上方から鉛直方向に延びる第一の支持駆動軸の下端に固定し、該第一の支持駆動軸に対向して下方から鉛直方向に延びる第二の支持駆動軸の上端に種結晶棒を固定し、該原料棒および該種結晶棒の一部を加熱し、該原料棒と該種結晶棒との間に溶融帯を形成させ、該溶融帯を連続移動して結晶を得るステップと
を包含し、
前記結晶を得るステップは、不活性ガス下で行われ、
前記原料棒を作製するステップにおいて、YとTaとNbとは、原子数比で、関係Y:Ta:Nb=1:1-x:x(ただし、0≦x≦1)を満たす、
請求項1~3のいずれかに記載のタンタル酸イットリウム結晶を製造する方法。
【請求項5】
イットリウム(Y)を含有する原料、タンタル(Ta)を含有する原料、および必要に応じてニオブ(Nb)を含有する原料を溶融するステップと、
前記溶融するステップで得られた融液の液面に種結晶を接触し、該融液を連続的に引き下げて該接触部を結晶化させるステップと
を包含し、
前記結晶化させるステップは、不活性ガス下で行われ、
前記溶融するステップにおいて、YとTaとNbとは、原子数比で、関係Y:Ta:Nb=1:1-x:x(ただし、0≦x≦1)を満たす、
請求項1~3のいずれかに記載のタンタル酸イットリウム結晶を製造する方法。
【請求項6】
イットリウム(Y)を含有する原料、タンタル(Ta)を含有する原料、および必要に応じてニオブ(Nb)を含有する原料を溶融するステップと、
前記溶融するステップで得られた融液の液面に種結晶を接触し、該接触部を固化させ、該種結晶を引き上げて結晶化させるステップと
を包含し、
前記溶融するステップおよび前記結晶化させるステップは、不活性ガス下で行われ、
前記溶融するステップにおいて、YとTaとNbとは、原子数比で、関係Y:Ta:Nb=1:1-x:x(ただし、0≦x≦1)を満たす、
請求項1~3のいずれかに記載のタンタル酸イットリウム結晶を製造する方法。
【請求項7】
得られた結晶を熱処理するステップをさらに包含する、請求項4~6のいずれかに記載のタンタル酸イットリウム結晶を製造する方法。
【請求項8】
前記熱処理するステップは、得られた結晶を、不活性ガス雰囲気または大気雰囲気で、100℃以上であってかつ目的のタンタル酸イットリウム結晶の融点以下の温度範囲で、0.5時間以上150時間以下の条件で、熱処理する、請求項7に記載のタンタル酸イットリウム結晶を製造する方法。
【請求項9】
請求項1~3のいずれかに記載のタンタル酸イットリウム結晶からなるシンチレータ材料。
【請求項10】
請求項9に記載のシンチレータ材料と、
前記シンチレータ材料からの光を検出し、電気信号に変換する光電変換器と
を備える、放射線検出器。
(【請求項11】以降は省略されています)
発明の詳細な説明
【技術分野】
【0001】
本発明は、タンタル酸イットリウム結晶、その製造方法、シンチレータ材料、および、その用途に関する。
続きを表示(約 3,100 文字)
【背景技術】
【0002】
放射線検査装置は、非破壊検査用の検査装置、医療用の診断装置など、様々な分野および態様で使用されている。例示的な態様としては、被験体に放射線(X線、中性子線等)を照射し、透過した放射線を放射線検出器で検出する態様や、被験体の内部に予め放射線源(放射性物質)を配置し、その放射線源から発生して被験体を透過した放射線(γ線等)を放射線検出器で検出する態様などが挙げられる。
【0003】
放射線検出器は、一般に、放射線を光に変換するシンチレータ材料(単にシンチレータとも呼ばれる。)と、シンチレータ材料から放出された光を検出し、電気信号に変換する光電変換器とを備える。
【0004】
従来、X線検出器に用いられるシンチレータ材料としては、タングステン酸カドミウム(CdWO
4
)、タリウム添加ヨウ化セシウム(Tl:CsI)等の単結晶や、テルビウム添加ガドリニウムオキシ硫化物(Tb:Gd
2
O
2
S)、プラセオジム添加ガドリニウムオキシ硫化物(Pr:Gd
2
O
2
S)等の多結晶セラミックスが知られている。
【0005】
中でも、空港等での手荷物・貨物検査用のX線検出器のシンチレータ材料には、CdWO
4
が多用されている。CdWO
4
の単結晶は、発光量が高く、残光度が低いなど、実用的なシンチレーション特性を有し、比較的低コストで製造することができる。しかしながら、カドミウムは有害物質であるため、CdWO
4
の単結晶は環境を悪化させるおそれがある。
【0006】
近年、カドミウム等の有害物質(有害元素)を含まないシンチレータ材料として、タンタル酸イットリウム(YTaO
4
)、および、ニオブ(Nb)を含有するYTaO
4
に関する研究報告がある(非特許文献1~5)。非特許文献1には、垂直結晶化法(vertical directed crystallization)によって真空中で作製されたYTaO
4
の単結晶のシンチレーション特性について記載されているが、NaI(Tl)を標準試料としたシンチレーション効率(%)の分析値は、CdWO
4
(40%)の半分(20%)にとどまっている。非特許文献2~5には、固相法によって作製されたYTaO
4
およびNb含有YTaO
4
のセラミックスが記載されており、CdWO
4
よりも高い発光量が得られたとされているものがある。しかしながら、非特許文献2~5に記載されたセラミックス材料は非透明性であるため、薄板状での用途に限定され、低エネルギーX線を用いるX線検出器のシンチレータ材料として使用できるのみである。また、セラミックスのシンチレータ材料は、高エネルギーX線に曝されると、性能の劣化が生じる。加えて、セラミックスは多結晶体であるため、製造時に不可避的に生じる結晶粒界や結晶欠陥に起因して、シンチレーション特性が低下することが懸念される。
【先行技術文献】
【非特許文献】
【0007】
L. I. Kazakova, et al., Radiation Measurements, 1995, 24, 359-360.
C. W. E Eijk, et al., Physics in Medicine and Biology, 2002, 47, R85-R106.
O.V. Voloshyna, et al., Materials Science and Engineering B, 2013, 178, 1491-1496.
E. Bourret, et al., Journal of Luminescence, 2018, 202, 332-338.
O.V. Voloshyna, et al., Nuclear Instruments and Methods in Physics Research A, 2014, 764, 227-231.
【発明の概要】
【発明が解決しようとする課題】
【0008】
本発明は、このような事情に鑑みてなされたものであり、カドミウム等の有害物質を含まず、CdWO
4
に匹敵する、もしくはそれを上回るシンチレーション特性を有するタンタル酸イットリウム結晶を提供することを目的とする。
また、本発明は、上述のタンタル酸イットリウム結晶を製造する方法を提供することを目的とする。
また、本発明は、上述のタンタル酸イットリウム結晶を用いたシンチレータ材料、および、その用途を提供することを目的とする。
【課題を解決するための手段】
【0009】
本発明によるタンタル酸イットリウム結晶は、一般式Y(Ta
1-x
Nb
x
)O
4-y
(式中、xおよびyはそれぞれ独立に、0≦x≦1、0≦y≦0.5を満たす。)で表され、透過スペクトルにおいて、波長380nm以上780nm以下の範囲の透過率が70%以上であり、これにより上記課題を解決する。
本発明のタンタル酸イットリウム結晶は、上記一般式におけるxは、条件0<x≦1を満たしてもよい。
本発明のタンタル酸イットリウム結晶は、I12/a1空間群に属する結晶構造を有してもよく、結晶相が単斜晶の単相であってもよい。
本発明のタンタル酸イットリウム結晶は、X線源装置を用いるX線耐性試験において、電圧45kV、電流300mAの条件で発生させたX線に少なくとも60分間以上曝露した試料が、該X線の照射前と実質的に同等の発光を示してもよく、かつ、X線照射痕を有しなくてもよい。
【0010】
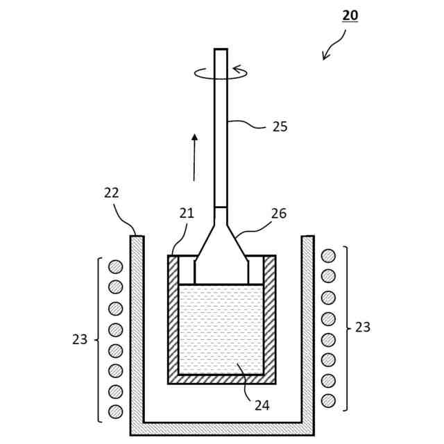
本発明による上述のタンタル酸イットリウム結晶の製造方法は、イットリウム(Y)を含有する原料、タンタル(Ta)を含有する原料、および必要に応じてニオブ(Nb)を含有する原料を用いて原料棒を作製するステップと、前記作製するステップで得られた原料棒を、上方から鉛直方向に延びる第一の支持駆動軸の下端に固定し、該第一の支持駆動軸に対向して下方から鉛直方向に延びる第二の支持駆動軸の上端に種結晶棒を固定し、該原料棒および該種結晶棒の一部を加熱し、該原料棒と該種結晶棒との間に溶融帯を形成させ、該溶融帯を連続移動して結晶を得るステップとを包含し、前記結晶を得るステップは、不活性ガス下で行われ、前記原料棒を作製するステップにおいて、YとTaとNbとは、原子数比で、関係Y:Ta:Nb=1:1-x:x(ただし、0≦x≦1)を満たし、これにより上記課題を解決する。
ここで、上記の製造方法は、得られた結晶を熱処理するステップをさらに包含してもよい。
上記熱処理するステップは、得られた結晶を、不活性ガス雰囲気または大気雰囲気で、100℃以上であってかつ目的のタンタル酸イットリウム結晶の融点以下の温度範囲で、0.5時間以上150時間以下の条件で、熱処理することであってもよい。
(【0011】以降は省略されています)
特許ウォッチbot のツイートを見る
この特許をJ-PlatPat(特許庁公式サイト)で参照する
関連特許
SECカーボン株式会社
坩堝
7か月前
SECカーボン株式会社
結晶成長装置
6か月前
株式会社CUSIC
SiC積層体の製造方法
5か月前
住友金属鉱山株式会社
結晶育成装置
3か月前
アムジエン・インコーポレーテツド
SLC30A8発現を阻害するためのRNAiコンストラクト及びその使用方法
1か月前
学校法人 東洋大学
マルチカラー結晶の結晶成長方法
6か月前
株式会社FLOSFIA
構造体および構造体の製造方法
2か月前
株式会社SUMCO
単結晶の製造方法
4か月前
富士電機株式会社
半導体装置及びその製造方法
1日前
信越化学工業株式会社
炭化金属被覆材料
5か月前
コマディール・エス アー
サファイア棒状体の製造方法
6か月前
セイコーエプソン株式会社
人工水晶製造装置
2か月前
株式会社C&A
処理装置および方法
5か月前
信越半導体株式会社
半導体ウェーハの製造方法
25日前
株式会社レゾナック
SiCエピタキシャルウェハ
6か月前
日本碍子株式会社
AlN単結晶基板及びデバイス
1か月前
住友金属鉱山株式会社
圧電性酸化物単結晶基板の製造方法
5か月前
住友金属鉱山株式会社
圧電性酸化物単結晶基板の製造方法
6か月前
信越半導体株式会社
3C-SiC膜の結晶性評価方法
7か月前
住友金属鉱山株式会社
単結晶の育成方法及びその装置
1か月前
信越半導体株式会社
3C-SiC単結晶基板の評価方法
3か月前
住友化学株式会社
窒化物積層体の製造方法および窒化物積層体
3か月前
住友電気工業株式会社
炭化珪素基板の製造方法
3か月前
住友電気工業株式会社
炭化珪素基板の製造方法
3か月前
旭化成株式会社
結晶の製造方法、六方晶系半導体結晶及び素子
6か月前
グローバルウェーハズ・ジャパン株式会社
半導体基板の製造方法
5か月前
サイクリスタル ゲーエムベーハー
バルクSiC結晶の製造方法
1か月前
株式会社Kanazawa Diamond
ダイヤモンド
6か月前
株式会社SUMCO
単結晶シリコンインゴットの製造方法
4か月前
三菱マテリアル電子化成株式会社
シリコンインゴット
1か月前
信越半導体株式会社
ヘテロエピタキシャルウェーハの製造方法
4か月前
住友化学株式会社
窒化物結晶基板、および窒化物結晶基板の製造方法
4か月前
信越半導体株式会社
SiGe基板の作製方法及びSiGe基板
17日前
株式会社豊田中央研究所
種結晶基板および種結晶基板付黒鉛サセプタ
7か月前
住友化学株式会社
窒化物結晶基板の製造方法、および窒化物結晶基板
6か月前
学校法人 名城大学
結晶成長用基板の作製方法
3か月前
続きを見る
他の特許を見る