TOP
|
特許
|
意匠
|
商標
特許ウォッチ
Twitter
他の特許を見る
公開番号
2025136900
公報種別
公開特許公報(A)
公開日
2025-09-19
出願番号
2024035829
出願日
2024-03-08
発明の名称
研磨パッドの取り付け治具および研磨パッドの取り付け方法
出願人
富士紡ホールディングス株式会社
代理人
個人
,
個人
主分類
B24B
37/12 20120101AFI20250911BHJP(研削;研磨)
要約
【課題】 研磨パッドと研磨定盤の中心が一致するよう正確に研磨パッドを研磨定盤に取り付ける。
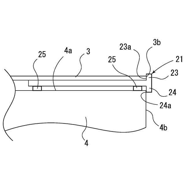
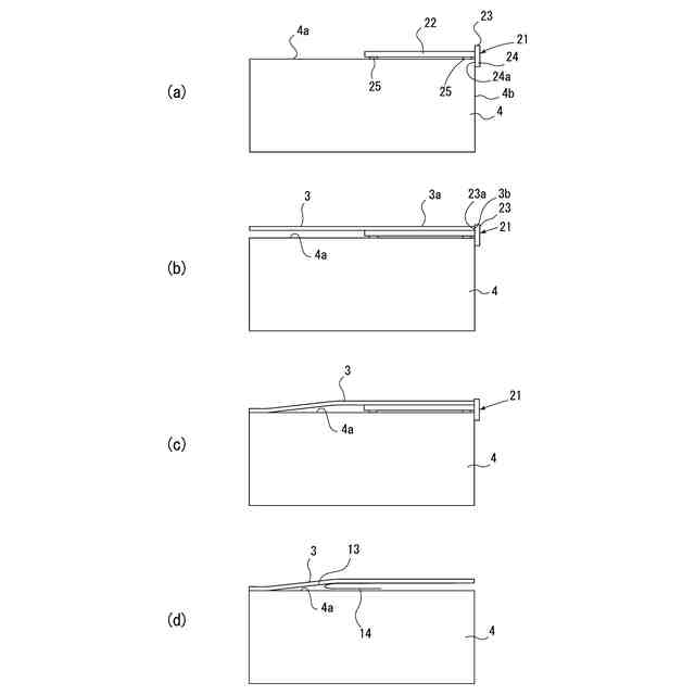
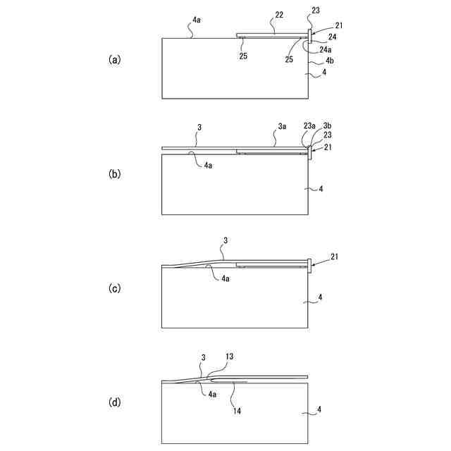
【解決手段】 円形を有した研磨定盤4の取り付け面4aに、取り付け治具21を構成する平板状の挿入部材22を載置し、当該挿入部材22の下面に設けた定盤側係合突起24を研磨定盤4の外周面4bに沿って当接させる(a)。
円盤状を有する研磨パッド3を上記研磨定盤4に載置する際に、当該研磨パッド3と上記研磨定盤4との間に上記挿入部材22を介在させ、さらに当該研磨パッド3の外周縁3bを挿入部材22の上面に設けたパッド側係合突起23に沿って当接させる(b)。
上記研磨パッド3の接着層から一部の剥離紙を除去して、露出した接着層を上記取り付け面4aに接着させたら(c)、取り付け治具21を除去するとともにすべての剥離紙14を除去して、研磨パッド3の接着層全体を上記取り付け面に接着させる(d)。
【選択図】 図5
特許請求の範囲
【請求項1】
上面に円形の取り付け面が形成された円柱状の研磨定盤に、円盤状の研磨パッドを取り付けるための研磨パッドの取り付け治具であって、
上記研磨定盤の取り付け面に載置されて、上記研磨定盤と上記研磨パッドとの間に介在される平板状の挿入部材と、上記挿入部材の下面に設けられて上記研磨定盤の外周面に沿って当接する定盤側係合突起と、上記挿入部材の上面に設けられて上記研磨パッドの外周縁に沿って当接するパッド側係合突起とを備えることを特徴とする研磨パッドの取り付け治具。
続きを表示(約 1,000 文字)
【請求項2】
上記挿入部材は略扇形を有していることを特徴とする請求項1に記載の研磨パッドの取り付け治具。
【請求項3】
上記定盤側係合突起は、内周に上記研磨定盤の外周面と同径の当接面が形成された円弧状の突起であって、上記パッド側係合突起は、内周に上記研磨パッドの外周縁と同径の当接面が形成された円弧状の突起であることを特徴とする請求項1に記載の研磨パッドの取り付け治具。
【請求項4】
上記定盤側係合突起は、上記研磨定盤の外周面に沿って形成した複数の突起によって構成され、上記研磨パッド側係合突起は、上記研磨パッドの外周縁に沿って形成した複数の突起によって構成されることを特徴とする請求項1に記載の研磨パッドの取り付け治具。
【請求項5】
上記挿入部材の下面に、上記研磨定盤との滑りを防止する滑り防止手段を設けたことを特徴とする請求項1に記載の研磨パッドの取り付け治具。
【請求項6】
上面に円形の取り付け面を備えた研磨定盤に、裏面に接着層が形成された円盤状の研磨パッドを取り付ける際に、上記接着層から剥離紙を除去しながら取り付ける研磨定盤への研磨パッドの取り付け方法において、
上記研磨定盤の取り付け面に平板状の挿入部材を載置するとともに、当該挿入部材の下面に設けられた定盤側係合突起を上記研磨定盤の外周面に沿って当接させ、
上記研磨パッドを上記研磨定盤の取り付け面に載置する際に、当該研磨パッドと上記研磨定盤との間に上記挿入部材を介在させるとともに、当該研磨パッドの外周縁を上記挿入部材の上面に設けられたパッド側係合突起に沿って当接させ、
上記研磨パッドの接着層から、上記挿入部材が介在されていない部分の剥離紙を除去するとともに、露出した接着層を上記取り付け面に接着させ、
上記研磨定盤と上記研磨パッドとの間から上記挿入部材を除去するとともに、上記接着層からすべての剥離紙を除去して、上記研磨パッドの接着層全体を上記取り付け面に接着させることを特徴とする研磨パッドの取り付け方法。
【請求項7】
上記研磨定盤の取り付け面に上記平板状の挿入部材を載置する際に、当該挿入部材の下面に設けた滑り防止手段により、上記挿入部材と上記研磨定盤とがずれないように位置決めすることを特徴とする請求項6に記載の研磨パッドの取り付け方法。
発明の詳細な説明
【技術分野】
【0001】
本発明は研磨パッドの取り付け治具および研磨パッドの取り付け方法に関し、詳しくは上面に円形の取り付け面が形成された研磨定盤に、裏面に接着層が形成された円盤状の研磨パッドを取り付けるための取り付け治具および研磨パッドの取り付け方法に関する。
続きを表示(約 3,500 文字)
【背景技術】
【0002】
従来、半導体ウェハなどの被研磨物を研磨するための研磨装置として、上方に設けられて被研磨物を保持する保持定盤と、下方に設けられて研磨パッドを保持する研磨定盤とを備え、保持定盤と研磨定盤とを回転させて、被研磨物と研磨パッドとを摺接させて研磨するものが知られている(特許文献1)。
上記研磨装置で被研磨物を研磨する際には、被研磨物と研磨パッドとの間に化学成分を含んだスラリーを供給して、被研磨物と研磨パッドとの相対運動および、上記スラリーによる化学成分によって化学機械研磨を行っている。
そして、上記研磨パッドは円盤状を有したものが一般的に使用されており、上面に円形の取り付け面が形成された円柱状の研磨定盤に取り付けられるようになっている。上記研磨パッドの裏面には接着層が形成され、接着層から剥離紙を除去してから、接着層を研磨定盤の取り付け面に取り付ける作業を行っている(特許文献2)。
ここで、研磨パッドの研磨面に所定のパターンで溝を形成することにより、被研磨物と研磨パッドとの間でスラリーが供給、および、排出され、所要の研磨精度の向上が期待できることが知られている。
【先行技術文献】
【特許文献】
【0003】
特開2014-8577号公報
特開2004-90106号公報
【発明の概要】
【発明が解決しようとする課題】
【0004】
ここで、出願人による研究の結果、上記研磨面に溝が形成された円盤状の研磨パッドを用いて研磨を行う場合、研磨パッドの中心が研磨定盤の回転中心に一致している場合に、より高い研磨精度が得られることが判明した。
引用文献2においては、位置決め用のマーク等を用いて研磨パッドの位置決めを行っているが、これらの作業は作業者による目視および触覚に頼って行われているため、微小な位置ずれが生じる場合があり、所要の研磨性能が得られないだけでなく、研磨パッドを研磨定盤に取り付けるたびに研磨結果にばらつきが生じる恐れがあった。
このような問題に鑑み、本発明は正確に研磨パッドを研磨定盤に取り付けることにより、研磨パッドの性能を十分に引き出すことが可能な研磨パッドの取り付け治具および研磨パッドの取り付け方法を提供するものである。
【課題を解決するための手段】
【0005】
すなわち請求項1の発明にかかる研磨パッドの取り付け治具は、上面に円形の取り付け面が形成された円柱状の研磨定盤に、円盤状の研磨パッドを取り付けるための研磨パッドの取り付け治具であって、
上記研磨定盤の取り付け面に載置されて、上記研磨定盤と上記研磨パッドとの間に介在される平板状の挿入部材と、上記挿入部材の下面に設けられて上記研磨定盤の外周面に沿って当接する定盤側係合突起と、上記挿入部材の上面に設けられて上記研磨パッドの外周縁に沿って当接するパッド側係合突起とを備えることを特徴としている。
また請求項6の発明にかかる研磨パッドの取り付け方法は、上面に円形の取り付け面を備えた研磨定盤に、裏面に接着層が形成された円盤状の研磨パッドを取り付ける際に、上記接着層から剥離紙を除去しながら取り付ける研磨定盤への研磨パッドの取り付け方法において、
上記研磨定盤の取り付け面に平板状の挿入部材を載置するとともに、当該挿入部材の下面に設けられた定盤側係合突起を上記研磨定盤の外周面に沿って当接させ、
上記研磨パッドを上記研磨定盤の取り付け面に載置する際に、当該研磨パッドと上記研磨定盤との間に上記挿入部材を介在させるとともに、当該研磨パッドの外周縁を上記挿入部材の上面に設けられた上記パッド側係合突起に沿って当接させ、
上記研磨パッドの接着層から、上記挿入部材が介在されていない部分の剥離紙を除去するとともに、露出した接着層を上記取り付け面に接着させ、
上記研磨定盤と上記研磨パッドとの間から上記挿入部材を除去するとともに、上記接着層からすべての剥離紙を除去して、研磨パッドの接着層全体を上記取り付け面に接着させることを特徴としている。
【発明の効果】
【0006】
上記請求項1の発明にかかる研磨パッドの取り付け治具によれば、上記研磨定盤に平板状の挿入部材を載置して、上記定盤側係合突起を研磨定盤の外周面に沿って当接させれば、研磨パッドの外周縁を挿入部材の上面に設けたパッド側係合突起に当接させることにより、目視等による調整を要せずに、正確に研磨パッドの中心を研磨定盤の回転中心に一致させることができる。
また請求項6の発明にかかる研磨パッドの取り付け方法によれば、挿入部材の下面に設けられた定盤側係合突起を研磨定盤の外周面に沿って当接させておけば、研磨パッドの外周縁を挿入部材の上面に設けられたパッド側係合突起に沿って当接させればよく、目視等による調整を要せずに、正確に研磨パッドの中心を研磨定盤の回転中心に一致させることができる。
【図面の簡単な説明】
【0007】
研磨パッドを備えた研磨装置の斜視図
研磨パッドおよび研磨定盤の断面図
本実施形態にかかる取り付け治具の斜視図
取り付け治具を説明する断面図
研磨パッドの取り付け方法を説明する図
第2実施形態にかかる取り付け治具の平面図
【発明を実施するための形態】
【0008】
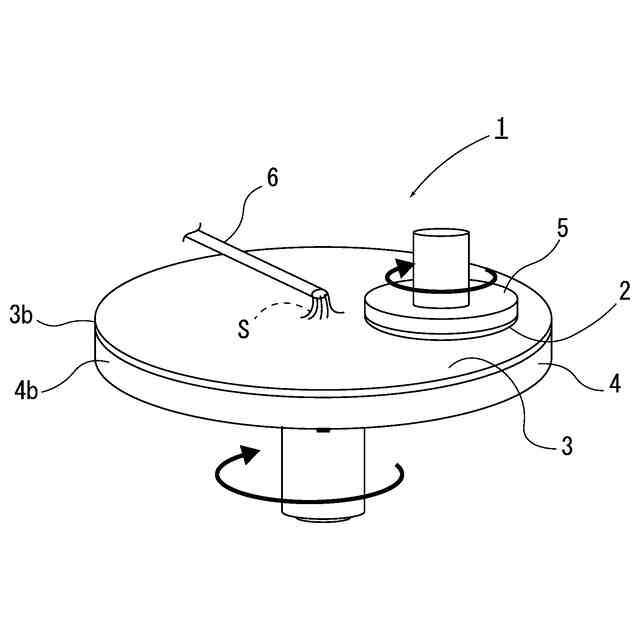
以下、図示実施形態について説明すると、図1は研磨装置1を示し、被研磨物2を研磨パッド3によって研磨するものとなっている。
上記研磨装置1は、下方側に位置して上面に研磨パッド3が取り付けられた研磨定盤4と、上方側に位置して下面に被研磨物2を保持する保持定盤5と、被研磨物2と研磨パッド3との間にスラリーS(研磨液)を供給するスラリー供給手段6とを備えている。
研磨装置1による研磨加工の対象となる被研磨物2は、光学材料、シリコンウェハ、ガラス基板、半導体基板の他、ガラス、金属、セラミック等の板状物となっている。
またスラリー供給手段6が供給するスラリーSとしては、対象となる被研磨物2および求められる研磨精度に応じて従来公知の好適な物を使用することができる。
【0009】
上記研磨定盤4は円柱状を有しており、上面には上記研磨パッド3を取り付けるための平坦な取り付け面4aが形成され、図示しない駆動機構によって回転するようになっている。
また上記保持定盤5も円柱状を有しており、当該保持定盤5の下面には図示しない保持具を介して被研磨物2が保持され、図示しない駆動機構によって回転するとともに、昇降手段によって昇降可能となっている。
このような構成により、被研磨物2の研磨を行う際には、保持定盤5によって被研磨物2を研磨パッド3に設定圧力で押し当て、その状態で研磨定盤4と保持定盤5とを相対的に回転させるとともに、上記スラリー供給手段6がスラリーSを被研磨物2と研磨パッド3との間に供給するようになっている。
【0010】
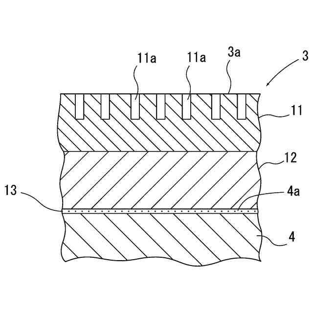
研磨パッド3は円盤状を有しており、その直径は上記研磨定盤4と同径となっている。また図2に示すように、研磨パッド3は、被研磨物2側に研磨面3aが形成された研磨層11と、研磨定盤4側に位置する支持層12(クッション層)とから構成されている。
上記研磨層11と支持層12とは図示しない接着剤や両面テープによって接着されており、また支持層12の下面には上記研磨定盤4に取り付けるための両面テープからなる接着層13が形成されている。
また研磨パッド3の研磨面3aには、研磨パッド3の中心(回転中心)を囲繞するように同心円状の溝11aが半径方向において等ピッチまたはある程度の幅で変動させたピッチで形成されている。
これらの溝11aはスラリーSを供給・排出しており、スラリー供給手段6から吐出されたスラリーSはこれら複数の溝11a内に流入して研磨面3aの全域に供給されるようになっている。
なお、上記研磨面3aに形成される溝としては、同心円状に限らず、格子状、放射状の他、特許文献1に記載されるような様々な態様のものを使用することができる。ただし本実施形態においては、上記溝11aのパターンが研磨パッド3の中心を基準とするものであると、より高い効果を得ることができる。
(【0011】以降は省略されています)
この特許をJ-PlatPat(特許庁公式サイト)で参照する
関連特許
個人
包丁研ぎ器具
2か月前
個人
研磨体
3か月前
個人
バレル研磨用メディア材
6か月前
株式会社サンポー
ブラスト装置
4か月前
株式会社クボタ
管研削装置
2か月前
株式会社村田製作所
切削装置
3か月前
株式会社ディスコ
被加工物の加工方法
14日前
株式会社ニッチュー
ブラスト装置
2か月前
大同特殊鋼株式会社
疵研削順序決定方法
4か月前
不二空機株式会社
可搬型動力工具
3か月前
シンクス株式会社
ボード切断装置
4か月前
株式会社リブラ
ブラスト加工装置
5か月前
キヤノン電子株式会社
加工工具、及び、加工装置
6か月前
オークマ株式会社
円筒研削盤
3か月前
トヨタ自動車株式会社
回転砥石の製造方法
2か月前
トヨタ自動車株式会社
バリ取り装置
6か月前
株式会社ディスコ
砥石
3か月前
秀和工業株式会社
処理装置および処理方法
16日前
株式会社精工技研
研磨装置および研磨方法
5か月前
株式会社ディスコ
加工方法、及び、切削装置
5か月前
株式会社アイドゥス企画
受動変形内面研磨ホイール
1か月前
株式会社東京精密
研削装置
1か月前
日本特殊研砥株式会社
超弾性砥石
5か月前
JFEスチール株式会社
鋼帯のブラシ研削方法
4か月前
Mipox株式会社
研磨部材の製造方法
1か月前
株式会社ディスコ
加工装置
23日前
株式会社ディスコ
研削装置
2か月前
嘉澤端子工業股分有限公司
グラインダー
4か月前
中村留精密工業株式会社
レンズ保持装置
4か月前
Mipox株式会社
研磨部材の製造方法
1か月前
株式会社東京精密
ワーク加工装置
4か月前
Mipox株式会社
研磨部材の製造方法
1か月前
旭化成株式会社
研磨パッド
1か月前
株式会社ディスコ
加工方法
4か月前
株式会社東京精密
ワーク加工装置
4か月前
トヨタ紡織株式会社
プレス金型の研磨方法
5か月前
続きを見る
他の特許を見る