TOP
|
特許
|
意匠
|
商標
特許ウォッチ
Twitter
他の特許を見る
公開番号
2025136426
公報種別
公開特許公報(A)
公開日
2025-09-19
出願番号
2024035002
出願日
2024-03-07
発明の名称
超音波診断装置、超音波診断装置の制御方法、及びプログラム
出願人
コニカミノルタ株式会社
代理人
弁理士法人鷲田国際特許事務所
主分類
A61B
8/14 20060101AFI20250911BHJP(医学または獣医学;衛生学)
要約
【課題】遠隔監視のための補助者及びシステムに依存することなく、超音波診断装置の操作者に手技の誤りを気付かせる。
【解決手段】超音波診断装置は、超音波探触子を用いて被検体を超音波で走査することにより、前記被検体の体内を示す超音波画像を取得する画像取得部と、前記被検体に対する実際の走査方向が正しいか否かを判断する判断部と、前記実際の走査方向が正しくないと判断された場合に、当該判断の結果に対応する情報を報知する報知部と、有する。
【選択図】図3
特許請求の範囲
【請求項1】
超音波探触子を用いて被検体を超音波で走査することにより、前記被検体の体内を示す超音波画像を取得する画像取得部と、
前記被検体に対する実際の走査方向が正しいか否かを判断する判断部と、
前記実際の走査方向が正しくないと判断された場合に、当該判断の結果に基づく情報を報知する報知部と、
を有する超音波診断装置。
続きを表示(約 630 文字)
【請求項2】
前記判断部は、前記超音波画像に写された臓器及び又は血流の向きに基づいて、前記実際の走査方向を判断する、
請求項1に記載の超音波診断装置。
【請求項3】
前記判断部は、前記実際の走査方向を基準の走査方向と比較して、又は、超音波画像に関する学習済みデータを参照して、前記実際の走査方向が正しいか否かを判断する、
請求項1に記載の超音波診断装置。
【請求項4】
前記報知部は、正しい走査方向に対応する前記超音波探触子の向きを指示することにより、前記情報を報知する、
請求項1に記載の超音波診断装置。
【請求項5】
前記報知部は、前記正しい走査方向に対応する前記超音波探触子の向きを前記超音波探触子の細部構成に基づいて指示する、
請求項4に記載の超音波診断装置。
【請求項6】
超音波探触子を用いて被検体を超音波で走査することにより、前記被検体の体内を示す超音波画像を取得する超音波診断装置において実行される、制御方法であって、
前記被検体に対する実際の走査方向が正しいか否かを判断し、
前記実際の走査方向が正しくないと判断された場合に、当該判断の結果に対応する情報を報知する、
超音波診断装置の制御方法。
【請求項7】
請求項6に記載の超音波診断装置の制御方法をコンピューターに実行させるためのプログラム。
発明の詳細な説明
【技術分野】
【0001】
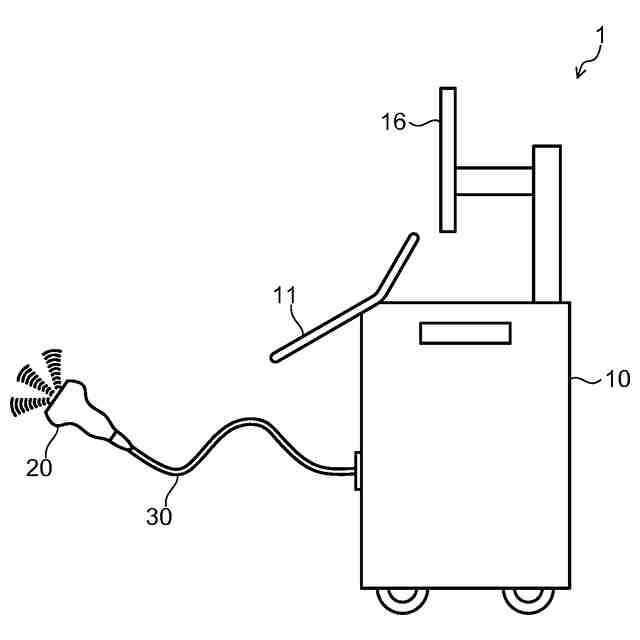
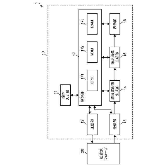
本発明は、超音波診断装置、超音波診断装置の制御方法、及びプログラムに関する。
続きを表示(約 1,700 文字)
【背景技術】
【0002】
超音波探触子(以下「プローブ」ともいう)から被検体へ超音波ビームを送信し、送信ビームが体内の組織及び血流等で反射した超音波エコーをプローブで受信し本体で解析することにより、体内の様子を示す超音波画像を生成する超音波診断装置が知られている。超音波診断装置は、超音波を走査することにより2次元又は3次元の超音波画像をリアルタイムで取得することができる。そして、リアルタイムの超音波画像を時間的に連続して生成し表示することにより、体内をリアルタイムに動画像として観察することができる。
【0003】
医療現場では、超音波診断の手技に関するルール或いは基準(以下、単に「基準」という)が定められる場合がある。基準を定める対象の一例は、超音波画像の左右の方向である。例えば、超音波画像の上下左右いずれの側に被検体の中枢側(心臓側)を位置させ、超音波画像の上下左右いずれの側に被検体の末梢側を位置させるかが、基準として定められる。より具体的には、超音波画像の右側に心臓側を位置させ、超音波画像の左側に末梢側を位置させることが、基準として定められる。
【0004】
例えば特許文献1には、救急車内で操作者(特許文献1では、救急隊員)により実施される超音波走査が正しく実施されるように、遠隔で監視者(特許文献1では、医師)が救急車内部を監視し操作者に対し適宜指示を出す技術が記載されている。遠隔監視は、救急車内に設けられた撮影部によって行われる。また、操作者に対する指示は、光ポイント装置によって行われる。
【先行技術文献】
【特許文献】
【0005】
特開2015-029260号公報
【発明の概要】
【発明が解決しようとする課題】
【0006】
しかしながら、上記特許文献1記載の技術では、操作者による手技を遠隔監視するための監視者が必要不可欠である。そして、手技の監視には撮影部を使用し且つ指示には光ポイント装置を使用する大がかりな遠隔指示支援システムが必要となっている。さらに言えば、特許文献1記載の技術のように撮影部により手技の監視を行う場合においては、撮影部の位置、被検体の体勢、操作者の体勢、及びプローブの位置等の相対位置関係によって、被検体の撮影部位或いはプローブが隠れる虞がある。この場合、監視者にとって必要な監視画像が得られず、監視者は手技の誤りに気付くことができない。そして、適正な指示を監視者から操作者に対して出すことができないので、操作者も手技の誤りに気付くことができない。
【0007】
本発明の目的は、遠隔監視のための補助者及びシステムに依存することなく、操作者に手技の誤りを気付かせることができる超音波診断装置、超音波診断装置の制御方法、及びプログラムを提供することである。
【課題を解決するための手段】
【0008】
本発明に係る超音波診断装置の一態様は、
超音波探触子を用いて被検体を超音波で走査することにより、前記被検体の体内を示す超音波画像を取得する画像取得部と、
前記被検体に対する実際の走査方向が正しいか否かを判断する判断部と、
前記実際の走査方向が正しくないと判断された場合に、当該判断の結果に基づく情報を報知する報知部と、
有する。
【0009】
本発明に係る超音波診断装置の制御方法の一態様は、
超音波探触子を用いて被検体を超音波で走査することにより、前記被検体の体内を示す超音波画像を取得する超音波診断装置において実行される、制御方法であって、
前記被検体に対する実際の走査方向が正しいか否かを判断し、
前記実際の走査方向が正しくないと判断された場合に、当該判断の結果に対応する情報を報知する。
【0010】
本発明に係るプログラムの一態様は、
上記の超音波診断装置の制御方法をコンピューターに実行させるためのプログラムである。
【発明の効果】
(【0011】以降は省略されています)
この特許をJ-PlatPat(特許庁公式サイト)で参照する
関連特許
個人
健康器具
7か月前
個人
鼾防止用具
7か月前
個人
短下肢装具
2か月前
個人
嚥下鍛錬装置
2か月前
個人
脈波測定方法
7か月前
個人
洗井間専家。
6か月前
個人
白内障治療法
6か月前
個人
前腕誘導装置
2か月前
個人
マッサージ機
8か月前
個人
脈波測定方法
7か月前
個人
バッグ式オムツ
3か月前
個人
胸骨圧迫補助具
29日前
個人
汚れ防止シート
5日前
個人
ホバーアイロン
5か月前
個人
アイマスク装置
1か月前
個人
矯正椅子
4か月前
個人
歯の修復用材料
3か月前
三生医薬株式会社
錠剤
6か月前
個人
車椅子持ち上げ器
6か月前
個人
陣痛緩和具
2か月前
個人
湿布連続貼り機。
1か月前
個人
口内洗浄具
7か月前
個人
哺乳瓶冷まし容器
2か月前
個人
シャンプー
5か月前
個人
歯の保護用シール
4か月前
個人
治療用酸化防御装置
23日前
個人
性行為補助具
2か月前
個人
エア誘導コルセット
1か月前
株式会社大野
骨壷
3か月前
個人
服薬支援装置
6か月前
株式会社結心
手袋
7か月前
株式会社八光
剥離吸引管
4か月前
株式会社ニデック
眼科装置
3か月前
個人
形見の製造方法
3か月前
株式会社ニデック
検眼装置
2か月前
株式会社ダリヤ
毛髪化粧料
7か月前
続きを見る
他の特許を見る