TOP
|
特許
|
意匠
|
商標
特許ウォッチ
Twitter
他の特許を見る
10個以上の画像は省略されています。
公開番号
2025135315
公報種別
公開特許公報(A)
公開日
2025-09-18
出願番号
2024033095
出願日
2024-03-05
発明の名称
PCCT装置とその制御方法
出願人
富士フイルム株式会社
代理人
ポレール弁理士法人
主分類
A61B
6/42 20240101AFI20250910BHJP(医学または獣医学;衛生学)
要約
【課題】投影値がより小さい範囲においても投影値の補正精度を向上可能なPCCT装置とその制御方法を提供する。
【解決手段】被検体にX線を照射するX線源と前記被検体を透過したX線を複数のエネルギービン毎に検出する光子計数型検出器を前記被検体の周囲で回転させるスキャナと、前記光子計数型検出器の出力に基づいて算出される投影データを用いて断層画像を生成する画像生成部と、各部を制御する制御部を備えるPCCT装置であって、前記制御部は、前記スキャナの回転中心に重ならないように配置される、材質と形状と大きさが既知であるファントムを回転撮影することによって取得される複数の投影値と前記ファントムの複数の透過長とを用いて、前記被検体の投影値を透過長へ変換する変換式を算出することを特徴とする。
【選択図】図3
特許請求の範囲
【請求項1】
被検体にX線を照射するX線源と前記被検体を透過したX線を複数のエネルギービン毎に検出する光子計数型検出器を前記被検体の周囲で回転させるスキャナと、前記光子計数型検出器の出力に基づいて算出される投影データを用いて断層画像を生成する画像生成部と、各部を制御する制御部を備えるPCCT装置であって、
前記制御部は、前記スキャナの回転中心に重ならないように配置される、材質と形状と大きさが既知であるファントムを回転撮影することによって取得される複数の投影値と前記ファントムの複数の透過長とを用いて、前記被検体の投影値を透過長へ変換する変換式を算出することを特徴とするPCCT装置。
続きを表示(約 810 文字)
【請求項2】
請求項1に記載のPCCT装置であって、
前記ファントムの断面形状は、鋭角な内角を有する多角形であることを特徴とするPCCT装置。
【請求項3】
請求項2に記載のPCCT装置であって、
前記ファントムの鋭角な内角の頂点が前記スキャナの回転中心の近傍に配置されることを特徴とするPCCT装置。
【請求項4】
請求項1に記載のPCCT装置であって、
前記ファントムが天板の上に載置される場合、前記天板を含む投影値は前記変換式の算出に用いられないことを特徴とするPCCT装置。
【請求項5】
請求項1に記載のPCCT装置であって、
前記制御部は、前記ファントムの透過長を求めるのに先立って、前記ファントムの投影データを用いて前記ファントムの位置を算出することを特徴とするPCCT装置。
【請求項6】
請求項1に記載のPCCT装置であって、
前記制御部は、前記ファントムの透過長を求めるのに先立って、前記ファントムの投影データから生成される断層画像を用いて前記ファントムの位置を算出することを特徴とするPCCT装置。
【請求項7】
被検体にX線を照射するX線源と前記被検体を透過したX線を複数のエネルギービン毎に検出する光子計数型検出器を前記被検体の周囲で回転させるスキャナと、前記光子計数型検出器の出力に基づいて算出される投影データを用いて断層画像を生成する画像生成部を備えるPCCT装置の制御方法であって、
前記スキャナの回転中心に重ならないように配置される、材質と形状と大きさが既知であるファントムを回転撮影することによって取得される複数の投影値と前記ファントムの複数の透過長とを用いて、前記被検体の投影値を透過長へ変換する変換式を算出することを特徴とする制御方法。
発明の詳細な説明
【技術分野】
【0001】
本発明は、複数のエネルギービンに分けられた投影データを用いて被検体の断層画像を生成するPCCT(Photon Counting Computed Tomography)装置に係り、特に投影値の非線形性を補正する技術に関する。
続きを表示(約 1,600 文字)
【背景技術】
【0002】
X線CT装置は、被検体にX線を照射するX線源と被検体を透過したX線を検出するX線検出器とを被検体の周囲で回転させることで得られる多方向からの投影データを用いて、被検体の断層画像を生成する。生成された断層画像は、被検体の中の臓器形状を描写し、画像診断に使用される。
【0003】
被検体に含まれる物質のX線吸収係数は、一般的にX線エネルギーが高いほど小さいので、照射X線が所定のエネルギー幅を有する場合、被検体を透過することによりX線の平均エネルギーが高くなる、いわゆるビームハードニングが生じる。ビームハードニングは、被検体を透過するX線量から求められる投影値と被検体の透過長との関係を非線形にし、断層画像の画質を劣化させるため、投影値に対する補正が必要である。
【0004】
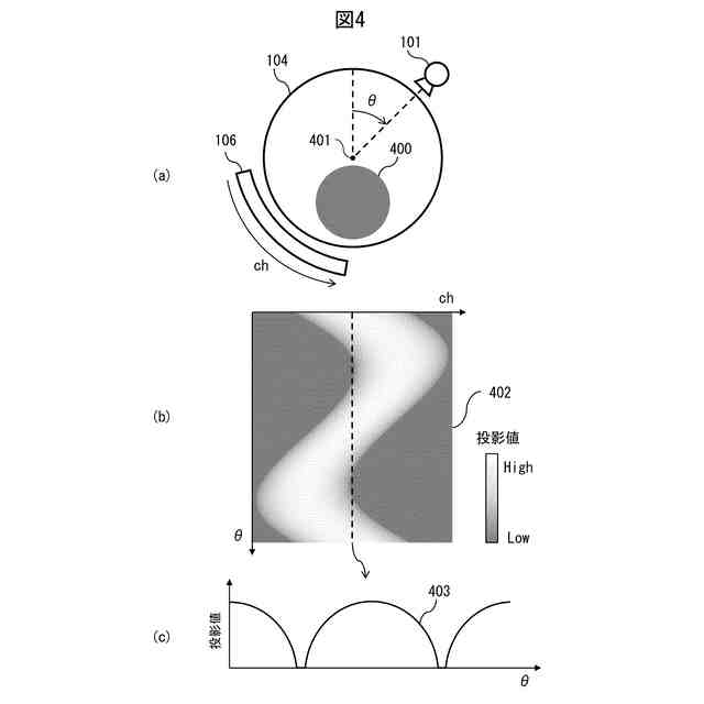
特許文献1には、撮影領域の中心からずらして配置されたファントムを回転撮影することによって得られるサイノグラムに、ビームハードニング補正と複数の関数フィッティングとを行うことによって求めた補正関数を用いて、投影値を補正することが開示される。
【先行技術文献】
【特許文献】
【0005】
特開2004-180808号公報
【発明の概要】
【発明が解決しようとする課題】
【0006】
しかしながら特許文献1では、投影値がより小さい範囲、すなわち透過X線量が大きい範囲における補正精度に対する配慮が不十分である。入射するX線光子を1つずつ計数する光子計数型検出器をX線検出器として備えるPCCT装置では、より多くのX線光子が検出されるとき、すなわちX線量がより大きいときに生じるパイルアップ等の影響により、入出力の比例関係が崩れ、投影値の補正精度が低下する。投影値の補正精度の低下は、断層画像の画質を劣化させる。
【0007】
そこで本発明の目的は、投影値がより小さい範囲においても投影値の補正精度を向上可能なPCCT装置とその制御方法を提供することである。
【課題を解決するための手段】
【0008】
上記目的を達成するために本発明は、被検体にX線を照射するX線源と前記被検体を透過したX線を複数のエネルギービン毎に検出する光子計数型検出器を前記被検体の周囲で回転させるスキャナと、前記光子計数型検出器の出力に基づいて算出される投影データを用いて断層画像を生成する画像生成部と、各部を制御する制御部を備えるPCCT装置であって、前記制御部は、前記スキャナの回転中心に重ならないように配置される、材質と形状と大きさが既知であるファントムを回転撮影することによって取得される複数の投影値と前記ファントムの複数の透過長とを用いて、前記被検体の投影値を透過長へ変換する変換式を算出することを特徴とする。
【0009】
また本発明は、被検体にX線を照射するX線源と前記被検体を透過したX線を複数のエネルギービン毎に検出する光子計数型検出器を前記被検体の周囲で回転させるスキャナと、前記光子計数型検出器の出力に基づいて算出される投影データを用いて断層画像を生成する画像生成部を備えるPCCT装置の制御方法であって、前記スキャナの回転中心に重ならないように配置される、材質と形状と大きさが既知であるファントムを回転撮影することによって取得される複数の投影値と、前記ファントムの複数の透過長とを用いて、前記被検体の投影値を透過長へ変換する変換式を算出することを特徴とする。
【発明の効果】
【0010】
本発明によれば、投影値がより小さい範囲においても投影値の補正精度を向上可能なPCCT装置とその制御方法を提供することができる。
【図面の簡単な説明】
(【0011】以降は省略されています)
この特許をJ-PlatPat(特許庁公式サイト)で参照する
関連特許
個人
短下肢装具
2か月前
個人
嚥下鍛錬装置
3か月前
個人
前腕誘導装置
2か月前
個人
胸骨圧迫補助具
1か月前
個人
アイマスク装置
1か月前
個人
矯正椅子
4か月前
個人
歯の修復用材料
3か月前
個人
バッグ式オムツ
3か月前
個人
汚れ防止シート
15日前
個人
哺乳瓶冷まし容器
2か月前
個人
陣痛緩和具
3か月前
個人
歯の保護用シール
4か月前
個人
湿布連続貼り機。
1か月前
株式会社八光
剥離吸引管
4か月前
個人
エア誘導コルセット
1か月前
個人
治療用酸化防御装置
1か月前
個人
性行為補助具
2か月前
株式会社大野
骨壷
3か月前
株式会社ニデック
眼科装置
27日前
個人
手指運動ツール
1か月前
個人
形見の製造方法
3か月前
株式会社ダリヤ
毛髪化粧料
25日前
株式会社ニデック
眼科装置
3か月前
株式会社松風
口腔用組成物
3か月前
株式会社ニデック
検眼装置
3か月前
個人
精力増強キット
19日前
個人
シリンダ式歩行補助具
2か月前
株式会社ニデック
眼科装置
4日前
株式会社ニデック
眼科装置
27日前
個人
高気圧環境装置
4か月前
株式会社GSユアサ
歩行器
4か月前
株式会社マンダム
乳化化粧料
12日前
株式会社メルコ
毛髪質改善剤
1か月前
花王株式会社
放散装置
1か月前
株式会社ダリヤ
染毛料組成物
4か月前
株式会社東洋新薬
皮膚外用剤
4か月前
続きを見る
他の特許を見る