TOP
|
特許
|
意匠
|
商標
特許ウォッチ
Twitter
他の特許を見る
公開番号
2025135014
公報種別
公開特許公報(A)
公開日
2025-09-17
出願番号
2025114904,2020148876
出願日
2025-07-08,2020-09-04
発明の名称
粘着シートおよび粘着シート製造方法
出願人
リンテック株式会社
代理人
IBC一番町弁理士法人
主分類
C09J
7/40 20180101AFI20250909BHJP(染料;ペイント;つや出し剤;天然樹脂;接着剤;他に分類されない組成物;他に分類されない材料の応用)
要約
【課題】剥離ライナーの凹凸形状が、粘着シートの表面に浮き出すように視認され難い粘
着シートおよび粘着シート製造方法を提供する。
【解決手段】粘着シート100は、基材層110、粘着剤層120、および剥離ライナー
130を、積層方向にこの順序で有し、剥離ライナーの粘着剤層側の面に、凹凸形状13
1が形成されており、基材層側の一方の面111でJIS Z 8741に準拠して測定
される60度鏡面光沢度が、30%以下である。
【選択図】図1
特許請求の範囲
【請求項1】
基材層、粘着剤層、および剥離ライナーを、積層方向にこの順序で有し、前記剥離ライ
ナーの前記粘着剤層側の面に、凹凸形状が形成された粘着シートであって、
前記基材層側の一方の面でJIS Z 8741に準拠して測定される60度鏡面光沢
度が、30%以下である、粘着シート。
続きを表示(約 640 文字)
【請求項2】
色の付された前記基材層が、前記基材層側から前記粘着剤層が視認されるのを遮る、請
求項1に記載の粘着シート。
【請求項3】
前記剥離ライナーの前記凹凸形状は、面方向に延びる突条部によって形成されている、
、請求項1または請求項2に記載の粘着シート。
【請求項4】
JIS Z 8741に準拠して測定される60度鏡面光沢度が、30%以下である面
を有するシート基材を準備するとともに、
表面に凹凸形状が形成された剥離ライナーを準備し、
前記シート基材および前記剥離ライナーの少なくとも一方に、粘着剤組成物を塗工し、
前記シート基材と前記剥離ライナーとを貼り合わせ、
当該貼り合わせの際、
前記シート基材は、両面のうちの少なくとも一方の前記60度鏡面光沢度が30%以下
である面が、前記剥離ライナーとは反対側に向けられ、
前記剥離ライナーは、前記凹凸形状の形成された面が、前記シート基材に向けられる、
粘着シート製造方法。
【請求項5】
色が付されており一方の面から他方の面への視認が遮られる前記シート基材を用いる、
請求項4に記載の粘着シート製造方法。
【請求項6】
面方向に延びる突条部によって前記凹凸形状が形成された前記剥離ライナーを用いる、
請求項4または請求項5に記載の粘着シート製造方法。
発明の詳細な説明
【技術分野】
【0001】
本発明は、粘着シートおよび粘着シート製造方法に関する。
続きを表示(約 1,300 文字)
【背景技術】
【0002】
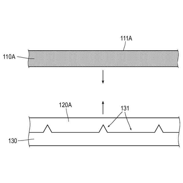
従来、被着体に貼付される粘着シートのふくれを防止するため、例えば特許文献1で開
示されているような、表面に凹凸形状を有する剥離ライナーが用いられている。
【0003】
凹凸形状を有する剥離ライナーは、粘着シートの粘着剤層と積層して用いられ、剥離ラ
イナーの凹凸形状が粘着剤層に転写される。これによって、空気を逃がす凹部が粘着剤層
に形成されるため、粘着シートは、粘着剤層を介して被着体に貼付された際、ふくれを防
止できる。
【先行技術文献】
【特許文献】
【0004】
特開2010-058395号公報
【発明の概要】
【発明が解決しようとする課題】
【0005】
しかしながら、凹凸形状を有する剥離ライナーを、表面の光沢が比較的強い粘着シート
で用いると、剥離ライナーの凹凸形状が、粘着シートの表面に浮き出すように視認される
ことがある。
【0006】
これは、剥離ライナーの凹凸形状に合わせて、粘着シートの基材層が変形し、そのよう
な変形が、表面の光沢が比較的強い粘着シートでは目立ってしまうことが要因として考え
られる。
【0007】
剥離ライナーの凹凸形状が、粘着シートの表面に浮き出すように視認されると、加飾フ
ィルム等の粘着シートでは、意匠性が損なわれる虞があるため、好ましくない。
【0008】
本発明は、そのような課題に鑑みてなされ、剥離ライナーの凹凸形状が、粘着シートの
表面に浮き出すように視認され難い粘着シートおよび粘着シート製造方法を提供すること
を目的とする。
【課題を解決するための手段】
【0009】
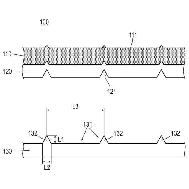
上記目的を達成するための本発明の粘着シートは、基材層、粘着剤層、および剥離ライ
ナーを、積層方向にこの順序で有し、前記剥離ライナーの前記粘着剤層側の面に、凹凸形
状が形成されており、前記基材層側の一方の面でJIS Z 8741に準拠して測定さ
れる60度鏡面光沢度が、30%以下である。
【0010】
上記目的を達成するための本発明の粘着シート製造方法は、JIS Z 8741に準
拠して測定される60度鏡面光沢度が、30%以下である面を有するシート基材を準備す
るとともに、表面に凹凸形状が形成された剥離ライナーを準備し、前記シート基材および
前記剥離ライナーの少なくとも一方に、粘着剤組成物を塗工し、前記シート基材と前記剥
離ライナーとを貼り合わせ、当該貼り合わせの際、前記シート基材は、両面のうちの少な
くとも一方の前記60度鏡面光沢度が30%以下である面が、前記剥離ライナーとは反対
側に向けられ、前記剥離ライナーは、前記凹凸形状の形成された面が、前記シート基材に
向けられる。
【発明の効果】
(【0011】以降は省略されています)
この特許をJ-PlatPat(特許庁公式サイト)で参照する
関連特許
リンテック株式会社
化粧シート
今日
リンテック株式会社
ワーク加工用保護シートおよびワーク個片化物の製造方法
今日
リンテック株式会社
ワーク加工用保護シートおよびワーク個片化物の製造方法
今日
リンテック株式会社
ワーク加工用保護シートおよびワーク個片化物の製造方法
今日
リンテック株式会社
半導体処理装置および半導体処理方法、並びに、半導体装置
今日
ベック株式会社
被覆材
3か月前
日本化薬株式会社
インク
7日前
ベック株式会社
被膜形成方法
1か月前
日本化薬株式会社
インク組成物
7日前
株式会社日本触媒
インクセット
16日前
関西ペイント株式会社
塗料組成物
1か月前
東ソー株式会社
ゴム用接着性改質剤
3か月前
ぺんてる株式会社
水性インキ組成物
3か月前
株式会社リコー
インクセット
3か月前
東亞合成株式会社
硬化型接着剤組成物
3か月前
東亞合成株式会社
硬化型接着剤組成物
3か月前
シヤチハタ株式会社
油性インキ組成物
1か月前
東ソー株式会社
土木用注入薬液組成物
8日前
AGC株式会社
液状組成物
2か月前
アイカ工業株式会社
光硬化型圧着組成物
1か月前
大日精化工業株式会社
顔料分散液
25日前
東ソー株式会社
土質安定化注入薬液組成物
1か月前
東ソー株式会社
土質安定化注入薬液組成物
1か月前
マクセル株式会社
粘着テープ
2か月前
株式会社フェクト
透明防錆塗料
3か月前
ハニー化成株式会社
防反射処理剤
3か月前
ユニチカ株式会社
易接着フィルム、および積層体
1か月前
株式会社呉竹
絵具
2か月前
ハニー化成株式会社
親水防汚処理剤
3か月前
東洋アルミニウム株式会社
複合顔料
7日前
artience株式会社
粘着剤及び粘着シート
2か月前
アイカ工業株式会社
ポリマー被覆粒子の製造方法
2か月前
ダイキン工業株式会社
耐油剤
1か月前
ダイキン工業株式会社
組成物
1か月前
ダイキン工業株式会社
組成物
1か月前
ダイキン工業株式会社
耐油剤
2か月前
続きを見る
他の特許を見る