TOP
|
特許
|
意匠
|
商標
特許ウォッチ
Twitter
他の特許を見る
10個以上の画像は省略されています。
公開番号
2025134439
公報種別
公開特許公報(A)
公開日
2025-09-17
出願番号
2024032336
出願日
2024-03-04
発明の名称
浮体式原子力発電システム
出願人
Advanced Float株式会社
代理人
弁理士法人秀和特許事務所
主分類
G21D
5/02 20060101AFI20250909BHJP(核物理;核工学)
要約
【課題】本願は、浮体の位置を制御可能な浮体式原子力発電システムを開示する。
【解決手段】原子炉と、原子炉の熱によって発生した蒸気で駆動するタービン発電機と、原子炉とタービン発電機が配置されており、海上に係留される浮体と、タービン発電機のタービンを通過した蒸気を凝縮させる復水器へ冷却水を供給する循環水ポンプと、を備え、循環水ポンプは、浮体を上方から見た場合に浮体から第1方向へ放水される冷却水の送水を担う第1循環水ポンプと、浮体を上方から見た場合に浮体から第1方向とは反対方向の第2方向へ放水される冷却水の送水を担う第2循環水ポンプと、を有する、浮体式原子力発電システムである。
【選択図】図3
特許請求の範囲
【請求項1】
原子炉と、
前記原子炉の熱によって発生した蒸気で駆動するタービン発電機と、
前記原子炉と前記タービン発電機が配置されており、海上に係留される浮体と、
前記タービン発電機のタービンを通過した蒸気を凝縮させる復水器へ冷却水を供給する循環水ポンプと、を備え、
前記循環水ポンプは、
前記浮体を上方から見た場合に前記浮体から第1方向へ放水される冷却水の送水を担う第1循環水ポンプと、
前記浮体を上方から見た場合に前記浮体から前記第1方向とは反対方向の第2方向へ放水される冷却水の送水を担う第2循環水ポンプと、を有する、
浮体式原子力発電システム。
続きを表示(約 520 文字)
【請求項2】
前記第1循環水ポンプの流量と前記第2循環水ポンプの流量は、前記浮体の位置に応じて調整される、
請求項1に記載の浮体式原子力発電システム。
【請求項3】
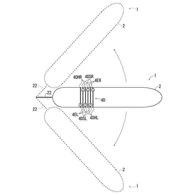
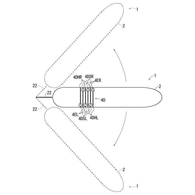
前記浮体は、上方から見た場合に流線形であり、長手方向における一端の船首側のみが係留されており、
前記第1循環水ポンプは、前記浮体の右舷側へ放水される冷却水の送水を担い、
前記第2循環水ポンプは、前記浮体の左舷側へ放水される冷却水の送水を担う、
請求項1に記載の浮体式原子力発電システム。
【請求項4】
原子炉補機冷却系及びタービン補機冷却系の少なくとも何れかの系統の海水ポンプを更に備え、
前記海水ポンプは前記浮体の位置に応じて流量が調整される、
請求項1に記載の浮体式原子力発電システム。
【請求項5】
前記浮体は、船首側に設けられたアンカーチェーンで係留されている、
請求項1から4の何れか一項に記載の浮体式原子力発電システム。
【請求項6】
前記アンカーチェーンは、切断可能である、
請求項5に記載の浮体式原子力発電システム。
発明の詳細な説明
【技術分野】
【0001】
本発明は、浮体式原子力発電システムに関する。
続きを表示(約 1,700 文字)
【背景技術】
【0002】
原子力発電システムには、地上に設置する形態のみならず、海上に浮かべる浮体式の形態も提案されている(例えば、特許文献1-3を参照)。
【先行技術文献】
【特許文献】
【0003】
特開昭63-151898号公報
特開昭63-151899号公報
特開昭52-149589号公報
【非特許文献】
【0004】
Buongiorno, J. et al. “The Offshore Floating Nuclear Plant Concept.” Nuclear Technology 194.1 (2016)
浮場式原子力発電所浮体構造物の地震応答特性(その2)-底部に空気室を有する浮体の上下免震特性- 電力中央研究所 萩原豊 他、1987/8/1
【発明の概要】
【発明が解決しようとする課題】
【0005】
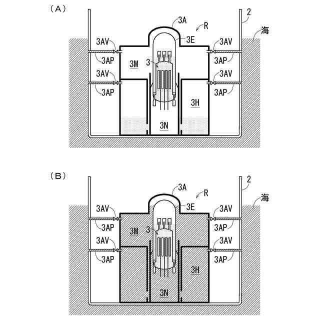
原子力発電システムを海上に浮かべる場合、陸地から数km以内の沿岸部に配置する形態や、陸地から数十km程度離れた沖合に配置する形態、陸地から数百km程度離れた遠洋に配置する形態が考えられる。原子力発電システムを海上の沿岸部に配置する場合、陸地から極めて近いため、送電や物資の移動等が容易である。しかし、沿岸部は、沖合よりも海底が浅いため、地震発生時に到来する津波の波高が沖合より高くなる。また、原子力発電システムが陸地に近い沖合に配置されていると、原子力発電システムで重大な事故が発生した際、陸地の住民が避難等を強いられる可能性がある。一方、陸地から数百km程度離れた遠洋に原子力発電システムを設置する場合は、送電のための海底ケーブルを長距離に渡って敷設する必要があり、物資の移動等も容易でないため、現実的ではない。このため、これらを総合的に考慮すると、浮体式の原子力発電システムを設置する場合は、陸地からやや離れた沖合に配置することが好ましい。
【0006】
浮体を海上に係留する場合、浮体は潮流に対し係留部分よりも下流側へ位置することになる。しかし、陸地から離れた沖合は、低気圧や地震によって津波が発生した場合に、潮流とは異なる方向から津波が到来し得る。よって、浮体式の原子力発電システムを沖合に係留する場合、浮体の位置を制御可能にすることが好ましい。
【0007】
そこで、本願は、浮体の位置を制御可能な浮体式原子力発電システムを開示する。
【課題を解決するための手段】
【0008】
上記課題を解決するため、本発明では、原子炉とタービン発電機が配置される浮体において、タービン発電機のタービンを通過した蒸気を凝縮させる復水器へ冷却水を供給する循環水ポンプとして、浮体を上方から見た場合に浮体から第1方向へ放水される冷却水の送水を担うポンプと、浮体を上方から見た場合に浮体から第1方向とは反対方向の第2方向へ放水される冷却水の送水を担うポンプとを設けることにした。
【0009】
詳細には、本発明は、原子炉と、原子炉の熱によって発生した蒸気で駆動するタービン発電機と、原子炉とタービン発電機が配置されており、海上に係留される浮体と、タービン発電機のタービンを通過した蒸気を凝縮させる復水器へ冷却水を供給する循環水ポンプと、を備え、循環水ポンプは、浮体を上方から見た場合に浮体から第1方向へ放水される冷却水の送水を担う第1循環水ポンプと、浮体を上方から見た場合に浮体から第1方向とは反対方向の第2方向へ放水される冷却水の送水を担う第2循環水ポンプと、を有する、浮体式原子力発電システムである。
【0010】
上記の浮体式原子力発電システムであれば、第1循環水ポンプが浮体から第1方向へ放水される冷却水の送水を担い、第2循環水ポンプが浮体から第1方向とは反対方向の第2方向へ放水される冷却水の送水を担うので、第1循環水ポンプの流量と第2循環水ポンプの流量とを調整することにより、浮体を所望の方向へ制御することが可能である。
(【0011】以降は省略されています)
この特許をJ-PlatPat(特許庁公式サイト)で参照する
関連特許
個人
常温核融合装置
5か月前
個人
常温核融合装置
5か月前
個人
常温核融合装置
5か月前
個人
トリチウムの除去装置
6か月前
個人
元素変換用固体核融合工程
3か月前
個人
廃炉方法及び固化材
6日前
個人
安山岩を利用した放射線消去装置
3か月前
個人
安山岩を利用した放射線消去装置
4か月前
個人
はんれい岩を利用した放射線消去装置
3か月前
個人
コンクリート船に乗せた、原子力発電
7か月前
個人
金属製軽水炉使用済核燃料増殖原子炉
6か月前
パテントフレア株式会社
核融合反応促進法
5か月前
パテントフレア株式会社
核融合反応促進法
5か月前
個人
装置、加速器、減速器、核変換システム
5か月前
合同会社日本レプトン
電子発生ペースト
10日前
株式会社エー・アンド・デイ
X線検査装置
5か月前
中部電力株式会社
立ち入り管理装置
8か月前
株式会社エー・アンド・デイ
X線検査装置
5か月前
個人
ホウ素を用いるミューオン触媒核融合システム
6か月前
PDRファーマ株式会社
遮蔽容器
4か月前
栗田工業株式会社
放射性廃液の処理方法
6日前
個人
核変換システム、加工装置、除去装置、切除装置
4か月前
個人
過剰熱発生方法
6か月前
住友重機械工業株式会社
搬送システム
2か月前
国立大学法人大阪大学
原子力発電装置
4か月前
株式会社シェルタージャパン
放射線遮蔽構造
7か月前
合同会社日本レプトン
電子発生器具及びその製造方法
10日前
浜松ホトニクス株式会社
電子線照射装置
5か月前
個人
共振励起型固体核融合装置と元素変換用固体核融合工程
3か月前
浜松ホトニクス株式会社
電子線照射装置
5か月前
合同会社日本レプトン
電子発生器具及びその製造方法
10日前
三菱重工業株式会社
加圧容器
1か月前
個人
過剰熱起電力発生方法
4か月前
個人
放射線防護衣
8か月前
日揮株式会社
放射性廃棄物の固化処理方法
6か月前
株式会社アキュサイト
放射性物質の処理装置および方法
5か月前
続きを見る
他の特許を見る