TOP
|
特許
|
意匠
|
商標
特許ウォッチ
Twitter
他の特許を見る
公開番号
2025134366
公報種別
公開特許公報(A)
公開日
2025-09-17
出願番号
2024032224
出願日
2024-03-04
発明の名称
タイヤ
出願人
住友ゴム工業株式会社
代理人
弁理士法人朝日奈特許事務所
主分類
B60C
15/06 20060101AFI20250909BHJP(車両一般)
要約
【課題】旋回時のグリップ性能の総合性能を向上するタイヤを提供すること。
【解決手段】トレッド部、サイドウォール、カーカス、およびストリップエイペックスを備えたタイヤであって、ストリップエイペックスは、サイドウォールのタイヤ軸方向内側またはカーカスの巻き返し部のタイヤ軸方向内側に存在し、トレッド部、サイドウォール、およびストリップエイペックスは、ゴム成分を含むゴム組成物により構成され、タイヤのランド比をLとする場合、Lは0.60以上であり、トレッド部を構成するゴム組成物は、有機架橋剤を含有し、トレッド部を構成するゴム組成物のアセトン抽出量をAE1(質量%)、サイドウォールを構成するゴム組成物のアセトン抽出量をAE2(質量%)、ストリップエイペックスを構成するゴム組成物のアセトン抽出量をAE3(質量%)とする場合、AE1>AE2>AE3である、タイヤ。
【選択図】なし
特許請求の範囲
【請求項1】
トレッド部、サイドウォール、カーカス、およびストリップエイペックスを備えたタイヤであって、
前記ストリップエイペックスは、前記サイドウォールのタイヤ軸方向内側または前記カーカスの巻き返し部のタイヤ軸方向内側に存在し、
前記トレッド部、前記サイドウォール、および前記ストリップエイペックスは、ゴム成分を含むゴム組成物により構成され、
前記タイヤのランド比をLとする場合、Lは0.60以上であり、
前記トレッド部を構成するゴム組成物は、有機架橋剤を含有し、
前記トレッド部を構成するゴム組成物のアセトン抽出量をAE1(質量%)、
前記サイドウォールを構成するゴム組成物のアセトン抽出量をAE2(質量%)、
前記ストリップエイペックスを構成するゴム組成物のアセトン抽出量をAE3(質量%)とする場合、
AE1>AE2>AE3
である、タイヤ。
続きを表示(約 720 文字)
【請求項2】
Lが0.70以上である、請求項1記載のタイヤ。
【請求項3】
Lが0.80以上である、請求項1または2に記載のタイヤ。
【請求項4】
前記トレッド部を構成するゴム組成物のゴム硬度HsとLとの積(Hs×L)が49未満である、請求項1または2に記載のタイヤ。
【請求項5】
前記トレッド部を構成するゴム組成物の30℃における複素弾性率を30℃E*
T
(MPa)とする場合、30℃E*
T
とLとの積(30℃E*
T
×L)が20未満である、請求項1または2に記載のタイヤ。
【請求項6】
前記AE3とLとの積(AE3×L)が3.5超である、請求項1または2に記載のタイヤ。
【請求項7】
前記サイドウォールを構成するゴム組成物の70℃における複素弾性率を70℃E*
S
(MPa)とする場合、70℃E*
S
とLとの積(70℃E*
S
×L)が5.0超である、請求項1または2に記載のタイヤ。
【請求項8】
前記有機架橋剤が、ジチオカルバミン酸系化合物である、請求項1または2に記載のタイヤ。
【請求項9】
前記サイドウォールを構成するゴム組成物が、ゴム成分中にブタジエンゴムを20質量%以上含有する、請求項1または2に記載のタイヤ。
【請求項10】
前記サイドウォールを構成するゴム組成物が、樹脂成分を含有する、請求項1または2に記載のタイヤ。
(【請求項11】以降は省略されています)
発明の詳細な説明
【技術分野】
【0001】
本発明は、タイヤに関する。
続きを表示(約 1,400 文字)
【背景技術】
【0002】
近年、車両の高性能化に伴い、四輪で走行する自動車のタイヤにおいても、旋回時のグリップ性能の向上が求められている。例えば、特許文献1には、2価フェノール化合物で変性されたポリマーと、シリカとを含むゴム組成物により、タイヤの低燃費性能およびウェットグリップ性能を改善することが記載されている。
【先行技術文献】
【特許文献】
【0003】
特開2023-155706号公報
【発明の概要】
【発明が解決しようとする課題】
【0004】
しかしながら、特許文献1では、旋回時のグリップ性能は考慮されていない。
【0005】
本発明は、旋回時のグリップ性能を向上するタイヤを提供することを目的とする。
【課題を解決するための手段】
【0006】
本発明は、
トレッド部、サイドウォール、カーカス、およびストリップエイペックスを備えたタイヤであって、
前記ストリップエイペックスは、前記サイドウォールのタイヤ軸方向内側または前記カーカスの巻き返し部のタイヤ軸方向内側に存在し、
前記トレッド部、前記サイドウォール、および前記ストリップエイペックスは、ゴム成分を含むゴム組成物により構成され、
前記タイヤのランド比をLとする場合、Lは0.60以上であり、
前記トレッド部を構成するゴム組成物は、有機架橋剤を含有し、
前記トレッド部を構成するゴム組成物のアセトン抽出量をAE1(質量%)、
前記サイドウォールを構成するゴム組成物のアセトン抽出量をAE2(質量%)、
前記ストリップエイペックスを構成するゴム組成物のアセトン抽出量をAE3(質量%)とする場合、
AE1>AE2>AE3
である、タイヤに関する。
【発明の効果】
【0007】
本発明によれば、旋回時のグリップ性能が向上するタイヤが提供される。
【図面の簡単な説明】
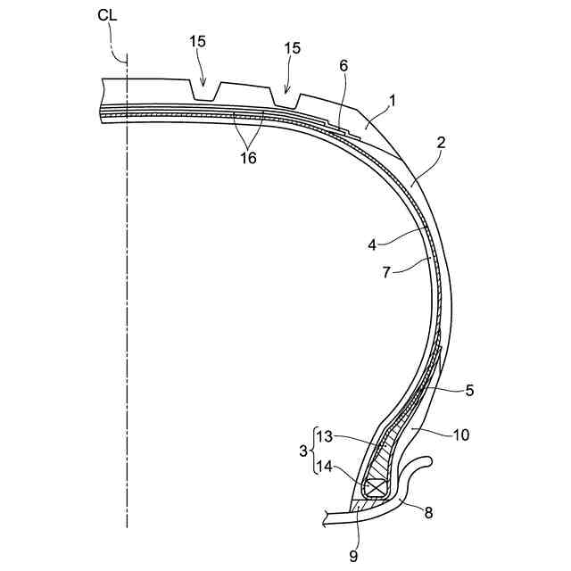
【0008】
本発明の一実施形態に係るタイヤについての、タイヤ回転軸を通る断面図である。
本発明の一実施形態を示すトレッド部の模式的な展開図である。
【発明を実施するための形態】
【0009】
本発明の一実施形態であるタイヤは、トレッド部、サイドウォール、カーカス、およびストリップエイペックスを備えたタイヤであって、前記ストリップエイペックスは、前記サイドウォールのタイヤ軸方向内側または前記カーカスの巻き返し部のタイヤ軸方向内側に存在し、前記トレッド部、前記サイドウォール、および前記ストリップエイペックスは、ゴム成分を含むゴム組成物により構成され、前記タイヤのランド比をLとする場合、Lは0.60以上であり、前記トレッド部を構成するゴム組成物は、有機架橋剤を含有し、前記トレッド部を構成するゴム組成物のアセトン抽出量をAE1(質量%)、前記サイドウォールを構成するゴム組成物のアセトン抽出量をAE2(質量%)、前記ストリップエイペックスを構成するゴム組成物のアセトン抽出量をAE3(質量%)とする場合、AE1>AE2>AE3であるタイヤである。
【0010】
本実施形態のタイヤにおいて、旋回時のグリップ性能が向上する理由については、理論に拘束されることは意図しないが、例えば以下のように考えられる。
(【0011】以降は省略されています)
この特許をJ-PlatPat(特許庁公式サイト)で参照する
関連特許
住友ゴム工業株式会社
タイヤ
8日前
住友ゴム工業株式会社
タイヤ
3日前
住友ゴム工業株式会社
タイヤ
15日前
住友ゴム工業株式会社
タイヤ
4日前
住友ゴム工業株式会社
タイヤ
9日前
住友ゴム工業株式会社
ゴルフボール
4日前
住友ゴム工業株式会社
モデリング方法
9日前
住友ゴム工業株式会社
モデリング方法
9日前
住友ゴム工業株式会社
光硬化性組成物
29日前
住友ゴム工業株式会社
空気入りタイヤ
1日前
住友ゴム工業株式会社
重荷重用タイヤ
4日前
住友ゴム工業株式会社
自動二輪車用タイヤ
16日前
住友ゴム工業株式会社
ゴルフクラブヘッド
22日前
住友ゴム工業株式会社
高分子複合体の解析方法
1日前
住友ゴム工業株式会社
加硫ゴムの物性値の予測方法
4日前
住友ゴム工業株式会社
タイヤの性能評価方法及び性能評価装置
19日前
住友ゴム工業株式会社
タイヤ性能評価方法及びタイヤ性能評価装置
4日前
住友ゴム工業株式会社
天然ゴムラテックス用凝固剤及び天然ゴムの製造方法
22日前
住友ゴム工業株式会社
光硬化性組成物およびこれからなる成形体
4日前
個人
タイヤレバー
2か月前
個人
前輪キャスター
1か月前
個人
上部一体型自動車
15日前
個人
ルーフ付きトライク
2か月前
個人
タイヤ脱落防止構造
1か月前
個人
マスタシリンダ
22日前
日本精機株式会社
表示装置
2か月前
日本精機株式会社
表示装置
2か月前
日本精機株式会社
表示装置
2か月前
個人
車両通過構造物
2か月前
日本精機株式会社
表示装置
2か月前
個人
乗合路線バスの客室装置
3か月前
個人
円湾曲ホイール及び球体輪
3か月前
日本精機株式会社
画像投映装置
11日前
株式会社ニフコ
収納装置
1か月前
日本精機株式会社
車載表示装置
1か月前
日本精機株式会社
車室演出装置
1か月前
続きを見る
他の特許を見る