TOP
|
特許
|
意匠
|
商標
特許ウォッチ
Twitter
他の特許を見る
10個以上の画像は省略されています。
公開番号
2025134259
公報種別
公開特許公報(A)
公開日
2025-09-17
出願番号
2024032048
出願日
2024-03-04
発明の名称
粉体スプレーの高電圧検出装置
出願人
ニッカ株式会社
代理人
個人
,
個人
主分類
B05B
17/00 20060101AFI20250909BHJP(霧化または噴霧一般;液体または他の流動性材料の表面への適用一般)
要約
【課題】粉体の散布閉鎖空間となる狭隘な場所で複数本が近接された放電線の高電圧を検出できる粉体スプレーの高電圧検出装置を提供する。
【解決手段】粉体スプレーの高電圧検出装置10は、粉体貯留槽及び散布ローラ及び放電線を有する散布ユニットと、散布ユニットの直下に配置されてローラ間で散布閉鎖空間を形成し、散布対象物と隙間を持って配置され強制回転されている2本の飛散防止ローラ及び放電線を有する飛散防止ユニットを備え、粉体スプレーの放電線に印加される高電圧を検出する検出手段40と、検出手段に接続して検出された高電圧を処理して放電線の活線状態を判定する信号処理手段50を備え、検出手段は放電線と対向し、放電線の直径と同じ長さの検出電極の検出面以外を電界遮蔽部で囲み、信号処理手段は増幅部で放電線から至近距離で検出できるゲインに設定した。
【選択図】図1
特許請求の範囲
【請求項1】
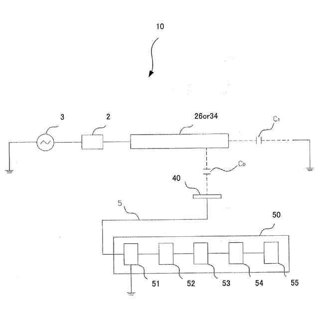
粉体貯留槽及び散布ローラ及び放電線を有する散布ユニットと、前記散布ユニットの直下の下流側及び上流側に配置されてローラ間で散布閉鎖空間を形成するとともに、散布対象物と隙間を持って配置され強制回転されている2本の飛散防止ローラ及び放電線を有する飛散防止ユニットを備え、3本の前記放電線が長手方向と直交する断面視で三角形の頂点位置で互いに近接し、粉体スプレーの前記放電線に近接して前記放電線に印加される高電圧を検出する検出手段と、
前記検出手段に接続して検出された高電圧を処理して前記放電線の活線状態を判定する信号処理手段を備え、
前記検出手段は前記放電線と対向し、前記放電線の直径とほぼ同じ長さの検出電極の検出面以外を電界遮蔽部で囲み、前記信号処理手段は増幅部で前記放電線から至近距離で検出できるゲインに設定したことを特徴とする粉体スプレーの高電圧検出装置。
続きを表示(約 320 文字)
【請求項2】
請求項1に記載された粉体スプレーの高電圧検出装置であって、
前記信号処理手段は、前記検出手段側に避雷部を設けたことを特徴とする粉体スプレーの高電圧検出装置。
【請求項3】
請求項1に記載された粉体スプレーの高電圧検出装置であって、
前記検出電極は、材質にモリブデンを含むステンレスを用いたことを特徴とする粉体スプレーの高電圧検出装置。
【請求項4】
請求項1ないし請求項3のいずれか1に記載された粉体スプレーの高電圧検出装置であって、前記信号処理手段は、ローパスフィルタとバンドパスフィルタを切り替え可能に構成したことを特徴とする粉体スプレーの高電圧検出装置。
発明の詳細な説明
【技術分野】
【0001】
本発明は、巻き取ったラミネート、プラスチックフィルムやゴムシート等の相互間における付着(ブロッキング)を防止するため、および後工程でのすべり性向上のため、プラスチックフィルムやゴムシート等の表面に粉体を散布する粉体スプレー(粉体散布装置ともいう)に印加する高電圧を検出する粉体スプレーの高電圧検出装置に関する。
続きを表示(約 3,400 文字)
【背景技術】
【0002】
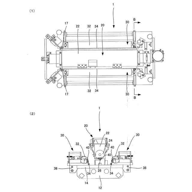
ブロッキング防止、すべり性向上のために粉体を散布する粉体スプレーがある(特許文献1参照)。図9は従来の粉体スプレーの放電線の説明図である。
粉体スプレー1は中央上部に散布ユニット20を配置し、散布ユニット20の斜め下方、換言するとローラ断面視で左右(印刷装置の搬送方向に対して上流側および下流側)に飛散防止ユニット30を近接している。散布ローラ24は印刷装置の搬送方向に沿って回転し、上流側の飛散防止ローラ32は搬送方向と逆回転し、下流側の飛散防止ローラ32は搬送方向に沿って回転し、3本のローラで囲まれた空間は散布閉鎖空間13となる。散布閉鎖空間13内では放電によって散布ローラ24のローラ表面に付着した粉体が飛散している。また飛散防止ローラ32も放電によってローラ表面に付着した粉体を遊離させている。散布ローラ24及び飛散防止ローラ32はローラ表面に放電を発生させるために放電線26,34を近接している。散布ローラ24の放電線26は散布閉鎖空間13内のローラ最下端に配置している。散布ローラ24の最下端は散布閉鎖空間13の上方に位置し、ここからローラに付着した粉体を遊離させて空間内に偏りなく散布できる。飛散防止ローラ32の放電線34は、散布閉鎖空間13内で軸心を通る水平線よりも僅かに下方に配置している。この位置であれば散布ローラ24のローラに付着した粉体に影響を与えることがなく、また下方の散布対象物と干渉することがなく放電させることができる。
このような放電線26,34はローラに接触させずに、数ミリ、具体的には1mmの距離を開けて近接している。そして放電線26,34は、導体を絶縁体で被膜した可撓性のワイヤーであり、プラグ式ケーブルを介して高圧トランス及び商用電源に接続して、高圧トランスで昇圧された7kVの電圧が掛かっている。散布ローラ24によって下方へ運ばれてきた粉体は放電線26からの放電により遊離させる。その際、飛散防止ローラ32に付着した粉体は放電線34からの放電により遊離させて飛散防止ローラ32の下方を移動するプラスチックフィルムやゴムシートなどの散布対象物の上面に粉体を散布できる。
【0003】
粉体スプレーのメンテナンス時には、作業の安全性を確保するため、高圧トランスに接続するケーブルのプラグを散布ユニット、飛散防止ユニットの本体のソケットから取り外している。
そしてメンテナンス終了時には、プラグをソケットに装着している。従来、メンテナンス終了時にプラグの装着作業を失念するケースが散見された。放電線に高電圧を印加しないで粉体スプレーを運転すると、散布ローラ及び飛散防止ローラの回転によって下部に運ばれてきた粉体が塊となって散布対象物の表面に付着してしまう。散布対象物は散布スプレーの下方で高速搬送されているため、粉体の塊が長距離に亘って付着してしまい、多量の製品ロスが発生すると共に、粉体スプレーのメンテナンス作業が生じて粉体散布作業を長時間停止しなければならなかった。このほかにも高電圧が発生しない原因としては、高圧トランスの劣化、放電線の劣化などがある。このため、放電線に印加する高電圧を検出する何等かの検出装置が望まれている。
【0004】
従来、導体に印加された高電圧を検出する技術として特許文献2,3に開示の技術がある。
特許文献2,3に開示の技術は、検出距離が1m程度(特許文献2)及び所定距離(感電事故を未然に防ぐための距離としては一般的に数m)であり、検出範囲の指向性が180度(特許文献2)及び全方位(特許文献3)である。
また特許文献2,3に開示の技術は、いずれも装置を人体に装着することによって、検出対象、検出手段、人体、大地のそれぞれの間に生じる浮遊容量によってコンデンサを形成し接地(アース)しているとみなしている。そのため、装置構成中にアース端子を備えていない。
本発明の高電圧検出対象となる散布スプレーは粉体の散布閉鎖空間となる狭隘な場所で3本の放電線が長手方向と直交する断面視で三角形の頂点位置で互いに至近距離(十数mm)で配置された特殊な場所である。このため、特許文献2、3のような装置構成では、複数の放電線を個別に検出することができず適用することができない。
また高電圧を印加する放電線に至近距離で人を配置することはできず、アース端子がなければ高電圧を検出するための回路を高電圧から保護することができない。
【先行技術文献】
【特許文献】
【0005】
特許第3773191号公報
特開昭58-17372号公報
特開2010-203961号公報
【発明の概要】
【発明が解決しようとする課題】
【0006】
本発明が解決しようとする課題は、上記従来技術の問題点に鑑み、粉体の散布閉鎖空間となる狭隘な場所で複数本が近接された放電線の高電圧を検出できる粉体スプレーの高電圧検出装置を提供することにある。
【課題を解決するための手段】
【0007】
本発明は、上記課題を解決するための第1の手段として、粉体貯留槽及び散布ローラ及び放電線を有する散布ユニットと、前記散布ユニットの直下の下流側及び上流側に配置されてローラ間で散布閉鎖空間を形成するとともに、散布対象物と隙間を持って配置され強制回転されている2本の飛散防止ローラ及び放電線を有する飛散防止ユニットを備え、3本の前記放電線が長手方向と直交する断面視で三角形の頂点位置で互いに近接し、粉体スプレーの前記放電線に近接して前記放電線に印加される高電圧を検出する検出手段と、
前記検出手段に接続して検出された高電圧を処理して前記放電線の活線状態を判定する信号処理手段を備え、
前記検出手段は前記放電線と対向し、前記放電線の直径とほぼ同じ長さの検出電極の検出面以外を電界遮蔽部で囲み、前記信号処理手段は増幅部で前記放電線から至近距離で検出できるゲインに設定したことを特徴とする粉体スプレーの高電圧検出装置を提供することにある。
上記第1の手段によれば、狭隘な空間に複数本が近接された放電線の活線状態を個別に検出することができる。また放電線の交換毎に取付位置の誤差が生じても検出電極が放電線に接触することなく対抗する放電線の高電圧を検出することができる。
【0008】
本発明は、上記課題を解決するための第2の手段として、第1の手段において、前記信号処理手段は、前記検出手段側に避雷部を設けたことを特徴とする粉体スプレーの高電圧検出装置を提供することにある。
上記第2の手段によれば、放電によって絶縁破壊(放電線への通電による経時劣化や放電線表面に付着するパウダー等が固着することによる絶縁低下、被散布物との干渉や放電線交換時に破損することにより生じる。)が生じて検出電極へ漏洩すると、誤動作や、ノイズが生じ、電源電圧が安定しないことがあるが、避雷部のアース端子から直接大地へ電力が逃げるように構成しているため信号処理手段を保護することができる。
【0009】
本発明は、上記課題を解決するための第3の手段として、第1の手段において、前記検出電極は、材質にモリブデンを含むステンレスを用いたことを特徴とする粉体スプレーの高電圧検出装置を提供することにある。
上記第3の手段によれば、部分放電によって生じるオゾンにより検出電極表面の腐食を低減することができる。
【0010】
本発明は、上記課題を解決するための第4の手段として、第1ないし第3のいずれか1の手段において、前記信号処理手段は、ローパスフィルタとバンドパスフィルタを切り替え可能に構成したことを特徴とする粉体スプレーの高電圧検出装置を提供することにある。
上記第4の手段によれば、ニーズにより高電圧又はコロナ放電を切り替えていずれか一方を検出することができる。
【発明の効果】
(【0011】以降は省略されています)
この特許をJ-PlatPat(特許庁公式サイト)で参照する
関連特許
ベック株式会社
被膜形成方法
7日前
ベック株式会社
装飾被膜の形成方法
2か月前
スズカファイン株式会社
多色性塗膜
15日前
株式会社吉野工業所
キャップ
3か月前
アイカ工業株式会社
塗料仕上げ工法
26日前
プルガティオ株式会社
噴霧装置
3か月前
プルガティオ株式会社
噴霧装置
3か月前
プルガティオ株式会社
噴霧装置
3か月前
株式会社カネカ
塗布装置
15日前
能美防災株式会社
水噴霧ヘッド
11日前
トヨタ自動車株式会社
塗布装置
13日前
個人
スプレー缶高所対応携帯ホルダー
26日前
日本ライナー株式会社
塗装装置
27日前
ヒット工業株式会社
マスキング具
2か月前
株式会社吉野工業所
ポンプ式吐出器
3か月前
中外炉工業株式会社
塗工装置
2か月前
東レエンジニアリング株式会社
スリットダイ
7日前
東レエンジニアリング株式会社
粉体吐出装置
5日前
ブラザー工業株式会社
塗工装置
4日前
ブラザー工業株式会社
塗工装置
4日前
ブラザー工業株式会社
塗工装置
4日前
株式会社吉野工業所
吐出器
3か月前
株式会社吉野工業所
吐出器
3か月前
旭サナック株式会社
粉体塗装装置
1か月前
三菱鉛筆株式会社
多液混合型塗布具
2か月前
トリニティ工業株式会社
回転霧化式塗装機
11日前
ブラザー工業株式会社
静電塗工装置
4日前
積水ハウス株式会社
接着剤塗布装置
2か月前
AWJ株式会社
ステンシルプレートセット
2か月前
個人
散水形態を変更可能な吐水装置
12日前
株式会社トーモク
印刷装置および印刷方法
26日前
株式会社吉野工業所
ノズル部材
3か月前
Mipox株式会社
塗装物の製造方法
1か月前
有限会社橋本漆芸
ガラス瓶の漆調塗装及び加飾
1か月前
株式会社吉野工業所
吐出器
2か月前
株式会社吉野工業所
吐出器
2か月前
続きを見る
他の特許を見る