TOP
|
特許
|
意匠
|
商標
特許ウォッチ
Twitter
他の特許を見る
10個以上の画像は省略されています。
公開番号
2025132882
公報種別
公開特許公報(A)
公開日
2025-09-10
出願番号
2024030745
出願日
2024-02-29
発明の名称
光学フィルタ及びそれを備える光脱毛装置
出願人
HOYA株式会社
代理人
個人
主分類
A45D
26/00 20060101AFI20250903BHJP(手持品または旅行用品)
要約
【課題】脱毛機能を維持しつつも、被施術者が皮膚に感じる熱さや痛みによる不快感を低減することが可能な光脱毛装置用の光学フィルタを提供すること。
【解決手段】キセノン管から発せられる光の光路中に配置される光脱毛装置用の光学フィルタが、800~1000nmの波長帯域の平均透過率が70%以下である。
【選択図】図2
特許請求の範囲
【請求項1】
キセノン管から発せられる光の光路中に配置される光脱毛装置用の光学フィルタであって、
800~1000nmの波長帯域の平均透過率が70%以下である
ことを特徴とする光学フィルタ。
続きを表示(約 710 文字)
【請求項2】
前記光学フィルタは、500~750nmの波長範囲の透過率が90%以上のガラスからなる基板と、該基板の少なくともいずれか一方の主面上に形成された誘電体多層膜と、を有することを特徴とする請求項1に記載の光学フィルタ。
【請求項3】
前記基板が、石英ガラス又は光学ガラスであることを特徴とする請求項2に記載の光学フィルタ。
【請求項4】
前記誘電体多層膜が、赤外線を反射する赤外線カット膜を含むことを特徴とする請求項2に記載の光学フィルタ。
【請求項5】
前記誘電体多層膜が、可視光線の反射を防止する反射防止膜をさらに含むことを特徴とする請求項4に記載の光学フィルタ。
【請求項6】
前記誘電体多層膜が、紫外線を反射する紫外線カット膜をさらに含むことを特徴とする請求項4に記載の光学フィルタ。
【請求項7】
前記光学フィルタは、紫外線を吸収するガラスからなる基板と、該基板の少なくとも一方の主面上に形成された誘電体多層膜と、を有することを特徴とする請求項1に記載の光学フィルタ。
【請求項8】
前記基板が、波長500nm以下の光を吸収することを特徴とする請求項7に記載の光学フィルタ。
【請求項9】
前記誘電体多層膜が、赤外線を反射又は吸収する赤外線カット膜を含むことを特徴とする請求項7に記載の光学フィルタ。
【請求項10】
前記誘電体多層膜が、可視光線の反射を防止する反射防止膜をさらに含むことを特徴とする請求項9に記載の光学フィルタ。
(【請求項11】以降は省略されています)
発明の詳細な説明
【技術分野】
【0001】
本発明は、キセノン管から発せられる光を被施術者の皮膚表面に照射して脱毛処理を行う光脱毛装置に使用される光学フィルタ、及びそれを備える光脱毛装置に関する。
続きを表示(約 1,500 文字)
【背景技術】
【0002】
近年、被施術者の皮膚表面に光を照射して、脱毛を行う光脱毛装置が実用に供されている。このような光脱毛装置は、キセノン管を備え、キセノン管からの光を皮膚表面にパルス状に照射し、脱毛を促すというものであり、キセノン管からの光が毛根及び毛根周辺のメラニンに吸収されて熱エネルギーへと変わり、それが毛根、毛乳頭、毛母細胞などの組織へダメージを与えるというものである(例えば、特許文献1)。
【0003】
例えば、特許文献1には、発光ランプと、発光ランプの照射光の所定の波長よりも短い波長の光を反射する反射型フィルタと、反射型フィルタを透過した所定の波長より短い波長の光を吸収する吸収型フィルタと、を備える光脱毛処理装置が記載されている。この光脱毛処理装置においては、脱毛に有効でない波長(530nm以下の波長)の光が照射されると、被施術者が輻射熱によって熱いと感じることがあるため、反射型フィルタを用いて紫外線領域を含む脱毛に有効でない所定の波長よりも短い光を反射させ、次に、大きな入射角で照射されて反射型フィルタを透過してきた所定の波長よりも短い光を吸収型フィルタにより吸収させることにより、脱毛に有効な波長(600nmから800nm)の光を得ている。
【先行技術文献】
【特許文献】
【0004】
特開2022-81826号公報
【発明の概要】
【発明が解決しようとする課題】
【0005】
特許文献1に記載の構成によれば、脱毛に不要な530nm以下の波長の光(つまり、エネルギーの高い紫外線領域の光)が除去されるため、被施術者の皮膚の温度上昇をある程度抑えることができる。
しかしながら、このように紫外線領域の光を対策した従来の光脱毛装置においても、依然として被施術者が熱さや痛みを訴える場合があり、更なる改善が求められていた。
【0006】
本発明は、このような事情に鑑みてなされたものであり、その目的とするところは、脱毛機能を維持しつつも、被施術者が皮膚に感じる熱さや痛みによる不快感をさらに低減することが可能な光脱毛装置用の光学フィルタを提供すること、およびそのような光学フィルタを備える光脱毛装置を提供することである。
【課題を解決するための手段】
【0007】
そして、上記目的を達成するために本発明者が鋭意検討したところ、被施術者が熱さや痛みを訴える原因として、紫外線領域の光のみならず、キセノン管から出射される光に含まれる、近赤外線領域(波長帯域:800~1000nm)の強いピークが起因していることを見出した。本発明は、かかる知見に基づいてなされたものである。
【0008】
すなわち、本発明の光学フィルタは、キセノン管から発せられる光の光路中に配置される光脱毛装置用の光学フィルタであって、800~1000nmの波長帯域の平均透過率が70%以下であることを特徴とする。
【0009】
このような構成によれば、キセノン管から出射される光に含まれる、近赤外線領域(波長帯域:800~1000nm)の強いピークが抑えられるため、被施術者が感じる熱さや痛みをさらに低減することができる。
【0010】
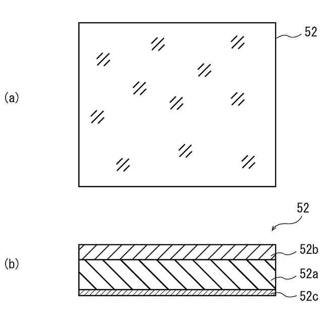
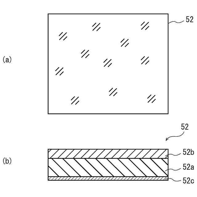
また、光学フィルタは、500~750nmの波長範囲の透過率が90%以上のガラスからなる基板と、基板の少なくともいずれか一方の主面上に形成された誘電体多層膜と、を有することが望ましい。また、この場合、基板が、石英ガラス又は光学ガラスであることが望ましい。
(【0011】以降は省略されています)
この特許をJ-PlatPat(特許庁公式サイト)で参照する
関連特許
HOYA株式会社
光学ガラス及び光学素子
10日前
HOYA株式会社
光学ガラスおよび光学素子
6日前
HOYA株式会社
光学ガラスおよび光学素子
21日前
HOYA株式会社
銀含有偏光ガラスおよび光アイソレータ
17日前
HOYA株式会社
銀含有偏光ガラスおよび光アイソレータ
17日前
HOYA株式会社
位相シフトマスク及び表示装置の製造方法
2か月前
HOYA株式会社
光学フィルタ及びそれを備える光脱毛装置
1か月前
HOYA株式会社
荷電粒子線装置の校正基板、および荷電粒子線装置
17日前
HOYA株式会社
マスクブランク、転写用マスク、及び表示装置の製造方法
17日前
HOYA株式会社
光学ガラスおよび光学素子
1か月前
HOYA株式会社
光学ガラスおよび光学素子
1か月前
HOYA株式会社
多層反射膜付き基板、反射型マスクブランク、反射型マスク、及び半導体装置の製造方法
11日前
HOYA株式会社
フォトマスク、及び表示装置の製造方法
3日前
HOYA株式会社
導電膜付き基板、多層反射膜付き基板、マスクブランク、反射型マスク、および半導体装置の製造方法
14日前
HOYA株式会社
反射型マスクブランク、反射型マスク及びその製造方法、並びに半導体装置の製造方法
2か月前
HOYA株式会社
リング状物体の製造方法、成膜装置、ハードディスクドライブ用スペーサ、及びハードディスクドライブ装置
6日前
HOYA株式会社
磁気記録媒体基板用または磁気記録再生装置用ガラススペーサ用のガラス、磁気記録媒体基板、磁気記録媒体、磁気記録再生装置用ガラススペーサおよび磁気記録再生装置
19日前
個人
包み箱
1か月前
個人
杖
3か月前
個人
傘
1か月前
個人
傘
6か月前
個人
財布
4か月前
個人
二重把手袋
6か月前
個人
折り畳み傘
3か月前
個人
シール
5か月前
個人
バッグ
3か月前
個人
眼鏡ホルダー
2か月前
個人
刺抜き具
7か月前
個人
傘
8か月前
個人
美容用具
2か月前
個人
シート状パック
6か月前
個人
肩ベルトカバー
1か月前
個人
補助持ち手付き傘
4か月前
個人
傘の先端キャップ
5か月前
個人
滑らないヘアピン
9か月前
個人
香りカプセル
11か月前
続きを見る
他の特許を見る