TOP
|
特許
|
意匠
|
商標
特許ウォッチ
Twitter
他の特許を見る
10個以上の画像は省略されています。
公開番号
2025132062
公報種別
公開特許公報(A)
公開日
2025-09-10
出願番号
2024029382
出願日
2024-02-29
発明の名称
モータ
出願人
株式会社小松製作所
代理人
弁理士法人志賀国際特許事務所
主分類
H02K
3/28 20060101AFI20250903BHJP(電力の発電,変換,配電)
要約
【課題】巻き崩れを防止できるモータを提供する。
【解決手段】ロータと共にモータを構成するステータ3は、複数のティース42を有するステータコアと、複数の巻線60A,60Bと、を有する。各巻線は、ティースに巻き付けられる複数のコイル部61,62と、巻線の端部を構成し、コイル部から延びる2つの引き出し線部64と、隣り合うコイル部を接続する渡り線部63と、を有する。巻線には、複数の正転コイル部61を含む正転巻線60Aと、複数の反転コイル部62を含む反転巻線60Bとがある。正転巻線及び反転巻線のそれぞれで、引き出し線部が周方向の一方側から引き出されるコイル部は、周方向の他方側から渡り線部が引き出され、コイル部の周方向の他方側から引き出される渡り線部は、コイル部に対して周方向の他方側に延びる。
【選択図】図5
特許請求の範囲
【請求項1】
ロータと、
周方向に並ぶ複数のティース及び複数のスロットを有する環状のステータコアと、前記複数のティースに巻き付けられる複数の巻線と、を備えるステータと、を備え、
前記ロータの極数をP、前記ステータコアのスロット数をS、自然数をmとしたときに、
P:S=5×2m:6×2m、又は、P:S=7×2m:6×2m
の条件を満たし、
前記複数の巻線はそれぞれ、
前記ティースに集中巻きによって巻き付けられる複数のコイル部と、
前記巻線の端部を構成し、前記コイル部から延びる2つの引き出し線部と、
隣り合う前記コイル部同士を接続する渡り線部と、を有し、
前記コイル部には、正転コイル部と、前記正転コイル部と反対向きに巻かれた反転コイル部と、があり、かつ、前記巻線には、複数の前記正転コイル部を含む正転巻線と、複数の前記反転コイル部を含む反転巻線と、があり、
前記正転巻線及び前記反転巻線のそれぞれにおいて、
前記引き出し線部が前記周方向の一方側から引き出される前記コイル部は、前記周方向の他方側から前記渡り線部が引き出され、
前記コイル部の前記周方向の他方側から引き出される前記渡り線部は、前記コイル部に対して前記周方向の他方側に延びるモータ。
続きを表示(約 850 文字)
【請求項2】
前記ステータは、前記ステータコアに取り付けられるインシュレータをさらに有し、
前記インシュレータは、前記ステータコアの軸方向のいずれか一端側に配置される巻線保持部を有し、
前記巻線保持部は、外周側から窪むとともに前記周方向に延び、前記軸方向に並ぶ複数の渡り溝を有し、
複数の前記渡り溝には、互いに異なる相の前記渡り線が収容される請求項1に記載のモータ。
【請求項3】
前記正転巻線及び前記反転巻線のそれぞれが、3つ以上の前記コイル部を有し、
前記正転巻線及び前記反転巻線のそれぞれを構成する複数の前記コイル部には、複数の前記コイル部の配列方向の両端に位置する2つの端部コイル部と、2つの端部コイル部の間に位置する中間コイル部と、があり、
前記引き出し線部が前記周方向の一方側から引き出された端部コイル部は、前記周方向の他方側から前記渡り線部が引き出され、
前記端部コイル部の前記周方向の他方側から引き出された前記渡り線部は、前記端部コイル部に対して前記周方向の他方側に延び、
前記中間コイル部の前記周方向の一方側から引き出された前記渡り線部は、前記中間コイル部に対して前記周方向の一方側に延び、
前記中間コイル部の前記周方向の他方側から引き出された前記渡り線部は、前記中間コイル部に対して前記周方向の他方側に延びる請求項1又は請求項2に記載のモータ。
【請求項4】
各相の前記正転巻線及び前記反転巻線のそれぞれの2つの前記引き出し線のうち一方が、駆動電流を入力するための入力線であり、
同一の相における前記正転巻線及び前記反転巻線の前記入力線が、同一の前記スロットから引き出される請求項1又は請求項2に記載のモータ。
【請求項5】
前記正転巻線及び前記反転巻線のそれぞれは、複数本の素線を非整列で束にした多条線である請求項1又は請求項2に記載のモータ。
発明の詳細な説明
【技術分野】
【0001】
本開示は、モータに関する。
続きを表示(約 2,500 文字)
【背景技術】
【0002】
特許文献1には、ステータコアと巻線とインシュレータとを備えるモータ(電動機)のステータ(電機子)が開示されている。ステータコアは、複数のスロットとスロットの間に形成される複数のティースとを有する。巻線は、1本の素線(単線)、あるいは、複数本の素線を非整列で束ねた多条線からなる。巻線は、複数のティースのそれぞれに巻き回された複数のコイル部とコイル同士を接続する接続部(渡り線部)と、両端のコイル部からそれぞれ延びて巻線の端部を構成する2つの引き出し線部と、を有する。渡り線部は、インシュレータの外周側において周方向に延びる渡り溝に収容される。
3相交流型のモータでは、3相分の巻線を有する。3相(U相、V相、W相)の巻線の渡り線部は、互いに異なる相の巻線同士を互いに電気的に絶縁するため、インシュレータの軸方向に並ぶ3つの渡り溝にそれぞれ収容される。互いに異なる相の巻線同士の電気的絶縁を図るためには、互いに異なる渡り溝に収容された渡り線部同士の沿面距離を十分に確保する必要がある。
【先行技術文献】
【特許文献】
【0003】
国際公開第2012/133302号
【発明の概要】
【発明が解決しようとする課題】
【0004】
ところで、ステータコア及びインシュレータに対する巻線の取付態様によっては、同一の巻線を構成する渡り線部と引き出し線部とが交差することがある。また、同一の巻線を構成する渡り線部同士が渡り溝において交差することがある。
また、3相交流型のモータにおいて、ロータの極数Pとステータコアのスロット数Sとの比が、5:6あるいは7:6である場合、各相の巻線における複数のコイル部には、所定方向に巻かれた正転コイル部と、正転コイル部と反対向きに巻かれた反転コイル部と、がある。従来のモータにおいては、これら正転コイル部及び反転コイル部を含む各相の巻線が1本で構成されている。これによっても、同一の巻線を構成する渡り線部と引き出し線部とが交差したり、渡り線部同士が渡り溝において交差したりする。
【0005】
しかしながら、同一の巻線において、所定の渡り線部が引き出し線部や他の渡り線部と交差すると、所定の渡り線部が渡り溝から溢れたり、他の相の渡り線部が入っている渡り溝に入る等して巻線の巻き崩れが発生してしまうことがある。
【0006】
本開示はこのような課題に鑑みてなされたものであって、巻線の巻き崩れを防止できるモータを提供することを目的とする。
【課題を解決するための手段】
【0007】
本開示の一の態様に係るモータは、ロータと周方向に並ぶ複数のティース及び複数のスロットを有する環状のステータコアと、前記複数のティースに巻き付けられる複数の巻線と、を備えるステータと、を備え、前記ロータの極数をP、前記ステータコアのスロット数をS、自然数をmとしたときに、
P:S=5×2m:6×2m、又は、P:S=7×2m:6×2m
の条件を満たし、前記複数の巻線はそれぞれ、前記ティースに集中巻きによって巻き付けられる複数のコイル部と、前記巻線の端部を構成し、前記コイル部から延びる2つの引き出し線部と、隣り合う前記コイル部同士を接続する渡り線部と、を有し、前記コイル部には、正転コイル部と、前記正転コイル部と反対向きに巻かれた反転コイル部と、があり、かつ、前記巻線には、複数の前記正転コイル部を含む正転巻線と、複数の前記反転コイル部を含む反転巻線と、があり、前記正転巻線及び前記反転巻線のそれぞれにおいて、前記引き出し線部が前記周方向の一方側から引き出される前記コイル部は、前記周方向の他方側から前記渡り線部が引き出され、前記コイル部の前記周方向の他方側から引き出される前記渡り線部は、前記コイル部に対して前記周方向の他方側に延びる。
【発明の効果】
【0008】
本開示によれば、モータにおいて巻線の巻き崩れを防止できる。
【図面の簡単な説明】
【0009】
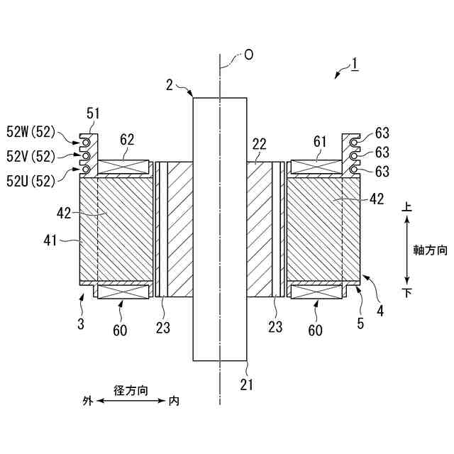
本開示の一実施形態に係るモータを模式的に示す断面図である。
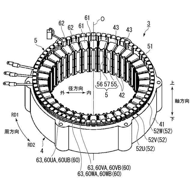
図1のモータにおいて、スロット数が36個である場合のステータの一例を示す斜視図である。
図1のモータにおいて、ロータの極数が10個であり、ステータのスロット数が12個である場合のモータの一例を軸方向から見た断面図である。
本開示の一実施形態に係るステータにおいて、スロット数が12個である場合の3相交流回路の一例を示す回路図である。
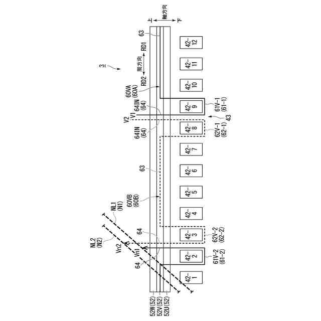
本開示の一実施形態に係るステータのスロット数が12個である場合における巻線の結線図の一例であって、U相の巻線だけを取り出して示した図である。
本開示の一実施形態に係るステータのスロット数が12個である場合における巻線の結線図の一例であって、V相の巻線だけを取り出して示した図である。
本開示の一実施形態に係るステータのスロット数が12個である場合における巻線の結線図の一例であって、W相の巻線だけを取り出して示した図である。
巻線の結線図の他の例を示す図である。
【発明を実施するための形態】
【0010】
以下、本開示の一実施形態について図1~図7を参照して詳細に説明する。
本実施形態では、図1~図3におけるロータ2、ステータ3の軸線Oと平行な方向を軸方向と呼ぶ。当該軸線Oの放射方向を径方向と呼ぶ。軸線Oを周回する方向を周方向と呼ぶ。
また、本実施形態では、軸方向の一方側を上側又は上方向とし、軸方向の他方側を下側又は下方向とする。径方向において、軸線Oに近づく方向を径方向内側とし、軸線Oから離れる方向を径方向外側とする。周方向の一方側を第一周方向RD1とし、周方向の他方側を第二周方向RD2とする。
(【0011】以降は省略されています)
この特許をJ-PlatPat(特許庁公式サイト)で参照する
関連特許
株式会社小松製作所
作業車両
5日前
株式会社小松製作所
作業車両用作動油タンク及び作業車両
2日前
株式会社小松製作所
作業機械の画像表示システムおよび作業機械の画像表示方法
3日前
個人
電源装置
16日前
個人
バッテリ内蔵直流電源
15日前
株式会社FUJI
制御盤
5日前
オムロン株式会社
電源回路
9日前
オムロン株式会社
電源回路
9日前
オムロン株式会社
電源回路
9日前
ニデック株式会社
モータの制御方法
23日前
トヨタ自動車株式会社
回転子
16日前
トヨタ自動車株式会社
回転子
1日前
東京応化工業株式会社
発電装置
9日前
ミサワホーム株式会社
居住設備
5日前
大豊工業株式会社
モータ
15日前
株式会社リコー
拡張アンテナ装置
8日前
トヨタ自動車株式会社
ロータ
3日前
ニチコン株式会社
AC入力検出回路
1日前
日産自動車株式会社
ステータ
2日前
ユタカ電業株式会社
ケーブルダクト
5日前
富士電子工業株式会社
電力変換装置
17日前
株式会社ミツバ
巻線装置
8日前
株式会社正興電機製作所
地絡確認装置
8日前
NTN株式会社
モータユニット
5日前
株式会社大林組
可搬式充電設備
2日前
株式会社ダイヘン
電力管理装置
24日前
株式会社デンソー
電力変換装置
1日前
志幸技研工業株式会社
ケーブル布設工法
15日前
株式会社豊田自動織機
車両用機器
5日前
カヤバ株式会社
アクチュエータユニット
15日前
株式会社アイシン
駆動装置
3日前
株式会社デンソー
インバータ装置
17日前
株式会社アイシン
回転電機
1日前
矢崎総業株式会社
プロテクタ
1日前
Astemo株式会社
電動駆動装置
3日前
富士電機株式会社
電力変換システム
5日前
続きを見る
他の特許を見る