TOP
|
特許
|
意匠
|
商標
特許ウォッチ
Twitter
他の特許を見る
公開番号
2025130929
公報種別
公開特許公報(A)
公開日
2025-09-09
出願番号
2024028329
出願日
2024-02-28
発明の名称
リン脂質構造体の形態制御方法およびリン脂質構造体
出願人
国立大学法人東京農工大学
代理人
個人
,
個人
,
個人
,
個人
,
個人
主分類
C07K
7/06 20060101AFI20250902BHJP(有機化学)
要約
【課題】リン脂質膜上で自己集合することでドメインの形成を誘導する化合物により、リポソームの会合および分裂を制御することができ、生体分子の封入による薬剤送達システム等への応用が可能な、リン脂質構造体の形態制御方法およびリン脂質構造体を提供する。
【解決手段】異なる相転移温度を有する2種類以上のリン脂質化合物を含むリン脂質水溶液に対して、特定の両親媒性化合物を添加して、リン脂質構造体を形成させ、ついで、アニオン性化合物を添加して、前記両親媒性化合物に受容させ、前記リン脂質構造体の形態を制御する、リン脂質構造体の形態制御方法、およびそれにより得られたリン脂質構造体である。
【選択図】図1
特許請求の範囲
【請求項1】
異なる相転移温度を有する2種類以上のリン脂質化合物を含むリン脂質水溶液に対して、
下記一般式(1)で示される両親媒性化合物を添加して、リン脂質構造体を形成させ、
ついで、アニオン性化合物を添加して、前記両親媒性化合物に受容させ、前記リン脂質構造体の形態を制御する、リン脂質構造体の形態制御方法。
TIFF
2025130929000012.tif
43
170
(前記式(1)中、R1は水素または1~10のアミノ酸残基からなるカチオン性ペプチド、R2およびR3は疎水性のアルキル基である。)
続きを表示(約 1,000 文字)
【請求項2】
前記一般式(1)の化合物が式(2)~(5)で表される化合物のいずれかを含む、請求項1に記載のリン脂質構造体の形態制御方法。
TIFF
2025130929000013.tif
183
170
TIFF
2025130929000014.tif
184
170
TIFF
2025130929000015.tif
207
170
TIFF
2025130929000016.tif
204
170
【請求項3】
前記アニオン性化合物が酸性アミノ酸、核酸またはそれらの重合体である、請求項1または2に記載のリン脂質構造体の形態制御方法。
【請求項4】
前記アニオン性化合物がアスパラギン酸が2~4個結合した化合物である、請求項1または2に記載のリン脂質構造体の形態制御方法。
【請求項5】
前記リン脂質構造体は前記両親媒性化合物を0.8~5mоl%含む、請求項1または2に記載のリン脂質構造体の形態制御方法。
【請求項6】
前記リン脂質構造体がコレステロールをさらに含む、請求項1または2に記載のリン脂質構造体の形態制御方法。
【請求項7】
前記リン脂質化合物の一方の相転移温度が25℃以下、他方の相転移温度が25℃を超える、請求項1または2に記載のリン脂質構造体の形態制御方法。
【請求項8】
前記リン脂質化合物がジオレオイルホスファチジルコリン(DOPC)およびジパルミトイルホスファチジルコリン(DPPC)を含むものを用いる、請求項1または2に記載のリン脂質構造体の形態制御方法。
【請求項9】
前記リン脂質構造体が水溶液中で略均一に層を形成し、
前記アニオン性化合物の添加により前記リン脂質構造体の前記層を非均一とし分裂させる、請求項1または2に記載のリン脂質構造体の形態制御方法。
【請求項10】
前記リン脂質構造体が水溶液中でリン脂質二重膜を含むリポソームを形成し、
前記アニオン性化合物の添加により前記リン脂質構造体を前記リポソームよりも粒径の小さいリポソームとする、請求項1または2に記載のリン脂質構造体の形態制御方法。
(【請求項11】以降は省略されています)
発明の詳細な説明
【技術分野】
【0001】
本発明は、生体内の物質輸送やシグナル伝達などに関連する構造体のモデルとなるリン脂質構造体の形態制御方法およびその方法によるリン脂質構造体に関する。
続きを表示(約 3,000 文字)
【背景技術】
【0002】
生体内の細胞は細胞膜を変形させることで、物質輸送やシグナル伝達などの生体現象を機能させており、このような構造や形態の変化を人工的に実現できれば生体分子の機能解析に向けたツールや、薬剤送達システムに利用するキャリア材料としての応用が期待できる。
【0003】
細胞膜様の構造であるリン脂質膜を形成し、リン脂質ベシクルの膜変形を人工分子で制御することができれば、生体分子の機能解析に向けたツールや、高効率な物質封入性を持つキャリア材料などなどへの応用が可能であると考えられる。それら医学,生物学的応用を行う上では、室温や体内温度の一定の温度において膜変形を制御する必要がある。
【0004】
リン脂質膜を制御する方法として、例えば非特許文献1では、浸透圧や光などの外部刺激を利用した、膜変形材料が報告されている。
また、非特許文献2では、静置水和法などで作成されたリポソームへの生体高分子を封入する技術が報告されている。
【先行技術文献】
【非特許文献】
【0005】
R. Lipowsky, Phys. A 1993, 194, 114-127.
Y. Wang, et al. Mol. Pharmaceutics 2019, 16, 779-785.
【発明の概要】
【発明が解決しようとする課題】
【0006】
しかしながら、生体内の現象のような複雑な膜挙動を人工的に制御する手法はこれまで設計が困難であると考えられてきた。膜変形現象は一般的に熱力学的に不安定なプロセスであり、非特許文献1の光や浸透圧をはじめ、電場などの外部刺激によっては、一時的に安定化されるものにすぎない。このため、機能性材料への広い応用が困難であった。
また、非特許文献2は、リポソームへの生体高分子の封入を行うことはできるが、能動的な輸送によらず、封入効率が低いという問題があった。
【0007】
本発明は上記のような事情を鑑みてなされたものであり、その目的は、リン脂質膜上で自己集合することでドメインの形成を誘導する化合物により、リポソームの会合および分裂を制御することができ、生体分子の封入による薬剤送達システム等への応用が可能な、リン脂質構造体の形態制御方法およびリン脂質構造体を提供することにある。
【課題を解決するための手段】
【0008】
上記課題を解決するため、本発明は以下の態様を有する。
[1] 異なる相転移温度を有する2種類以上のリン脂質化合物を含むリン脂質水溶液に対して、
下記一般式(1)で示される両親媒性化合物を添加して、リン脂質構造体を形成させ、
ついで、アニオン性化合物を添加して、前記両親媒性化合物に受容させ、前記リン脂質構造体の形態を制御する、リン脂質構造体の形態制御方法。
TIFF
2025130929000002.tif
43
170
(前記式(1)中、R1は水素または1~10のアミノ酸残基からなるカチオン性ペプチド、R2およびR3は疎水性のアルキル基である。)
[2] 前記一般式(1)の化合物が式(2)~(5)で表される化合物のいずれかを含む、[1]に記載のリン脂質構造体の形態制御方法。
TIFF
2025130929000003.tif
183
170
TIFF
2025130929000004.tif
184
170
TIFF
2025130929000005.tif
207
170
TIFF
2025130929000006.tif
204
170
[3] 前記アニオン性化合物が酸性アミノ酸、核酸またはそれらの重合体である、[1]または[2]に記載のリン脂質構造体の形態制御方法。
[4] 前記アニオン性化合物がアスパラギン酸が2~4個結合した化合物である、[1]~[3]に記載のリン脂質構造体の形態制御方法。
[5] 前記リン脂質構造体は前記両親媒性化合物を0.8~5mоl%含む、[1]~[4]に記載のリン脂質構造体の形態制御方法。
[6] 前記リン脂質構造体がコレステロールをさらに含む、[1]~[5]に記載のリン脂質構造体の形態制御方法。
[7] 前記リン脂質化合物の一方の相転移温度が25℃以下、他方の相転移温度が25℃を超える、[1]~[6]に記載のリン脂質構造体の形態制御方法。
[8] 前記リン脂質化合物がジオレオイルホスファチジルコリン(DOPC)およびジパルミトイルホスファチジルコリン(DPPC)を含むものを用いる、[1]~[7]に記載のリン脂質構造体の形態制御方法。
[9] 前記リン脂質構造体が水溶液中で略均一に層を形成し、
前記アニオン性化合物の添加により前記リン脂質構造体の前記層を非均一とし分裂させる、[1]~[8]に記載のリン脂質構造体の形態制御方法。
[10] 前記リン脂質構造体が水溶液中でリン脂質二重膜を含むリポソームを形成し、
前記アニオン性化合物の添加により前記リン脂質構造体を前記リポソームよりも粒径の小さいリポソームとする、[1]~[9]に記載のリン脂質構造体の形態制御方法。
[11] 前記アニオン性化合物の添加により前記粒径の小さいリポソームに前記アニオン性化合物を含む成分を取り込ませる、[10]に記載のリン脂質構造体の形態制御方法。
[12] [1]~[11]のリン脂質構造体の形態制御方法により形態を制御されたリン脂質構造体。
[13] 前記アニオン性化合物を含む成分がリン脂質二重膜を含むリポソームに取り込まれた、[12]に記載のリン脂質構造体。
[14] アミノ酸、タンパク質、ウィルス又は核酸がリン脂質二重膜を含むリポソームに取り込まれた、[12]~[13]に記載のリン脂質構造体。
【発明の効果】
【0009】
本発明によれば、リン脂質膜上で自己集合することでドメインの形成を誘導する化合物により、リポソームの会合および分裂を制御することができ、生体分子の封入による薬剤送達システム等への応用が可能な、リン脂質構造体の形態制御方法およびリン脂質構造体を提供することができる。
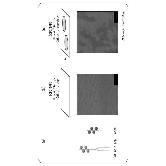
【図面の簡単な説明】
【0010】
Cationic pepを含むリン脂質構造体に対してAsp4を添加した場合の原子間力の作用の模式図および顕微鏡画像である。
静置水和法により形成したCationic pepを含むリン脂質構造体に対してAsp4を添加した場合の電位測定の結果を示すグラフ図である。
単層ベシクルによるリポソームの分裂を示す模式図および顕微鏡画像写真図である。
単層ベシクルによるリポソームの分裂とDNAの封入を示す模式図およびFACSの結果のグラフ図である。
【発明を実施するための形態】
(【0011】以降は省略されています)
この特許をJ-PlatPat(特許庁公式サイト)で参照する
関連特許
国立大学法人東京農工大学
深共晶溶媒
2か月前
国立大学法人東京農工大学
温度調節装置
2か月前
国立大学法人東京農工大学
ヒアルロン酸産生促進剤
3か月前
国立大学法人東京農工大学
パーム酸油の骨格異性化による改質方法
5か月前
国立大学法人東京農工大学
カラーコンタクトレンズおよびその製造方法
2か月前
国立大学法人東京農工大学
リン脂質構造体の形態制御方法およびリン脂質構造体
2か月前
株式会社ワコム
自動採点装置、プログラム、及びシステム
2か月前
株式会社タムロン
メタレンズ、その製造方法および照明装置
5か月前
国立大学法人東京農工大学
両親媒性化合物、リン脂質構造体、およびリン脂質構造体の製造方法
2か月前
三機工業株式会社
下水汚泥焼却灰の肥料化方法
3日前
株式会社ノベルクリスタルテクノロジー
単結晶膜の製造方法及び単結晶膜
4か月前
イスクラ産業株式会社
膀胱がん用抗がん剤の製造方法
1か月前
国立大学法人東京農工大学
活性エネルギー線硬化性コーティング剤用組成物、抗菌性組成物、抗菌性硬化物
1か月前
ペンタリンク株式会社
天然蛋白質原料精製方法及び天然蛋白質原料精製システム
5か月前
国立大学法人東京農工大学
プロピオン酸菌発酵物含有組成物
17日前
大陽日酸株式会社
エピタキシャル膜の製造方法、気相成長装置及びエピタキシャル膜
11日前
国立大学法人 東京大学
非ヒト哺乳動物の腫瘍に対する分子標的抗腫瘍剤のスクリーニング方法
2か月前
個人
酵素連結型アプタマ、ポリアミン検出試薬、ポリアミン検出装置及びポリアミン検出方法
2か月前
クミアイ化学工業株式会社
多形
11日前
東ソー株式会社
タンパク質の発現方法
1か月前
東ソー株式会社
炭素-窒素結合形成方法
4か月前
株式会社トクヤマ
四塩化炭素の製造方法
4か月前
株式会社トクヤマ
シロキサン類の回収方法
4か月前
株式会社半導体エネルギー研究所
有機化合物
11日前
株式会社トクヤマ
ビオチン誘導体の製造方法
3か月前
株式会社半導体エネルギー研究所
有機化合物
2か月前
栗田工業株式会社
ギ酸の回収方法
1か月前
株式会社トクヤマ
チオラクトン誘導体の製造方法
1か月前
東ソー株式会社
イソシアネート化合物の製造方法
2か月前
株式会社トクヤマ
ベンザゼピン化合物の製造方法
3か月前
株式会社トクヤマ
ホルムアミド化合物の製造方法
2か月前
株式会社コスモス
液状炭化水素の増産方法
3か月前
株式会社コスモス
液状炭化水素の増産方法
3か月前
株式会社トクヤマ
チオファニウム塩誘導体の製造方法
13日前
日産化学株式会社
ピラゾール化合物及び有害生物防除剤
3か月前
本田技研工業株式会社
CO2変換方法
1か月前
続きを見る
他の特許を見る