TOP
|
特許
|
意匠
|
商標
特許ウォッチ
Twitter
他の特許を見る
10個以上の画像は省略されています。
公開番号
2025130925
公報種別
公開特許公報(A)
公開日
2025-09-09
出願番号
2024028324
出願日
2024-02-28
発明の名称
シャッターケース
出願人
三和シヤッター工業株式会社
代理人
個人
,
個人
主分類
E06B
9/17 20060101AFI20250902BHJP(戸,窓,シャッタまたはローラブラインド一般;はしご)
要約
【課題】
意匠性及び安全性が向上されたシャッターケースを提供する。
【解決手段】
躯体Wに持ち出し状に固定された左右のブラケット6と、左右のブラケット6を接続する複数本の横材7~9、12、13とからなるケース骨組と、前記ケース骨組に取り付けたケース本体と、からなり、前記ケース本体の上面部、正面部、下面部は、複数枚のケースユニット板(上面ケース板1、下ケース板2)をケース幅方向端部を重ねるようにしてケース幅方向に連設することで形成されており、前記上面部の前端、および/あるいは、前記下面部の後端には、ケースユニット板の重なり部を覆うように、ケース幅方向に延びるカバー(上部カバー4、下部カバー5)が取り付けられている。
【選択図】図19
特許請求の範囲
【請求項1】
躯体に持ち出し状に固定された左右のブラケットと、左右のブラケットを接続する複数本の横材とからなるケース骨組と、
前記ケース骨組に取り付けたケース本体と、からなり、
前記ケース本体の上面部、正面部、下面部は、複数枚のケースユニット板をケース幅方向端部を重ねるようにしてケース幅方向に連設することで形成されており、
前記上面部の前端、および/あるいは、前記下面部の後端には、前記上面部の前端部位、および/あるいは、前記下面部の後端部位を覆うように、ケース幅方向に延びるカバーが取り付けられている、
シャッターケース。
続きを表示(約 1,400 文字)
【請求項2】
前記ケース本体の正面部及び下面部は複数枚の下ケース板からなり、
前記下ケース板は、正面板と下面板とから側面視L形状を備え、正面板及び下面板のケース幅方向端部を重ねるようにしてケース幅方向に連設することで、前記正面部及び前記下面部を形成しており、
前記下面部の後端部位は、各下ケース板の下面板の後端部位及び下面板の重なり部の後端部位を含み、
前記下面部の後端には、前記下面部の後端部位を覆うように、ケース幅方向に延びる下部カバーが取り付けてある、
請求項1に記載のシャッターケース。
【請求項3】
前記下部カバーは、水平状の下辺と、立ち上がり辺と、からなり、前記下辺が、前記後端部位の下面に当接ないし近接し、前記立ち上がり辺が、前記下ケース板の後端縁を覆うように取り付けられている、
請求項2に記載のシャッターケース。
【請求項4】
前記下ケース板の前記下面板の後端部位は、下側の横材に固定されており、
前記下部カバーの前記下辺は、前記後端部位の下面に当接ないし近接して、当該後端部位及び前記下側の横材に止着部材で固定されている、
請求項3に記載のシャッターケース。
【請求項5】
前記ケース本体の上面部は、複数枚の上面ケース板をケース幅方向端部を重ねるようにしてケース幅方向に連設することで形成されており、
前記正面部の上端部位は、上側の横材に止着部材によって固定されており、
前記上面部の前端部位は、各上面ケース板の前端部位及び上面ケース板の重なり部の前端部位を含み、
前記正面部の上端部位は、各下ケース板の正面板の上端部位及び正面板の重なり部の上端部位を含み、
前記上面部の前端及び前記正面部の上端には、前記上面部の前端部位及び前記正面部の上端部位を覆うように、ケース幅方向に延びる上部カバーが取り付けてある、
請求項1~4いずれか1項に記載のシャッターケース。
【請求項6】
前記上部カバーは、前記正面部の前記上端部位及び前記止着部材の頭部を覆う正面部位と、前記上面ケース板の前端部位を覆って当該前端部位に固定される上側部位と、を備えている、
請求項5に記載のシャッターケース。
【請求項7】
前記上部カバーは、前記正面部位の下端から前記正面部に向かって躯体側に延びる下辺を備えている、
請求項6に記載のシャッターケース。
【請求項8】
前記ケース本体は、前記左右のブラケットを覆う左右の側面ケース板を備え、
前記側面ケース板は外側見付辺を備え、前記外側見付辺と前記上部カバーの前記正面部位は略面一であり、
前記正面部は、前記外側見付辺よりも躯体側に位置している、
請求項6に記載のシャッターケース。
【請求項9】
前記側面ケース板は、前記外側見付辺から躯体側に延びる前側見込辺と、前記前側見込辺の躯体側端部から内側に延びる内側見付辺と、を備えており、
前記正面部は前記内側見付辺に当接しており、
前記正面部の幅方向端縁は、前記前側見込辺に当接ないし近接している、
請求項8に記載のシャッターケース。
発明の詳細な説明
【技術分野】
【0001】
本発明は、シャッターケースに関するものである。
続きを表示(約 2,100 文字)
【背景技術】
【0002】
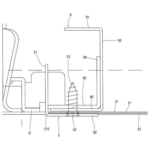
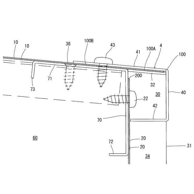
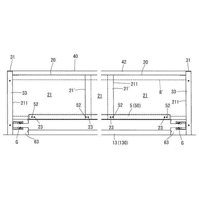
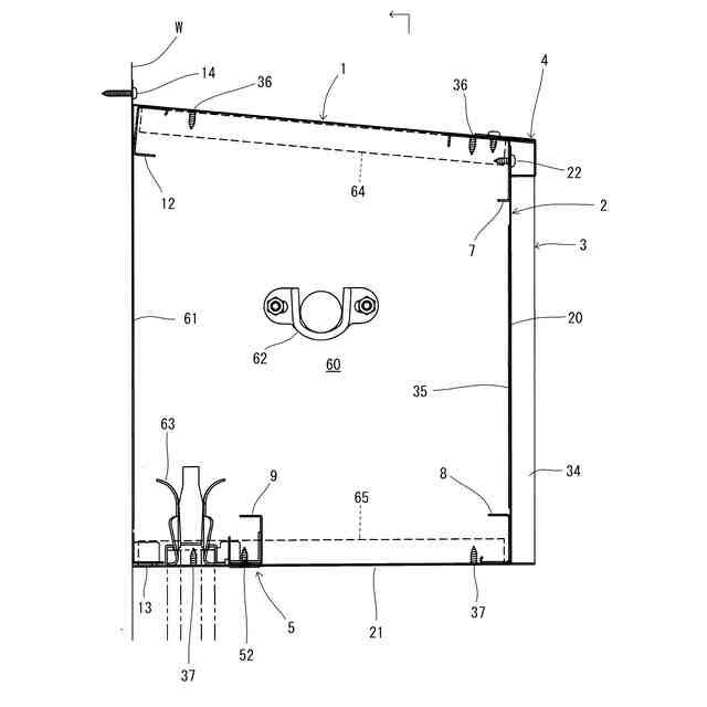
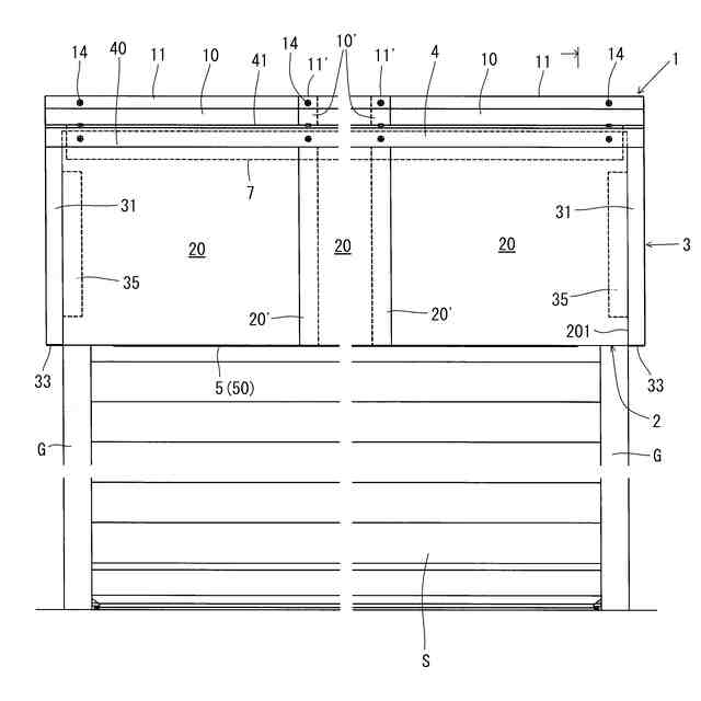
シャッターケースは、躯体に持ち出し状に固定された左右のブラケットと、左右のブラケットを接続する複数本の横材とからなるケース骨組と、前記ケース骨組に取り付けたケース本体と、からなる。一般に、ケース本体は、上面部、正面部、下面部、左右の側面部を備えているが、上面部を上面ケース板から形成し、正面部及び下面部を側面視L形状ないし湾曲状の1枚の板材から形成するものがある。このものでは、正面部の上端部位を螺子で上側の横材に固定することが考えられるが(特許文献1)、螺子がケース正面に露出すると、シャッターケースの意匠性を損ねることになる。
【0003】
また、シャッターが設置される開口幅によっては、ケース本体が、複数枚のケースユニット板をケース幅方向端部を重ねるようにしてケース幅方向に連設することで形成される場合がある(特許文献2、第3図)。下面部を形成するケースユニット板の下面板の後端に折り曲げ辺が形成されておらず、後端縁が露出する場合、あるいは/および、上面部を形成するケースユニット板の上面板の前端に折り曲げ辺が形成されておらず、前端縁が露出する場合には、ケースユニット板の端縁(特に、重なり部の端縁)が目立って、シャッターケースの意匠性を損ねることになる。また、手の届く高さにシャッターケースがある場合には、手が触れる位置にケース板の端縁が露出することは望ましくない。
実開昭62-4587
実開昭54-15445
【発明の開示】
【発明が解決しようとする課題】
【0004】
本発明は、意匠性及び安全性が向上されたシャッターケースを提供することを目的とする。
【課題を解決するための手段】
【0005】
かかる課題を解決するべく本発明が採用した技術手段は、
躯体に持ち出し状に固定された左右のブラケットと、左右のブラケットを接続する複数本の横材とからなるケース骨組と、
前記ケース骨組に取り付けたケース本体と、からなり、
前記ケース本体の上面部、正面部、下面部は、複数枚のケースユニット板をケース幅方向端部を重ねるようにしてケース幅方向に連設することで形成されており、
前記上面部の前端、および/あるいは、前記下面部の後端には、前記上面部の前端部位、および/あるいは、前記下面部の後端部位を覆うように、ケース幅方向に延びるカバーが取り付けられている、
シャッターケース、である。
【0006】
1つの態様では、前記ケース本体の正面部及び下面部は複数枚の下ケース板からなり、
前記下ケース板は、正面板と下面板とから側面視L形状を備え、正面板及び下面板のケース幅方向端部を重ねるようにしてケース幅方向に連設することで、前記正面部及び前記下面部を形成しており、
前記下面部の後端部位は、各下ケース板の下面板の後端部位及び下面板の重なり部の後端部位を含み、
前記下面部の後端には、前記下面部の後端部位を覆うように、ケース幅方向に延びる下部カバーが取り付けてある。
【0007】
1つの態様では、前記下部カバーは、水平状の下辺と、立ち上がり辺と、からなり、前記下辺が、前記後端部位の下面に当接ないし近接し、前記立ち上がり辺が、前記下ケース板の後端縁を覆うように取り付けられている。
【0008】
1つの態様では、前記下ケース板の前記下面板の後端部位は、下側の横材に固定されており、
前記下部カバーの前記下辺は、前記後端部位の下面に当接ないし近接して、当該後端部位及び前記下側の横材に止着部材で固定されている。
止着部材として、螺子やブラインドリベットが例示される。
【0009】
1つの態様では、前記ケース本体の上面部は、複数枚の上面ケース板をケース幅方向端部を重ねるようにしてケース幅方向に連設することで形成されており、
前記正面部の上端部位は、上側の横材に止着部材によって固定されており、
前記上面部の前端部位は、各上面ケース板の前端部位及び上面ケース板の重なり部の前端部位を含み、
前記正面部の上端部位は、各下ケース板の正面板の上端部位及び正面板の重なり部の上端部位を含み、
前記上面部の前端及び前記正面部の上端には、前記上面部の前端部位及び前記正面部の上端部位を覆うように、ケース幅方向に延びる上部カバーが取り付けてある。
止着部材として、螺子やブラインドリベットが例示される。
【0010】
1つの態様では、前記上部カバーは、前記正面部の前記上端部位及び前記止着部材の頭部を覆う正面部位と、前記上面ケース板の前端部位を覆って当該前端部位に固定される上側部位と、を備えている。
後述する実施形態では、上部カバーの上側部位は傾斜状の上辺、正面部位は垂直辺からなり、上辺と垂直辺は角部を形成しているが、上辺の前端部位と垂直辺の上端部位が連続状の湾曲面を係止してもよい。
(【0011】以降は省略されています)
この特許をJ-PlatPat(特許庁公式サイト)で参照する
関連特許
中国電力株式会社
脚立
1か月前
株式会社ESP
止水板
1か月前
株式会社ナカオ
作業台
25日前
三協立山株式会社
構造体
3か月前
三協立山株式会社
構造体
3か月前
三協立山株式会社
開口部装置
1か月前
三協立山株式会社
開口部装置
1か月前
三協立山株式会社
開口部装置
1か月前
三協立山株式会社
開口部装置
27日前
三協立山株式会社
開口部装置
27日前
三協立山株式会社
開口部装置
3か月前
ミサワホーム株式会社
水切り材
1か月前
不二サッシ株式会社
引違いサッシ
1か月前
株式会社TJMデザイン
脚立用ホルダー
2か月前
株式会社ニチベイ
縦型ブラインド
2か月前
三協立山株式会社
サッシの製造方法
26日前
株式会社LIXIL
太陽電池ガラス
6日前
永大産業株式会社
開閉構造体
3か月前
株式会社LIXIL
建具
16日前
株式会社LIXIL
建具
16日前
株式会社LIXIL
建具
16日前
株式会社LIXIL
建具
1か月前
株式会社LIXIL
建具
1か月前
株式会社LIXIL
建具
1か月前
株式会社LIXIL
建具
6日前
株式会社LIXIL
建具
1か月前
株式会社LIXIL
建具
1か月前
株式会社LIXIL
建具
1か月前
三協立山株式会社
エクステリア構成材
1か月前
三和シヤッター工業株式会社
水密構造
1か月前
株式会社大林組
シャッター装置
2か月前
株式会社LIXIL
建具
2か月前
株式会社LIXIL
建具
2か月前
ナブテスコ株式会社
建具及び表示装置
2か月前
株式会社LIXIL
建具
16日前
株式会社LIXIL
建具
1か月前
続きを見る
他の特許を見る