TOP
|
特許
|
意匠
|
商標
特許ウォッチ
Twitter
他の特許を見る
公開番号
2025130352
公報種別
公開特許公報(A)
公開日
2025-09-08
出願番号
2024027474
出願日
2024-02-27
発明の名称
運用条件決定装置、運用条件決定方法、及び、運用条件決定プログラム
出願人
三菱重工業株式会社
代理人
SSIP弁理士法人
主分類
G06Q
50/04 20120101AFI20250901BHJP(計算;計数)
要約
【課題】環境負荷に応じて課される賦課金を考慮して、運用条件を適切に決定する。
【解決手段】本願は、目的物の製造プロセスで用いられる複数の資源を含む運用条件を決定するための運用条件決定装置に関する。本装置は、複数の資源としてそれぞれ選択可能な複数の候補資源について、購入コスト、及び、環境負荷に対応して規定される賦課金に関連付けられた環境指標を含む候補資源情報を取得し、候補資源情報に基づいて、各候補資源について、購入コストに賦課金が加算された実コストを算出する。また本装置は、複数の候補資源の組み合わせごとに、実コストを合計した合計コストを算出し、決定基準に基づいて比較することにより、運用条件を決定する。
【選択図】図1
特許請求の範囲
【請求項1】
目的物の製造プロセスで用いられる複数の資源を含む運用条件を決定するための運用条件決定装置であって、
前記複数の資源としてそれぞれ選択可能な複数の候補資源について、購入コスト、及び、環境負荷に対応して規定される賦課金に関連付けられた環境指標を含む候補資源情報を取得するための候補資源情報取得部と、
前記複数の候補資源の各々について、前記購入コストに前記賦課金が加算された実コストを前記候補資源情報に基づいて算出するための実コスト算出部と、
前記複数の候補資源の組み合わせごとに、前記実コストを合計した合計コストを算出するための合計コスト算出部と、
予め設置された決定基準に基づいて前記合計コストを比較することにより、前記運用条件を決定するための運用条件決定部と、
を備える、運用条件決定装置。
続きを表示(約 1,300 文字)
【請求項2】
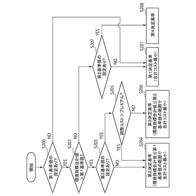
前記運用条件決定部は、前記決定基準として、前記合計コストが最小となるように規定される第1決定基準を用いて前記運用条件を決定する、請求項1に記載の運用条件決定装置。
【請求項3】
前記運用条件決定部は、前記決定基準として、前記組み合わせに含まれる前記候補資源に対応する前記環境指数の合計値が、予め設定された第1基準値以下となる範囲において前記合計コストが最小となるように規定される第2決定基準を用いて前記運用条件を決定する、請求項2に記載の運用条件決定装置。
【請求項4】
前記運用条件決定部は、前記決定基準として、前記合計値が、前記第1基準値より小さい第2基準値以下となる範囲において前記合計コストが最小となるように規定される第3決定基準を用いて前記運用条件を決定する、請求項3に記載の運用条件決定装置。
【請求項5】
前記運用条件決定部は、前記合計コストが最小となる前記組み合わせに含まれる前記候補資源を、前記環境指標の単位量あたりコストが小さい順に変更することにより、前記決定基準を満たす前記運用条件を探索する、請求項1から4のいずれか一項に記載の運用条件決定装置。
【請求項6】
前記運用条件決定部は、前記候補資源の変更による調整コストと、前記候補資源の変更によって得られるプレミアムとを比較することにより、前記運用条件を決定する、請求項4に記載の運用条件決定装置。
【請求項7】
前記組み合わせに含まれる前記候補資源に対応する前記環境指標の合計値に関する基準値に基づいて、前記決定基準を選択するための決定基準選択部を備える、請求項1又は2に記載の運用条件決定装置。
【請求項8】
前記運用条件決定部は、
前記合計値が前記第1基準値を満たし、且つ、前記第2基準値を満たさない場合、前記第1決定基準を用いて決定された前記運用条件を、前記合計値が前記第1基準値になる第1運用条件、及び、前記合計値が前記第2基準値になる第2運用条件に振り分ける第1振分条件と、前記第1振分条件を前記第2運用条件の製造量が増加するように調整した第2振分条件とを作成し、
前記第1振分条件を前記第2振分条件に調整する際のコストがプレミアム増加分より大きい場合、前記第1振分条件に対応する前記運用条件として採用する、請求項4に記載の運用条件決定装置。
【請求項9】
前記運用条件決定部は、前記第1振分条件を前記コストが前記プレミアム増加分以下である場合、前記第2振分条件に対応する前記運用条件として採用する、請求項8に記載の運用条件決定装置。
【請求項10】
前記運用条件決定部は、前記合計値が前記第1基準値を満たし、且つ、前記第2基準値を満たさない場合、前記第1決定基準を用いて決定された前記運用条件の前記合計値を前記第2基準値以下に調整する際に生じるコストがプレミアム増加分以下である場合、調整後の前記運用条件を採用する、請求項4に記載の運用条件決定装置。
(【請求項11】以降は省略されています)
発明の詳細な説明
【技術分野】
【0001】
本開示は、運用条件決定装置、運用条件決定方法、及び、運用条件決定プログラムに関する。
続きを表示(約 2,500 文字)
【背景技術】
【0002】
近年、GX(グリーントランスフォーメーション)実現に向けた政策の一つとして、カーボンプライシング制度の導入が計画されている。カーボンプライシング制度には、主に、排出量取引制度(GX-ETS)と、化石燃料賦課金とが含まれる。前者は、事業者に対して一定枠の二酸化炭素(CO2)を排出できる権利が定められ、その排出できる枠を超える際には、経済的負担を伴う形でオフセットがなされる。後者は、化石燃料に対して輸入時に燃料種に応じて賦課金が課金される仕組みである(例えば非特許文献1)。
【先行技術文献】
【非特許文献】
【0003】
「脱炭素成長型経済構造への円滑な移行の推進に関する法律案[GX推進法]の概要」、ニュースリリース、2022年2月、経済産業省https://www.meti.go.jp/press/2022/02/20230210004/20230210004-1.pdf
【発明の概要】
【発明が解決しようとする課題】
【0004】
カーボンプライシング制度として導入が進められている賦課金は、現状のところ、上記のように環境負荷が比較的大きな化石燃料を対象としている。しかしながら、将来的には、環境負荷が比較的小さい水素・アンモニア、若しくは水素とCO2から合成された水素化合物燃料も賦課金制度の対象に取り込まれる、若しくは新たな賦課金制度が設けられる可能性がある。この場合、水素・アンモニア、若しくは水素とCO2から合成された水素化合物燃料のような目的物を製造するための製造プロセスを運用する事業者には、製造に用いられる原料、電力、燃料や運用時におけるCO2排出量に応じて、賦課金が課されることが予想される。
【0005】
現状計画されている賦課金制度では、水素・アンモニア、若しくは水素とCO2から合成された水素化合物燃料等は化石燃料とは別区別され賦課金の対象外となっているため、製造プロセスを運用する事業者は、賦課金を考慮することなく、原料の購入コストや設備の運用コスト、輸送コストに基づいて、製造プロセスの運用条件を決定できる。しかしながら、上記のように水素・アンモニア、若しくは水素とCO2から合成された水素化合物燃料等の目的物が賦課金の対象になると、適切な製造プロセスの運用のためには、賦課金を考慮した運用条件の決定が求められる。
【0006】
本開示の少なくとも一実施形態は上述の事情に鑑みなされたものであり、環境負荷に応じて課される賦課金を考慮して、運用条件を適切に決定可能な運用条件決定装置、運用条件決定方法、及び、運用条件決定プログラムを提供することを目的とする。
【課題を解決するための手段】
【0007】
本開示の少なくとも一実施形態に係る運用条件決定装置は、上記課題を解決するために、
目的物の製造プロセスで用いられる複数の資源を含む運用条件を決定するための運用条件決定装置であって、
前記複数の資源としてそれぞれ選択可能な複数の候補資源について、購入コスト、及び、環境負荷に対応して規定される賦課金に関連付けられた環境指標を含む候補資源情報を取得するための候補資源情報取得部と、
前記複数の候補資源の各々について、前記購入コストに前記賦課金が加算された実コストを前記候補資源情報に基づいて算出するための実コスト算出部と、
前記複数の候補資源の組み合わせごとに、前記実コストを合計した合計コストを算出するための合計コスト算出部と、
予め設置された決定基準に基づいて前記合計コストを比較することにより、前記運用条件を決定するための運用条件決定部と、
を備える。
【0008】
本開示の少なくとも一実施形態に係る運用条件決定方法は、上記課題を解決するために、
目的物の製造プロセスで用いられる複数の資源を含む運用条件を決定するための運用条件決定方法であって、
前記複数の資源としてそれぞれ選択可能な複数の候補資源について、購入コスト、及び、環境負荷に対応して規定される賦課金に関連付けられた環境指標を含む候補資源情報を取得する工程と、
前記複数の候補資源の各々について、前記購入コストに前記賦課金が加算された実コストを前記候補資源情報に基づいて算出する工程と、
前記複数の候補資源の組み合わせごとに、前記実コストを合計した合計コストを算出する工程と、
予め設置された決定基準に基づいて前記合計コストを比較することにより、前記運用条件を決定する工程と、
を備える。
【0009】
本開示の少なくとも一実施形態に係る運用条件決定プログラムは、上記課題を解決するために、
目的物の製造プロセスで用いられる複数の資源を含む運用条件を決定するための運用条件決定プログラム方法であって、
コンピュータ装置に、
前記複数の資源としてそれぞれ選択可能な複数の候補資源について、購入コスト、及び、環境負荷に対応して規定される賦課金に関連付けられた環境指標を含む候補資源情報を取得する工程と、
前記複数の候補資源の各々について、前記購入コストに前記賦課金が加算された実コストを前記候補資源情報に基づいて算出する工程と、
前記複数の候補資源の組み合わせごとに、前記実コストを合計した合計コストを算出する工程と、
予め設置された決定基準に基づいて前記合計コストを比較することにより、前記運用条件を決定する工程と、
を実行可能である。
【発明の効果】
【0010】
本開示の少なくとも一実施形態によれば、環境負荷に応じて課される賦課金を考慮して、運用条件を適切に決定可能な運用条件決定装置、運用条件決定方法、及び、運用条件決定プログラムを提供できる。
【図面の簡単な説明】
(【0011】以降は省略されています)
この特許をJ-PlatPat(特許庁公式サイト)で参照する
関連特許
三菱重工業株式会社
皮膜形成装置
今日
三菱重工業株式会社
ポンプシステム
今日
三菱重工業株式会社
炭化炉及びその制御方法
今日
三菱重工業株式会社
バーナ及びこれを備えたボイラ
今日
三菱重工業株式会社
バーナ及びこれを備えたボイラ
今日
三菱重工業株式会社
水素製造システム及び水素製造方法
今日
三菱重工業株式会社
電解モジュールの冷却方法及び電解システム
今日
三菱重工業株式会社
タービン架台及びタービン装置並びにタービン架台の製造方法
今日
三菱重工業株式会社
粉砕テーブル及び固体燃料粉砕装置並びに粉砕テーブルの補修方法
今日
三菱重工業株式会社
熱電併給用蒸気生成システム及び熱電併給システム並びに熱電併給用蒸気生成方法
今日
三菱重工業株式会社
炭素強度演算装置、これを用いた合成燃料製造プラント、炭素強度演算方法及び炭素強度演算プログラム
今日
三菱重工業株式会社
CO2回収装置用蒸気生成システム及びこれを備えたCO2回収装置並びにCO2回収装置用蒸気生成方法
今日
個人
地球保全システム
9日前
個人
QRコードの彩色
今日
個人
冷凍食品輸出支援構造
1か月前
個人
為替ポイント伊達夢貯
1か月前
個人
表変換編集支援システム
29日前
個人
残土処理システム
2日前
個人
知財出願支援AIシステム
1か月前
個人
知的財産出願支援システム
3日前
個人
AIによる情報の売買の仲介
1か月前
個人
パスワード管理支援システム
29日前
個人
行動時間管理システム
1か月前
株式会社アジラ
進入判定装置
1か月前
個人
食品レシピ生成システム
8日前
個人
AIキャラクター制御システム
29日前
日本精機株式会社
施工管理システム
1か月前
個人
システム及びプログラム
22日前
個人
パスポートレス入出国システム
1か月前
株式会社キーエンス
受発注システム
8日前
株式会社キーエンス
受発注システム
8日前
個人
海外支援型農作物活用システム
21日前
株式会社キーエンス
受発注システム
8日前
個人
食事受注会計処理システム
1か月前
個人
帳票自動生成型SaaSシステム
3日前
個人
音声対話型帳票生成支援システム
29日前
続きを見る
他の特許を見る