TOP
|
特許
|
意匠
|
商標
特許ウォッチ
Twitter
他の特許を見る
10個以上の画像は省略されています。
公開番号
2025129242
公報種別
公開特許公報(A)
公開日
2025-09-04
出願番号
2025107940,2021081251
出願日
2025-06-26,2021-05-12
発明の名称
硫化物固体電解質の製造方法
出願人
出光興産株式会社
代理人
弁理士法人大谷特許事務所
主分類
H01B
13/00 20060101AFI20250828BHJP(基本的電気素子)
要約
【課題】液相法を用いて硫化物固体電解質を効率的に製造し得る製造方法を提供する。
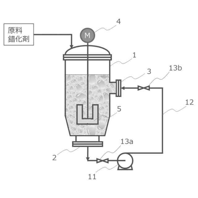
【解決手段】原料同士を反応させる際に粉砕機を使用しない硫化物固体電解質の製造方法であって、硫化リチウム、リン化合物及びハロゲン化合物を含む原料と錯化剤とを反応槽内にて撹拌し、かつ前記反応槽に設置された抜き出し口から前記反応槽内の内容物を含む流体を前記反応槽の外部に抜き出し、前記抜き出された内容物を含む流体を、前記反応槽に設置された戻し口から前記反応槽に戻すことにより前記内容物を含む流体を循環させる、硫化物固体電解質の製造方法である。
【選択図】なし
特許請求の範囲
【請求項1】
抜き出し口及び戻し口が設置される反応槽を有し、
前記反応槽が、前記反応槽内の内容物を含む流体を、前記抜き出し口から前記反応槽の外部に抜き出し、前記戻し口から戻す循環ライン、及び撹拌翼を有する撹拌機を備える、
硫化物固体電解質の製造装置。
続きを表示(約 780 文字)
【請求項2】
前記戻し口が、前記流体の液面よりも下部に設置されている、請求項1に記載の硫化物固体電解質の製造装置。
【請求項3】
前記戻し口が、前記流体の液面よりも下部、かつ前記抜き出し口の設置箇所よりも上部に設置されている、請求項1又は2に記載の硫化物固体電解質の製造装置。
【請求項4】
前記抜き出し口が、前記反応槽内の内容物を含む流体の液面よりも下部に設置されている、請求項1~3のいずれか1項に記載の硫化物固体電解質の製造装置。
【請求項5】
前記抜き出し口が、前記反応槽の底部に設置されている、請求項1~4のいずれか1項に記載の硫化物固体電解質の製造装置。
【請求項6】
前記反応槽及び前記循環ラインの少なくとも一方に、前記反応槽内の温度制御を行う機器を備える請求項1~5のいずれか1項に記載の製造装置。
【請求項7】
前記反応槽及び前記循環ラインが、粉砕機を備えない請求項1~6のいずれか1項に記載の製造装置。
【請求項8】
前記循環ラインに、前記反応槽内の内容物を含む流体を、前記抜き出し口から前記反応槽の外部に抜き出し、前記戻し口から戻すためのポンプを備える請求項1~7のいずれか1項に記載の製造装置。
【請求項9】
前記循環ラインが、前記反応槽内の内容物を含む流体の循環量を調節する流量調節弁を有する請求項1~8のいずれか1項に記載の製造装置。
【請求項10】
前記反応槽内の内容物を含む流体が、硫化リチウム、リン化合物及びハロゲン化合物を含む原料と錯化剤とを、前記撹拌機を用いて撹拌したものである、請求項1~9のいずれか1項に記載の硫化物固体電解質の製造装置。
(【請求項11】以降は省略されています)
発明の詳細な説明
【技術分野】
【0001】
本発明は、硫化物固体電解質の製造方法に関する。
続きを表示(約 3,500 文字)
【背景技術】
【0002】
近年におけるパソコン、ビデオカメラ、及び携帯電話等の情報関連機器や通信機器等の急速な普及に伴い、その電源として利用される電池の開発が重要視されている。従来、このような用途に用いられる電池において可燃性の有機溶媒を含む電解液が用いられていたが、電池を全固体化することで、電池内に可燃性の有機溶媒を用いず、安全装置の簡素化が図れ、製造コスト、生産性に優れることから、電解液を固体電解質層に換えた電池の開発が行われている。
【0003】
固体電解質層に用いられる固体電解質の製造方法としては、固相法と液相法に大別され、さらに液相法には、固体電解質材料を溶媒に完全に溶解させる均一法と、固体電解質材料を完全に溶解させず固液共存の懸濁液を経る不均一法とがある。例えば、固相法としては、硫化リチウム、五硫化二燐等の原料をボールミル、ビーズミル等の装置を用いてメカニカルミリング処理を行い、必要に応じて加熱処理をすることにより、非晶質又は結晶性の固体電解質を製造する方法が知られている(例えば、特許文献1参照)。この方法によれば、硫化リチウム等の原料に機械的応力を加えて固体同士の反応を促進させることにより固体電解質が得られる。
【0004】
一方、液相法のうち均一法としては、固体電解質を溶媒に溶解して再析出させる方法が知られ(例えば、特許文献2参照)、また不均一法としては、極性非プロトン性溶媒を含む溶媒中で硫化リチウム等の固体電解質原料を反応させる方法が知られている(特許文献3、4、及び非特許文献1参照)。例えば、特許文献4には、Li
4
PS
4
I構造の固体電解質の製造方法として、ジメトキシエタン(DME)を使用し、Li
3
PS
4
構造と結合させてLi
3
PS
4
・DMEを得る工程を含むことが開示されている。得られた固体電解質のイオン伝導度は5.5×10
-5
S/cm(カルシウムをドープしたもので3.9×10
-4
S/cm)である。また、特許文献5には、硫化リチウム等の原料を溶媒中で粉砕しつつ反応させる粉砕合成手段(具体的には粉砕機)と、硫化リチウム等の原料を溶媒中で反応させる合成手段(具体的には撹拌翼を備える反応槽)と、を連結して組み合わせた固体電解質製造装置、これを用いた固体電解質の製造方法が開示されている。
【先行技術文献】
【特許文献】
【0005】
国際公開第2017/159667号パンフレット
特開2014-191899号公報
国際公開第2014/192309号パンフレット
国際公開第2018/054709号パンフレット
特開2015-207521号公報
【非特許文献】
【0006】
“CHEMISTRY OF MATERIALS”、2017年、第29号、1830-1835頁
【発明の概要】
【発明が解決しようとする課題】
【0007】
本発明は、このような状況に鑑みてなされたものであり、液相法を用いて硫化物固体電解質を効率的に製造し得る製造方法を提供することを目的とする。
【課題を解決するための手段】
【0008】
本発明者は、上記の課題を解決するべく鋭意検討した結果、下記の事項を見出し、本発明を完成するに至った。
1.反応槽内で硫化物固体電解質の原料だけではなく、錯化剤をも撹拌することで、粉砕を行わずとも原料の反応を促進することができること。
2.その際、反応槽内の内容物を含む流体を、当該反応槽の外部へ循環させる機構を設けることで、当該内容物を含む流体が飛び跳ねて反応槽の内壁に付着するほどの強い撹拌を行わずとも、ハロゲン化リチウム等の比重の大きい原料が、反応槽の底部、とりわけ撹拌翼等の回転軸直下に沈降、停滞する状態を抑制し、反応に寄与しないことによる硫化物固体電解質の組成ずれを抑制し、効率的に反応が促進し、イオン伝導度の高い硫化物固体電解質が得られること。
【0009】
比重の重いハロゲン化リチウムの沈降を抑制することで、Li
2
S及びP
2
S
5
の反応効率低下を抑制できる機構は明らかになっていないが、以下のように考えられる。
硫化リチウム(Li
2
S)は通常、テトラメチルエチレンジアミン(TMEDA)等の錯化剤と錯体を形成せず、あくまで近傍に存在する五硫化二燐(P
2
S
5
)とTMEDAを介して反応し、Li
3
PS
4
を形成するに留まる。一方、ハロゲン化リチウムは錯化剤と錯体を形成しやすいという性質を有するため、Li
2
S近傍にハロゲン化リチウムが存在することで、その結果としてLi
2
Sの近傍におけるTMEDA濃度が向上し、P
2
S
5
との反応が促進されると考えらえる。逆に、ハロゲン化リチウムが沈降して反応場における濃度が低下すると、上記のような反応促進効果が得られず、Li
2
S及びP
2
S
5
の反応効率が頭打ちとなってしまうものと考えられる。
【0010】
本発明者は、当該見出した事項により完成した下記の発明により、上記の課題を解決できることを見出した。
[1]原料同士を反応させる際に粉砕機を使用しない硫化物固体電解質の製造方法であって、硫化リチウム、リン化合物及びハロゲン化合物を含む原料と錯化剤とを反応槽内にて撹拌し、かつ前記反応槽に設置された抜き出し口から前記反応槽内の前記反応による内容物を含む流体を前記反応槽の外部に抜き出し、前記抜き出された内容物を含む流体を、前記反応槽に設置された戻し口から前記反応槽に戻すことにより前記内容物を含む流体を循環させる、硫化物固体電解質の製造方法。
[2]前記原料が二種以上の固体の化合物を含み、最も密度が高い化合物と最も密度が低い化合物との密度の差が、1.0g/cm
3
以上である上記[1]に記載の硫化物固体電解質の製造方法。
[3]前記内容物を含む流体の1分あたりの循環量が、前記反応槽内の前記内容物を含む流体の容量の0.01倍以上5.0倍以下である、上記[1]に記載の硫化物固体電解質の製造方法。
[4]前記反応槽の容量が、30L以上である上記[1]に記載の硫化物固体電解質の製造方法。
[5]前記内容物を含む流体の1分あたりの循環量が、3.5L/分以上100L/分以下である上記[3]に記載の硫化物固体電解質の製造方法。
[6]前記内容物を含む流体を、粉砕工程に供しない上記[1]に記載の硫化物固体電解質の製造方法。
[7]前記抜き出し口が、前記反応槽の底部に設置されている上記[1]に記載の硫化物固体電解質の製造方法。
[8]前記戻し口が、前記反応槽内の内容物を含む流体の液面より下部に設置されている上記[1]に記載の硫化物固体電解質の製造方法。
[9]前記反応槽内の温度制御を行う上記[1]に記載の硫化物固体電解質の製造方法。
[10]前記ハロゲン元素を含む化合物として、臭化リチウム(LiBr)、ヨウ化リチウム(LiI)及び塩化リチウム(LiCl)から選ばれる一種以上を用いる上記[1]に記載の硫化物固体電解質の製造方法。
[11]前記ハロゲン元素を含む化合物として、臭素(Br
2
)及びヨウ素(I
2
)から選ばれる一種以上を用いる上記[1]に記載の硫化物固体電解質の製造方法。
[12]前記錯化剤が、窒素原子を含む上記[1]に記載の硫化物固体電解質の製造方法。
[13]前記錯化剤が、2つ以上のアミノ基を有する上記[1]に記載の硫化物固体電解質の製造方法。
[14]前記錯化剤が、テトラメチルエチレンジアミンである上記[1]に記載の硫化物固体電解質の製造方法。
【発明の効果】
(【0011】以降は省略されています)
この特許をJ-PlatPat(特許庁公式サイト)で参照する
関連特許
出光興産株式会社
熱処理油
25日前
出光興産株式会社
樹脂組成物
26日前
出光興産株式会社
潤滑油基油
26日前
出光興産株式会社
潤滑油組成物
1か月前
出光興産株式会社
潤滑油組成物
1か月前
出光興産株式会社
潤滑油組成物
1か月前
出光興産株式会社
潤滑油組成物
26日前
出光興産株式会社
潤滑油組成物
26日前
出光興産株式会社
熱可塑性樹脂組成物
1か月前
出光興産株式会社
再生絶縁油の製造方法
25日前
出光興産株式会社
リグニン改質物の製造方法
25日前
出光興産株式会社
硫化物固体電解質の製造方法
26日前
出光興産株式会社
潤滑油用添加剤組成物及び潤滑油組成物
1か月前
出光興産株式会社
ポリカーボネート樹脂組成物および成形体
1か月前
出光興産株式会社
バイオマス燃料の製造方法及びバイオマス燃料
25日前
出光興産株式会社
有機エレクトロルミネッセンス素子及び電子機器
1か月前
出光興産株式会社
有機エレクトロルミネッセンス素子及び電子機器
1か月前
出光興産株式会社
化合物、有機エレクトロルミネッセンス素子及び電子機器
26日前
出光興産株式会社
有機エレクトロルミネッセンス素子、化合物、及び電子機器
1か月前
出光興産株式会社
単分散球状非晶質炭酸カルシウム複合体粒子及びその製造方法
1か月前
出光興産株式会社
有機化合物層、有機エレクトロルミネッセンス素子及び電子機器
26日前
出光興産株式会社
化合物、発光素子材料、有機エレクトロルミネッセンス素子及び電子機器
25日前
出光興産株式会社
化合物、発光素子材料、有機エレクトロルミネッセンス素子及び電子機器
1か月前
出光興産株式会社
潤滑油用添加剤組成物、潤滑油用添加剤組成物の製造方法、潤滑油組成物、及び潤滑油組成物の製造方法
1か月前
出光興産株式会社
化合物、有機エレクトロルミネッセンス素子、及び電子機器
1か月前
出光興産株式会社
有機エレクトロルミネッセンス素子、有機エレクトロルミネッセンス装置、電子機器、発光体、太陽電池及び光センサー
1か月前
出光興産株式会社
化合物、有機エレクトロルミネッセンス素子用材料、有機エレクトロルミネッセンス素子、及び電子機器
28日前
合同会社双晶
製炭方法
18日前
東ソー株式会社
絶縁電線
13日前
APB株式会社
蓄電セル
11日前
個人
フレキシブル電気化学素子
25日前
ローム株式会社
半導体装置
1か月前
マクセル株式会社
電源装置
5日前
ローム株式会社
半導体装置
1か月前
日新イオン機器株式会社
イオン源
21日前
ローム株式会社
半導体装置
1か月前
続きを見る
他の特許を見る