TOP
|
特許
|
意匠
|
商標
特許ウォッチ
Twitter
他の特許を見る
10個以上の画像は省略されています。
公開番号
2025127673
公報種別
公開特許公報(A)
公開日
2025-09-02
出願番号
2024024513
出願日
2024-02-21
発明の名称
配管材保持具
出願人
未来工業株式会社
代理人
個人
,
個人
主分類
F16L
3/137 20060101AFI20250826BHJP(機械要素または単位;機械または装置の効果的機能を生じ維持するための一般的手段)
要約
【課題】被覆材の潰れを抑制できる配管材保持具を提供すること。
【解決手段】配管材保持具20の保持部40は、被覆材12の周方向へ変形可能なプレート部61と、プレート部61から幅方向へ帯状に延出され、かつ配管材10を囲繞する部分の一部を形成する締結帯部71と、固定部30に一体化されるとともに、締結帯部71と幅方向に並ぶ位置に配置され、保持部40によって配管材10を囲繞したときに締結帯部71が係合して保持部40によって配管材10を囲繞した状態を維持する維持部41と、を有する。締結帯部71と、当該締結帯部71と係合する維持部41とからなる組は2組設けられている。
【選択図】図10
特許請求の範囲
【請求項1】
構造物に固定される固定部と、
前記固定部に一体の保持部であって、厚さ方向に圧縮変形可能な被覆材で管体を覆った配管材を前記被覆材の外周側から囲繞した状態で保持する前記保持部と、を有する配管材保持具であって、
前記保持部は、
前記配管材を囲繞する部分の少なくとも一部を形成するプレート部であって、前記配管材の長手方向に延在するとともに、前記プレート部の延在方向と直交する幅方向において前記被覆材の周方向へ変形可能な前記プレート部と、
前記プレート部から前記幅方向へ帯状に延出され、かつ前記配管材を囲繞する部分の一部を形成する締結帯部と、
前記固定部に一体化されるとともに、前記締結帯部と前記幅方向に並ぶ位置に配置され、前記保持部によって前記配管材を囲繞したときに前記締結帯部が係合して前記保持部によって前記配管材を囲繞した状態を維持する維持部と、を有し、
前記締結帯部と、当該締結帯部と係合する前記維持部とからなる組は、前記延在方向において複数組設けられていることを特徴とする配管材保持具。
続きを表示(約 410 文字)
【請求項2】
前記延在方向に延びる前記プレート部の縁部のうち、前記締結帯部の延出する縁部には、前記延在方向に隣り合う前記締結帯部の間に位置し、前記延在方向と交差する方向に延びるスリットが形成されている請求項1に記載の配管材保持具。
【請求項3】
前記締結帯部は、前記プレート部からの延出方向に並設された複数の帯部用係合部を有し、
前記維持部は、前記締結帯部の通過する内部空間を画定する維持部本体と、
前記維持部本体に設けられ、前記帯部用係合部と係合する維持部用係合部と、を有し、
前記維持部用係合部は、前記内部空間に挿通された前記締結帯部の、前記配管材を囲繞する囲繞空間を狭める方向への移動を許容する位置に配置可能であるとともに、
前記帯部用係合部への係合によって前記囲繞空間を広げる方向への移動を規制する位置に配置可能である請求項1又は請求項2に記載の配管材保持具。
発明の詳細な説明
【技術分野】
【0001】
本発明は、配管材保持具に関する。
続きを表示(約 2,100 文字)
【背景技術】
【0002】
例えば、天井裏において、水平方向に長手が延びるように敷設された配管材は、複数の配管材保持具によって保持された状態で天井から吊り下げられている。配管材保持具の吊下げは、天井に固定された吊りボルトに配管材保持具を固定したり、天井に配管材保持具を直接固定したりして行われる。
【0003】
また、配管材には、断熱材等の低強度の被覆材で管体を覆ったものがある。配管材保持具によって配管材が下方から支持されたとき、被覆材における配管材保持具に支持された箇所には、配管材の自重により、荷重が集中する。この荷重の集中によって被覆材が潰れることを抑制するため、例えば、特許文献1に開示の吊り金具用補助部材のように、配管材を長尺かつアール形状の部材で支持することが提案されている。吊り金具用補助部材は、吊り金具が有するバンド部に支持されるとともに、配管材とバンド部との間に介在させて用いられる。吊り金具用補助部材は、バンド部に比べると、配管材の長手方向に長い長板状であるため、バンド部だけで配管材を支持する場合と比べて、配管材の自重を分散して支承できる。これにより、バンド部だけで配管材を支持した場合と比べると、配管材の被覆部の潰れを抑制できる。
【先行技術文献】
【特許文献】
【0004】
特開2009-133430号公報
【発明の概要】
【発明が解決しようとする課題】
【0005】
ところが、特許文献1に開示の吊り金具用補助部材を用いた場合、バンド部から延びる吊り金具用補助部材が、バンド部からの延出方向の先に向かうに従い垂れ下がってしまう場合がある。この場合、吊り金具用補助部材を用いても、配管材は、バンド部によって局所的に支持されるため、被覆材に集中する荷重が大きくなって被覆材が潰れてしまう。
【課題を解決するための手段】
【0006】
上記課題を解決するための配管材保持具は、構造物に固定される固定部と、前記固定部に一体の保持部であって、厚さ方向に圧縮変形可能な被覆材で管体を覆った配管材を前記被覆材の外周側から囲繞した状態で保持する前記保持部と、を有する配管材保持具であって、前記保持部は、前記配管材を囲繞する部分の少なくとも一部を形成するプレート部であって、前記配管材の長手方向に延在するとともに、前記プレート部の延在方向と直交する幅方向において前記被覆材の周方向へ変形可能な前記プレート部と、前記プレート部から前記幅方向へ帯状に延出され、かつ前記配管材を囲繞する部分の一部を形成する締結帯部と、前記固定部に一体化されるとともに、前記締結帯部と前記幅方向に並ぶ位置に配置され、前記保持部によって前記配管材を囲繞したときに前記締結帯部が係合して前記保持部によって前記配管材を囲繞した状態を維持する維持部と、を有し、前記締結帯部と、当該締結帯部と係合する前記維持部とからなる組は、前記延在方向において複数組設けられていることを要旨とする。
【0007】
配管材保持具について、前記延在方向に延びる前記プレート部の縁部のうち、前記締結帯部の延出する縁部には、前記延在方向に隣り合う前記締結帯部の間に位置し、前記延在方向と交差する方向に延びるスリットが形成されていてもよい。
【0008】
配管材保持具について、前記締結帯部は、前記プレート部からの延出方向に並設された複数の帯部用係合部を有し、前記維持部は、前記締結帯部の通過する内部空間を画定する維持部本体と、前記維持部本体に設けられ、前記帯部用係合部と係合する維持部用係合部と、を有し、前記維持部用係合部は、前記内部空間に挿通された前記締結帯部の、前記配管材を囲繞する囲繞空間を狭める方向への移動を許容する位置に配置可能であるとともに、前記帯部用係合部への係合によって前記囲繞空間を広げる方向への移動を規制する位置に配置可能であってもよい。
【発明の効果】
【0009】
本発明は、被覆材の潰れを抑制できる。
【図面の簡単な説明】
【0010】
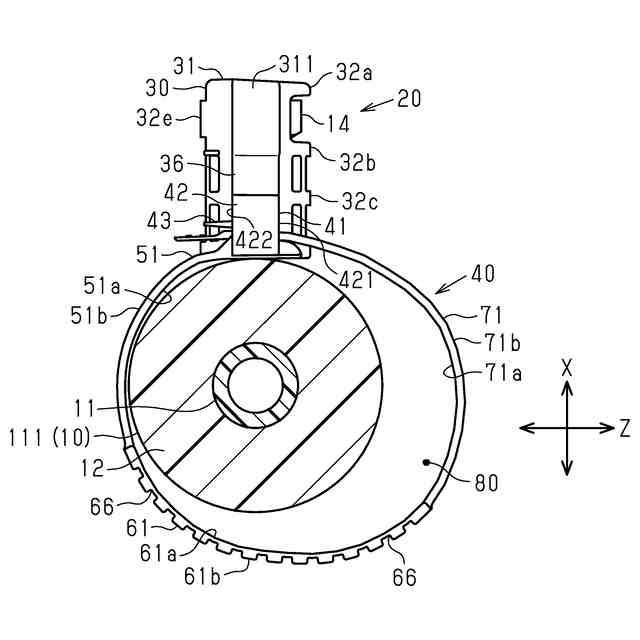
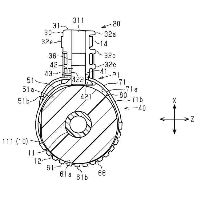
図1は、配管材保持具を示す斜視図である。
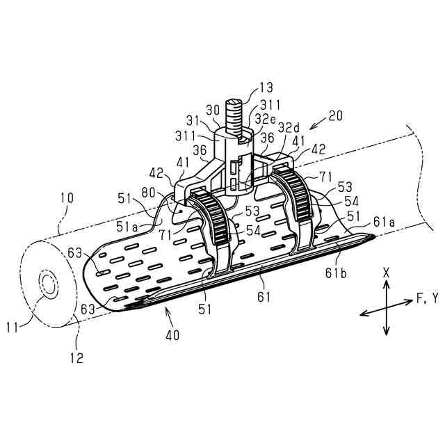
図2は、配管材の保持構造を示す斜視図である。
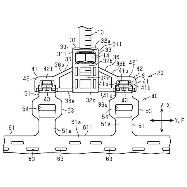
図3は、配管材保持具の一部を拡大して示す正面図である。
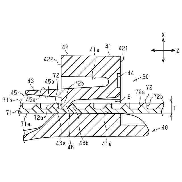
図4は、維持部の拡大断面図である。
図5は、締結帯部を拡大して示す斜視図である。
図6は、吊りボルトに固定部を固定した状態を示す拡大正面図である。
図7は、配管材保持具を保持する前の状態を示す斜視図である。
図8は、囲繞空間を画定した状態を示す断面図である。
図9は、大径配管材を保持した状態を示す側断面図である。
図10は、大径配管材を保持した状態を示す部分斜視図である。
図11は、小径配管材を保持した状態を示す側断面図である。
【発明を実施するための形態】
(【0011】以降は省略されています)
この特許をJ-PlatPat(特許庁公式サイト)で参照する
関連特許
未来工業株式会社
取付体
1か月前
未来工業株式会社
スリーブ
1日前
未来工業株式会社
カバーおよび設置装置
7日前
未来工業株式会社
カバーおよび配線器具設置装置
7日前
未来工業株式会社
取着体、及び配線用ポ-ル装置
20日前
未来工業株式会社
ボックスカバー及び配線ボックス装置
5日前
未来工業株式会社
貫通孔用固定台座、及び固定台座装置
1か月前
未来工業株式会社
配線・配管材保持機構、及び保護カバー
6日前
未来工業株式会社
配線ボックス装置及び配線ボックス設置構造
5日前
未来工業株式会社
固定体、設置体の固定構造、設置体固定装置及び固定体装置
7日前
個人
留め具
15日前
個人
鍋虫ねじ
2か月前
個人
紛体用仕切弁
2か月前
個人
ホース保持具
6か月前
個人
回転伝達機構
2か月前
個人
差動歯車用歯形
4か月前
個人
給排気装置
22日前
個人
ジョイント
1か月前
個人
地震の揺れ回避装置
3か月前
株式会社不二工機
電磁弁
5か月前
個人
ナット
1か月前
株式会社不二工機
電磁弁
3か月前
個人
吐出量監視装置
1か月前
カヤバ株式会社
ダンパ
4か月前
カヤバ株式会社
ダンパ
4か月前
カヤバ株式会社
緩衝器
21日前
カヤバ株式会社
緩衝器
3か月前
カヤバ株式会社
緩衝器
3か月前
柿沼金属精機株式会社
分岐管
2か月前
個人
固着具と固着具の固定方法
5か月前
アズビル株式会社
回転弁
1か月前
株式会社ノーリツ
分配弁
5か月前
株式会社三五
ドライブシャフト
7日前
個人
固着具と固着具の固定方法
6か月前
株式会社タカギ
水栓装置
2か月前
株式会社ノーリツ
分配弁
5か月前
続きを見る
他の特許を見る