TOP
|
特許
|
意匠
|
商標
特許ウォッチ
Twitter
他の特許を見る
公開番号
2025126466
公報種別
公開特許公報(A)
公開日
2025-08-29
出願番号
2024022665
出願日
2024-02-19
発明の名称
実火災訓練装置
出願人
JFEプロジェクトワン株式会社
代理人
個人
,
個人
,
個人
主分類
G09B
9/00 20060101AFI20250822BHJP(教育;暗号方法;表示;広告;シール)
要約
【課題】訓練対象者が高温に曝されない実火災訓練装置の耐久性を高める。
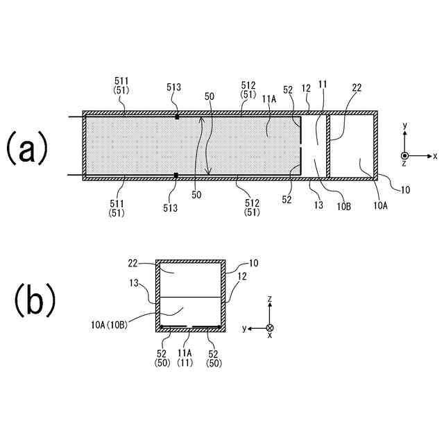
【解決手段】本体部の底面11側かつ側面側において、x方向負側から底板11Aの燃焼部側端部まで延伸する散水機構が設けられる。散水機構は、x方向に沿って延伸して内部を水が流される通水部と、通水部の燃焼部側端部に接続されこれと直交して延伸する散水部52を具備する。実線の形態(第1の状態)では、散水部52は、訓練対象者が足を置く底板11Aの上にある。散水を行わない場合には、散水部52は点線の形態(第2の状態)とされる。
【選択図】図5
特許請求の範囲
【請求項1】
水平方向に沿った第1の方向を長手方向として延伸する略矩形体形状の内部空間を有する本体部の内部において、燃焼を生じさせることにより発煙をする燃焼部と、訓練対象者を収容する空間である訓練室とが、前記第1の方向で隣接して形成された実火災訓練装置であって、
前記訓練室と前記燃焼部とは、前記第1の方向と交差する板状の構成を具備する煙区画板によって前記本体部の内部における上側では前記第1の方向で仕切られ、かつ前記本体部の内部における下側で前記第1の方向で連通するように構成され、
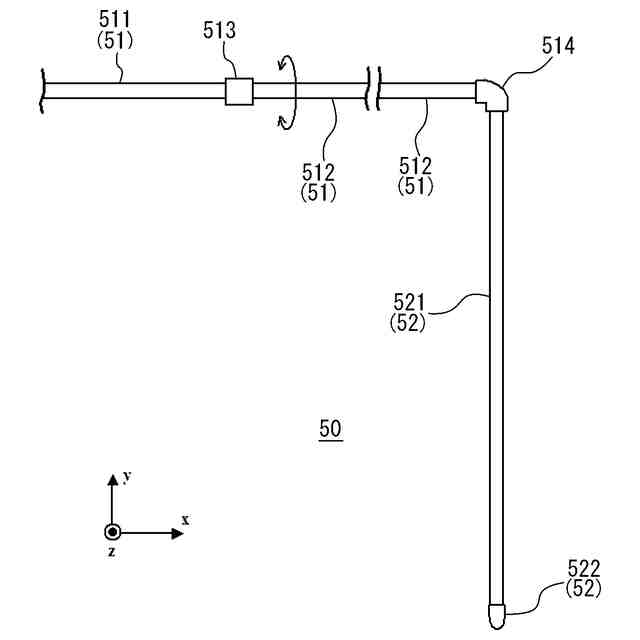
前記第1の方向に沿って前記燃焼部がある側と反対側から前記燃焼部がある側に向けて延伸し、水平方向において前記第1の方向と垂直な第2の方向と交差する前記訓練室の内部の2つの側面のうちの一方、及び前記訓練室の内部の底面、に近接して前記訓練室の内部に固定され、冷却水が内部で流される通水部と、
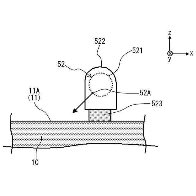
前記通水部の前記燃焼部側の端部と接続されて前記冷却水が流され、前記第1の方向と交差する方向で延伸し、当該方向の周りで前記冷却水を噴出させるように前記訓練室の内部において設けられ、前記通水部に対して前記第1の方向の周りで回動可能とされた散水部と、
を有し、
前記散水部の前記通水部と反対側の端部が2つの前記側面のうちの他方の側に移動するように前記散水部を回動させることにより前記散水部を前記底面と近接させた第1の状態と、
前記散水部の前記端部が2つの前記側面のうちの前記一方の側に移動するように前記散水部を回動させることにより前記散水部を2つの前記側面のうちの前記一方の側と近接させた第2の状態と、
が切り替え可能とされた散水機構を具備することを特徴とする実火災訓練装置。
続きを表示(約 330 文字)
【請求項2】
2つの前記側面の各々を前記一方として、2つの前記側面の各々に対応して前記散水機構がそれぞれ設けられたことを特徴とする請求項1に記載の実火災訓練装置。
【請求項3】
前記散水部において、前記散水部の延伸方向に沿って複数設けられた散水孔から前記冷却水が噴出することを特徴とする請求項1又は2に記載の実火災訓練装置。
【請求項4】
前記本体部の底面は、前記燃焼部が形成された側で前記訓練室が形成された側よりも高くなるように設置されたことを特徴とする請求項1又は2に記載の実火災訓練装置。
【請求項5】
前記底面は、木材で構成された表面を具備することを特徴とする請求項1又は2に記載の実火災訓練装置。
発明の詳細な説明
【技術分野】
【0001】
本発明は、耐久性が高く訓練対象者が高温に曝されない実火災訓練装置に関する。
続きを表示(約 1,600 文字)
【背景技術】
【0002】
実際の火災と同様に木材等を燃焼させて濃煙を発生させた環境下で訓練を行わせるための実火災訓練装置が用いられている。こうした実火災訓練装置の構造は、例えば特許文献1に記載されている。
【0003】
図7は、特許文献1に記載された実火災訓練装置9の構造を簡略化して示す透視斜視図である。この実火災訓練装置9においては、図中水平方向を長手方向(x方向)とする略矩形体形状の内部空間を有する本体部10が用いられる。本体部10の図中右側(x方向正側)の端部付近には、燃焼台21が設置され、この上で可燃対象物Aが着火されて燃焼する。この領域の左側には、板状の煙調整フラッパー(煙区画板)22が本体部10の上側の領域のみを仕切るように本体部10の内側に設置される。訓練対象者Hは、本体部10の図中左側に連結された前室30から本体部10の図中左側の端面に形成された扉23を通ってこの本体部10内に侵入することができる。
【0004】
図7の構造において、訓練対象者Hは右側の煙調整フラッパー22と左側の扉23の間に位置し、所望の訓練作業をすることができる。この際、燃焼が発生しているのは煙調整フラッパー22よりも右側となるため、本体部10の内部の空間は、煙調整フラッパー22を境界として、その右側(x方向正側)が燃焼部10A、左側(x方向負側)が訓練室10Bとなる。図7において、濃煙Sは煙調整フラッパーの下側を通り燃焼部10Aから訓練室10Bに流れ、扉23近くの天井に設けられた排気口24から排煙処理部40に流れる。
【0005】
訓練室10Bでは、図示されるように、濃煙Sが存在する内部空間の上部側における高温の領域である濃煙ゾーンと、下部側において低温であり濃煙Sによって視界が遮られない可視ゾーンとが形成される。このため、訓練対象者Hは可視ゾーンで活動をすることができるが、燃焼部10A近傍では、燃焼部10Aからの輻射熱によって、可視ゾーンの温度も上昇する。
【0006】
排煙処理部40は、排気口24から濃煙Sを排気し、例えば燃焼等の処理を行うことによって無害化して外気に排出する。
【0007】
上記の構成を実現するためには、少なくとも本体部10の内部には燃焼部10Aと、訓練対象者Hが活動できる訓練室10Bを設けることが必要であるため、本体部10は大型となる。このため、特許文献1に記載されるように、このような本体部10は、例えばISO規格の鋼製の40ftコンテナ(外寸長さ約12m、幅2.4m、高さ2.6m)を基にして、これに扉23等を設けて得られる。これによって、本体部10自身を安価とし、かつその機械的強度等を容易に確保することができる。
【0008】
訓練室10B内では燃焼中においても、特に内部空間の下部側では訓練対象者Hが活動できる程度の温度に維持される。これに対して、本体部10は前記のように熱伝導率が高い鋼製であるため、実際には訓練室10B内の底面には断熱のためにベニヤ板等が敷設される。これにより、訓練対象者Hに対する床面側からの燃焼部10Aからの熱伝導は抑制され、訓練対象者Hは安全に訓練を行うことができる。
【先行技術文献】
【特許文献】
【0009】
特開2011-34024号公報
【発明の概要】
【発明が解決しようとする課題】
【0010】
上記の構造においては、訓練室10Bの床面のベニヤ板は燃焼部10Aからの輻射熱によって高温となり、焼損する場合があった。あるいは、同様に輻射熱によって訓練対象者Hのいる空間の温度も上昇することがあった。
(【0011】以降は省略されています)
特許ウォッチbot のツイートを見る
この特許をJ-PlatPat(特許庁公式サイト)で参照する
関連特許
個人
回転式カード学習具
1か月前
日本精機株式会社
表示装置
21日前
個人
時刻表示機能つき手帳
2か月前
日本精機株式会社
表示装置
1か月前
個人
計算用教具
17日前
中国電力株式会社
標示旗
27日前
日本精機株式会社
車両用表示装置
2か月前
日本精機株式会社
車両用表示装置
2か月前
日本精機株式会社
車両用表示装置
2か月前
日本精機株式会社
車両用センサ装置
17日前
個人
モデルで薔薇の花嫁様を描く為
1か月前
個人
微細構造を模した理科学習教材
今日
株式会社一弘社
情報表示板
1か月前
シャープ株式会社
表示装置
28日前
株式会社ウメラボ
学習支援システム
7日前
個人
音楽教材
1か月前
株式会社ウメラボ
学習支援システム
13日前
株式会社半導体エネルギー研究所
半導体装置
2か月前
ニチレイマグネット株式会社
磁着式電飾装置
27日前
株式会社リコー
画像投射システム
28日前
リンテック株式会社
表示体
6日前
学校法人関西医科大学
腹腔鏡手術訓練装置
27日前
シチズンファインデバイス株式会社
液晶表示装置
2か月前
BEST株式会社
吊り下げ表示部材
1か月前
株式会社サンゲツ
見本帳
2か月前
シチズンファインデバイス株式会社
液晶表示装置
1か月前
シャープ株式会社
表示装置
2か月前
シャープ株式会社
表示装置
2か月前
セイコーエプソン株式会社
表示方法
1か月前
セイコーエプソン株式会社
表示方法
1か月前
ニデックインスツルメンツ株式会社
情報処理装置
2か月前
リンテック株式会社
粘着ラベル
7日前
ニプロ株式会社
シミュレータ
1か月前
ローム株式会社
暗号化装置
7日前
TOPPANホールディングス株式会社
ラベル
17日前
個人
トレーニング用具
2か月前
続きを見る
他の特許を見る