TOP
|
特許
|
意匠
|
商標
特許ウォッチ
Twitter
他の特許を見る
公開番号
2025123702
公報種別
公開特許公報(A)
公開日
2025-08-25
出願番号
2024019317
出願日
2024-02-13
発明の名称
電子時計、電子時計の制御方法及びプログラム
出願人
カシオ計算機株式会社
代理人
弁理士法人光陽国際特許事務所
主分類
G04F
8/02 20060101AFI20250818BHJP(時計)
要約
【課題】経過時間の計測結果を直感的にわかりやすく表示する。
【解決手段】電子時計は、複数の指針と、正時に対応する時字を有する文字板と、複数の指針によって現在時刻を表示させる時刻表示モードと、所定の開始操作がなされてからの経過時間の計測結果を複数の指針によって表示させる計測時間表示モードと、を切り替え可能な制御部と、を備え、制御部は、計測時間表示モードにおいて計測結果を表示させる場合に、複数の指針がそれぞれいずれかの時字を指し示す位置で停止するように複数の指針を制御する。
【選択図】図4
特許請求の範囲
【請求項1】
複数の指針と、
正時に対応する時字を有する文字板と、
前記複数の指針によって現在時刻を表示させる時刻表示モードと、所定の開始操作がなされてからの経過時間の計測結果を前記複数の指針によって表示させる計測時間表示モードと、を切り替え可能な制御部と、
を備え、
前記制御部は、前記計測時間表示モードにおいて前記計測結果を表示させる場合に、前記複数の指針がそれぞれいずれかの前記時字を指し示す位置で停止するように前記複数の指針を制御する、
電子時計。
続きを表示(約 1,400 文字)
【請求項2】
前記制御部は、前記計測時間表示モードにおいて前記計測結果を表示させる場合に、前記計測結果を表す互いに異なる時間単位の数値に対応する前記時字を前記複数の指針がそれぞれ指し示すように前記複数の指針を制御する、
請求項1に記載の電子時計。
【請求項3】
前記制御部は、前記複数の指針にそれぞれ対応する前記時間単位の設定を変更するための変更操作がなされた場合に、当該変更操作の内容に応じて前記時間単位の設定を変更する、
請求項2に記載の電子時計。
【請求項4】
前記制御部は、計測された前記経過時間の長さに応じて、前記複数の指針により前記経過時間の前記計測結果を表示可能となるように前記複数の指針にそれぞれ対応する前記時間単位を設定する、
請求項2に記載の電子時計。
【請求項5】
前記複数の指針は、時針、分針及び秒針を有し、
前記制御部は、前記計測時間表示モードにおいて前記計測結果を表示させる場合に、前記時針が第1の時間単位の数値に対応する前記時字を指し示し、前記分針が前記第1の時間単位に次ぐ大きさの第2の時間単位の数値に対応する前記時字を指し示し、前記秒針が前記第2の時間単位に次ぐ大きさの第3の時間単位の数値に対応する前記時字を指し示すように前記複数の指針を制御する、
請求項2に記載の電子時計。
【請求項6】
前記制御部は、前記計測時間表示モードにおいて、前記経過時間の計測中には前記複数の指針を停止させる、
請求項2に記載の電子時計。
【請求項7】
前記制御部は、前記計測時間表示モードにおいて、前記経過時間の計測中に、前記経過時間を表示するように前記複数の指針のうち少なくとも1つの指針を運針させる、
請求項2に記載の電子時計。
【請求項8】
前記正時に対応する時字は、1時から12時までの各時に対応する時字である、
請求項1に記載の電子時計。
【請求項9】
複数の指針と、正時に対応する時字を有する文字板と、を備えた電子時計の制御方法であって、
前記複数の指針によって現在時刻を表示させる時刻表示モードと、所定の開始操作を受け付けてからの経過時間の計測結果を前記複数の指針によって表示させる計測時間表示モードと、を切り替え可能であり、
前記計測時間表示モードにおいて前記計測結果を表示させる場合に、前記複数の指針がそれぞれいずれかの前記時字を指し示す位置で停止するように前記複数の指針を制御する、
電子時計の制御方法。
【請求項10】
複数の指針と、正時に対応する時字を有する文字板と、を備えた電子時計のコンピュータを、
前記複数の指針によって現在時刻を表示させる時刻表示モードと、所定の開始操作を受け付けてからの経過時間の計測結果を前記複数の指針によって表示させる計測時間表示モードと、を切り替え可能な制御手段、
として機能させ、
前記制御手段は、前記計測時間表示モードにおいて前記計測結果を表示させる場合に、前記複数の指針がそれぞれいずれかの前記時字を指し示す位置で停止するように前記複数の指針を制御する、
プログラム。
発明の詳細な説明
【技術分野】
【0001】
本発明は、電子時計、電子時計の制御方法及びプログラムに関する。
続きを表示(約 1,500 文字)
【背景技術】
【0002】
従来、複数の指針及び文字板を用いてアナログ方式で時刻を表示する電子時計がある。このような電子時計には、指定時点からの経過時間の計測結果を複数の指針により表示するストップウォッチ機能を搭載したものがある(例えば、特許文献1)。
【先行技術文献】
【特許文献】
【0003】
特開平3-211490号公報
【発明の概要】
【発明が解決しようとする課題】
【0004】
しかしながら、時刻を表示するための時字や目盛りが設けられた文字板を経過時間の表示に転用すると、各指針が指し示す時字や目盛りの意味が時刻表示時と相違する場合があるので、指針の指示位置から一見して経過時間を正確に読み取るのが容易でないという課題がある。
【0005】
本発明は、経過時間の計測結果を直感的にわかりやすく表示することを目的とする。
【課題を解決するための手段】
【0006】
上記課題を解決するため、本発明に係る電子時計は、
複数の指針と、
正時に対応する時字を有する文字板と、
前記複数の指針によって現在時刻を表示させる時刻表示モードと、所定の開始操作がなされてからの経過時間の計測結果を前記複数の指針によって表示させる計測時間表示モードと、を切り替え可能な制御部と、
を備え、
前記制御部は、前記計測時間表示モードにおいて前記計測結果を表示させる場合に、前記複数の指針がそれぞれいずれかの前記時字を指し示す位置で停止するように前記複数の指針を制御する。
【発明の効果】
【0007】
本発明によれば、経過時間の計測結果を直感的にわかりやすく表示することができる。
【図面の簡単な説明】
【0008】
電子時計の外観を示す図である。
電子時計の機能構成を示すブロック図である。
時刻表示モードで動作中の表示部を示す図である。
経過時間の計測結果を表示している表示部を示す図である。
時間単位テーブルの内容を示す図である。
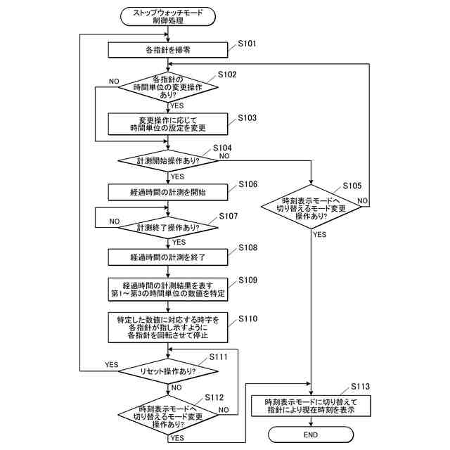
ストップウォッチモード制御処理の制御手順を示すフローチャートである。
変形例1に係る電子時計の経過時間の計測中における動作を示す図である。
変形例1に係る電子時計が経過時間の計測結果を表示している状態を示す図である。
【発明を実施するための形態】
【0009】
以下、本発明の実施の形態を図面に基づいて説明する。図1は、電子時計1の外観を示す図である。電子時計1は、表示部20及び図示略の回路基板等が内部に格納された筐体101と、筐体101に取り付けられた2本のバンド102とを備える。電子時計1は、バンド102を手首に巻き回すことでユーザの手首に装着されて用いられる腕時計である。筐体101の側面には、ユーザの操作を受け付けるための複数の操作ボタン31が設けられている。
【0010】
図2は、電子時計1の機能構成を示すブロック図である。電子時計1は、CPU11(Central Processing Unit)(制御部、制御手段)と、RAM12(Random Access Memory)と、記憶部13と、表示部20と、操作部30と、計時部40と、報知部50と、を備える。電子時計1の各部は、バス等のデータ伝送経路を介して接続されている。
(【0011】以降は省略されています)
この特許をJ-PlatPat(特許庁公式サイト)で参照する
関連特許
カシオ計算機株式会社
印刷装置
3日前
カシオ計算機株式会社
電子装置
11日前
カシオ計算機株式会社
報知システム及び報知方法
13日前
カシオ計算機株式会社
調整装置、方法及びプログラム
11日前
カシオ計算機株式会社
発音装置、発音方法及びプログラム
13日前
カシオ計算機株式会社
情報処理装置、方法およびプログラム
13日前
カシオ計算機株式会社
検索装置、検索方法、及び、プログラム
3日前
カシオ計算機株式会社
電子機器、通知制御方法及びプログラム
12日前
カシオ計算機株式会社
電子機器、入力制御方法、及びプログラム
今日
カシオ計算機株式会社
印刷装置、ラベル作成方法及びプログラム
3日前
カシオ計算機株式会社
軌跡生成方法、軌跡生成装置及びプログラム
13日前
カシオ計算機株式会社
情報処理装置、情報処理方法及びプログラム
13日前
カシオ計算機株式会社
情報処理方法、プログラム及び情報処理装置
20日前
カシオ計算機株式会社
人材管理装置、人材管理方法、及びプログラム
13日前
カシオ計算機株式会社
情報処理装置、印刷装置、方法およびプログラム
13日前
カシオ計算機株式会社
情報処理装置、演奏装置、方法およびプログラム
12日前
カシオ計算機株式会社
電子機器、電源供給状態表示方法およびプログラム
10日前
カシオ計算機株式会社
カバー付き電子機器
3日前
カシオ計算機株式会社
スイッチ装置および時計
13日前
カシオ計算機株式会社
スタンド、鍵盤楽器セット
10日前
カシオ計算機株式会社
音量制御装置、電子楽器、音量制御方法及びプログラム
10日前
個人
砂時計
1か月前
個人
目覚し時計
2か月前
個人
時刻同期システム
1か月前
セイコーウオッチ株式会社
時計
18日前
個人
自照式の針により認視性を高めたアナログ式時計
3か月前
セイコーエプソン株式会社
電子時計
2か月前
セイコーエプソン株式会社
電子時計
18日前
ローム株式会社
時間測定回路
19日前
シチズン時計株式会社
腕時計
17日前
株式会社村田製作所
光学的パターン表示物品
24日前
シチズン時計株式会社
電子時計
1か月前
セイコーエプソン株式会社
電子制御式機械時計
26日前
シチズン時計株式会社
機械式時計
2か月前
シチズン時計株式会社
機械式時計
3か月前
シチズン時計株式会社
機械式時計
1か月前
続きを見る
他の特許を見る