TOP
|
特許
|
意匠
|
商標
特許ウォッチ
Twitter
他の特許を見る
10個以上の画像は省略されています。
公開番号
2025123537
公報種別
公開特許公報(A)
公開日
2025-08-22
出願番号
2025106648,2023209489
出願日
2025-06-24,2019-10-31
発明の名称
情報処理装置、情報処理方法、及びプログラム
出願人
株式会社MIXI
代理人
主分類
A63F
13/46 20140101AFI20250815BHJP(スポーツ;ゲーム;娯楽)
要約
【課題】 ゲーム中のイベントを繰り返しプレイしようとするプレイヤの意欲を喚起させることを目的とする。
【解決手段】 本発明の情報処理装置は、プレイヤがゲーム内のイベントをプレイしてイベントの達成条件を満たした場合にプレイヤに対してポイントを付与するポイント付与部115と、プレイヤに対して付与されたポイントを、イベントを分類するために設定された複数の系統のうち、プレイヤがプレイしたイベントの系統と関連付けて系統毎に記録するポイント記録部としてのデータ記録部113と、系統毎に記録されたポイントが特典付与条件を満たした場合にプレイヤに対して特典を付与する特典付与部116と、を有する。
【選択図】図4
特許請求の範囲
【請求項1】
プレイヤがゲーム内のイベントをプレイして前記イベントの達成条件を満たした場合に、前記プレイヤに対してポイントを付与するポイント付与部と、
前記プレイヤに対して付与された前記ポイントを、前記イベントを分類するために設定された複数の系統のうち、前記プレイヤがプレイした前記イベントの前記系統と関連付けて前記系統毎に記録するポイント記録部と、
前記系統毎に記録された前記ポイントが特典付与条件を満たした場合に、前記プレイヤに対して特典を付与する特典付与部と、を有し、
前記プレイヤが他のプレイヤと共同で前記イベントをプレイした場合、前記ポイント付与部は、前記イベントを共同でプレイした人数に応じた前記ポイントを前記プレイヤに対して付与することを特徴とする情報処理装置。
続きを表示(約 1,900 文字)
【請求項2】
前記系統毎に記録された前記ポイントが、前記系統毎に定められた前記特典付与条件を満たした場合に、前記特典付与部は、前記プレイヤに対して前記特典を前記系統毎に付与する、請求項1に記載の情報処理装置。
【請求項3】
前記プレイヤが前記イベントをプレイする際に操作する端末に、前記系統毎に記録された前記ポイントを前記系統毎に示す図形オブジェクトを表示させる処理を実行する表示処理部をさらに有する、請求項1又は2に記載の情報処理装置。
【請求項4】
前記プレイヤがプレイ可能な前記イベントの前記系統を決定する系統決定部をさらに有し、
前記系統決定部は、前記プレイヤがプレイ可能な前記イベントの前記系統を、複数の前記系統の中から定期的に決定して変更する、請求項1乃至3のいずれか一項に記載の情報処理装置。
【請求項5】
前記プレイヤがプレイ可能な前記イベントの前記系統を決定する系統決定部をさらに有し、
前記系統決定部は、所定期間内に前記プレイヤがプレイ可能な前記イベントの前記系統を、前記プレイヤによって行われた選択操作に応じて決定する、請求項1乃至3のいずれか一項に記載の情報処理装置。
【請求項6】
前記所定期間内に前記プレイヤが行う前記選択操作の回数の上限が決められており、
前記系統決定部は、前記上限を超えない範囲で、前記所定期間内に前記プレイヤがプレイ可能な前記イベントの前記系統を前記選択操作に応じて決定する、請求項5に記載の情報処理装置。
【請求項7】
前記プレイヤがプレイ可能な前記イベントの前記系統を決定する系統決定部をさらに有し、
他のプレイヤが前記他のプレイヤと共同で前記イベントをプレイする共同プレイヤを募集し、前記プレイヤが前記共同プレイヤとして前記イベントに参加する場合、前記系統決定部は、前記プレイヤが前記共同プレイヤとして参加する前記イベントの前記系統を、前記他のプレイヤによって選択された前記系統に決定する、請求項1乃至3のいずれか一項に記載の情報処理装置。
【請求項8】
プレイヤがゲーム内のイベントをプレイして前記イベントの達成条件を満たした場合に、前記プレイヤに対してポイントを付与するポイント付与部と、
前記プレイヤに対して付与された前記ポイントを、前記イベントを分類するために設定された複数の系統のうち、前記プレイヤがプレイした前記イベントの前記系統と関連付けて前記系統毎に記録するポイント記録部と、
前記系統毎に記録された前記ポイントが特典付与条件を満たした場合に、前記プレイヤに対して特典を付与する特典付与部と、
前記プレイヤがプレイ可能な前記イベントの前記系統を決定する系統決定部と、を有し、
前記系統決定部は、前記プレイヤがプレイ可能な前記イベントの前記系統を、複数の前記系統の中から定期的に決定して変更することを特徴とする情報処理装置。
【請求項9】
コンピュータにより、
プレイヤがゲーム内のイベントをプレイして前記イベントの達成条件を満たした場合に、前記プレイヤに対してポイントを付与し、
前記プレイヤに対して付与された前記ポイントを、前記イベントを分類するために設定された複数の系統のうち、前記プレイヤがプレイした前記イベントの前記系統と関連付けて前記系統毎に記録し、
前記系統毎に記録された前記ポイントが特典付与条件を満たした場合に、前記プレイヤに対して特典を付与し、
前記プレイヤが他のプレイヤと共同で前記イベントをプレイした場合、前記イベントを共同でプレイした人数に応じた前記ポイントを前記プレイヤに対して付与することを特徴とする情報処理方法。
【請求項10】
コンピュータにより、
プレイヤがゲーム内のイベントをプレイして前記イベントの達成条件を満たした場合に、前記プレイヤに対してポイントを付与し、
前記プレイヤに対して付与された前記ポイントを、前記イベントを分類するために設定された複数の系統のうち、前記プレイヤがプレイした前記イベントの前記系統と関連付けて前記系統毎に記録し、
前記系統毎に記録された前記ポイントが特典付与条件を満たした場合に、前記プレイヤに対して特典を付与し、
前記プレイヤがプレイ可能な前記イベントの前記系統を、複数の前記系統の中から定期的に決定して変更することを特徴とする情報処理方法。
(【請求項11】以降は省略されています)
発明の詳細な説明
【技術分野】
【0001】
本発明は、情報処理装置、情報処理方法、及びプログラムに関する。
続きを表示(約 2,000 文字)
【背景技術】
【0002】
ゲームでは、クエストと呼ばれるイベントが開催され、ゲームのプレイヤがイベントの達成条件を満たした場合に、プレイヤに対して報酬を付与する場合がある。報酬の一例としてはポイントが挙げられ、特許文献1には、報酬として付与されたポイントを用いて、ゲーム中に利用可能な特典を取得する技術が開示されている。
【先行技術文献】
【特許文献】
【0003】
特開2018-718号公報
【発明の概要】
【発明が解決しようとする課題】
【0004】
しかし、イベントの達成条件を満たしてポイントが付与されたプレイヤに関しては、その後に同じイベントを再度繰り返しプレイしようとする意欲(モチベーション)が減退してしまう可能性がある。
【0005】
そこで、本発明は、ゲーム中のイベントを繰り返しプレイしようとするプレイヤの意欲を喚起させることを課題とする。
【課題を解決するための手段】
【0006】
本発明の一態様に係る情報処理装置は、プレイヤがゲーム内のイベントをプレイしてイベントの達成条件を満たした場合に、プレイヤに対してポイントを付与するポイント付与部と、プレイヤに対して付与されたポイントを、イベントを分類するために設定された複数の系統のうち、プレイヤがプレイしたイベントの系統と関連付けて系統毎に記録するポイント記録部と、系統毎に記録されたポイントが特典付与条件を満たした場合に、プレイヤに対して特典を付与する特典付与部と、を有することを特徴とする。
【発明の効果】
【0007】
本発明の一態様によれば、イベント達成によるポイントをイベントの系統別に取得することができるので、様々な系統のイベントをプレイしようとするプレイヤの意欲を喚起させることができる。
【図面の簡単な説明】
【0008】
本発明の一実施形態に係る情報処理装置を含むゲーム用の情報処理システムの概念図である。
本発明の一実施形態に係る情報処理装置のハードウェア構成を示す図である。
本発明の一実施形態に係る情報処理装置の機能についての説明図である。
プレイ対象とするイベントの選択画面の一例を示す図である(その1)。
プレイ対象とするイベントの選択画面の一例を示す図である(その2)。
プレイ対象とするイベントの選択画面の一例を示す図である(その3)。
各プレイヤが貯めたポイントについての管理用データを示す図である。
図形オブジェクトの例を示す図である。
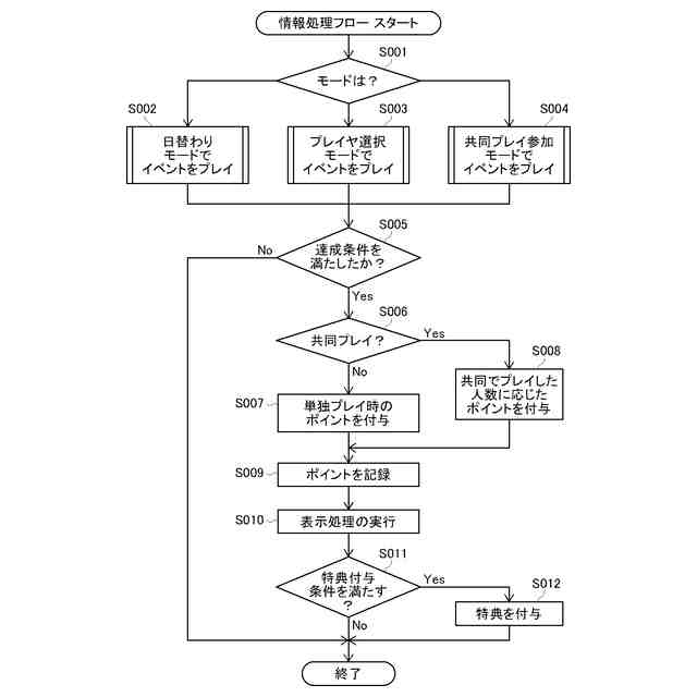
本発明の一実施形態に係る情報処理フローについての流れを示す図である(その1)。
本発明の一実施形態に係る情報処理フローについての流れを示す図である(その2)。
本発明の一実施形態に係る情報処理フローについての流れを示す図である(その3)。
本発明の一実施形態に係る情報処理フローについての流れを示す図である(その4)。
プレイヤが貯めたポイントと、プレイヤがゲーム中で使用するキャラクタのステータス値との対応関係を示す図である。
ポイントの増減による系統間の影響についての説明図である。
【発明を実施するための形態】
【0009】
以下、本発明の一実施形態(本実施形態)について、添付の図面を参照しながら詳細に説明する。ただし、以下に説明する実施形態は、本発明の理解を容易にするために挙げたものであり、本発明を限定するものではない。すなわち、本発明は、その趣旨を逸脱しない限りにおいて、以下に説明する実施形態から変更又は改良され得る。また、当然ながら、本発明には、その等価物が含まれる。
また、以下の説明及び図面中に記載された画面デザインも一例に過ぎず、画面の構成例、表示される情報及びGUI(Graphical User Interface)の具体的な内容等は、本発明の用途及びユーザの要望等に応じて適宜変更し得るものである。
【0010】
なお、本明細書において、「所定期間」は、一定の時間を有する期間には限定されず、決められたルールに従って変動する期間であってもよく、例えば、所定期間内に行われる事象(例えば、後述のイベント)の内容に応じて当該所定期間の時間が変わってもよい。また、本実施形態では、「所定期間」を1日とするが、当然ながら、この期間に限定されず、「所定期間」が1日以外の期間、例えば、1分~数分、1時間~数時間、数日、1週間~数週間、1月~数ヶ月であってもよい。
(【0011】以降は省略されています)
この特許をJ-PlatPat(特許庁公式サイト)で参照する
関連特許
株式会社MIXI
情報処理装置、情報処理方法、プログラム及びシステム
26日前
株式会社MIXI
情報処理装置、情報処理方法、プログラム及びゲームシステム
1か月前
株式会社MIXI
情報処理装置、情報処理方法、プログラム及び情報処理システム
25日前
株式会社MIXI
情報処理装置、情報処理システム、情報処理方法、及びプログラム
1か月前
株式会社MIXI
情報処理装置及びプログラム
1か月前
株式会社MIXI
情報処理装置およびプログラム
1か月前
株式会社MIXI
情報処理装置、及びプログラム
24日前
株式会社MIXI
情報処理装置、情報処理方法及びプログラム
3日前
株式会社MIXI
情報処理装置、情報処理方法及びプログラム
1か月前
株式会社MIXI
情報処理装置、情報処理方法及びプログラム
1か月前
株式会社MIXI
情報処理装置、プログラム及び情報処理方法
24日前
株式会社MIXI
情報処理装置、情報処理方法及びプログラム
1か月前
株式会社MIXI
情報処理装置、情報処理方法及びプログラム
1か月前
株式会社MIXI
情報処理装置、情報処理方法及びプログラム
1か月前
株式会社MIXI
情報処理装置、情報処理方法及びプログラム
1か月前
株式会社MIXI
情報処理装置、情報処理方法及びプログラム
12日前
株式会社MIXI
情報処理装置、情報処理方法及びプログラム
10日前
株式会社MIXI
情報処理装置、情報処理方法及びプログラム
1か月前
株式会社MIXI
情報処理装置、情報処理方法及びプログラム
1か月前
株式会社MIXI
情報処理装置、プログラム及び情報処理方法
1か月前
株式会社MIXI
情報処理装置、プログラム、及び情報処理方法
1か月前
株式会社MIXI
情報処理装置、情報処理方法、及びプログラム
1か月前
株式会社MIXI
情報処理装置、制御プログラム、及び制御方法
24日前
株式会社MIXI
情報処理装置、情報処理方法およびプログラム
3日前
株式会社MIXI
情報処理装置、プログラムおよび情報処理方法
24日前
株式会社MIXI
情報処理装置、情報処理方法、及びプログラム
24日前
株式会社MIXI
情報処理装置、情報処理方法およびプログラム
3日前
株式会社MIXI
情報処理システム、サーバ装置、およびプログラム
1か月前
株式会社MIXI
表示制御プログラム、情報処理装置及び情報処理方法
1か月前
株式会社MIXI
情報処理装置、情報処理プログラム及び情報処理方法
1か月前
株式会社MIXI
情報処理装置、動画配信方法及び動画配信プログラム
12日前
株式会社MIXI
情報処理装置、ゲームプログラム及びゲーム処理方法
3日前
株式会社MIXI
情報処理装置、情報処理方法および情報処理プログラム
1か月前
株式会社MIXI
情報処理装置、情報処理方法、プログラム及びシステム
26日前
株式会社MIXI
サーバ装置、端末装置、情報処理システム、及びプログラム
18日前
株式会社MIXI
情報処理装置、コンテンツ表示方法及びコンテンツ表示プログラム
1か月前
続きを見る
他の特許を見る