TOP
|
特許
|
意匠
|
商標
特許ウォッチ
Twitter
他の特許を見る
公開番号
2025159119
公報種別
公開特許公報(A)
公開日
2025-10-17
出願番号
2025134415,2024102270
出願日
2025-08-12,2018-04-03
発明の名称
情報処理装置、コンテンツ表示方法及びコンテンツ表示プログラム
出願人
株式会社MIXI
代理人
主分類
G06F
3/0483 20130101AFI20251009BHJP(計算;計数)
要約
【課題】画面に表示されるコンテンツに対してより多様な表現を可能とする、情報処理装置、コンテンツ表示方法及びコンテンツ表示プログラムを提供することを目的とする。
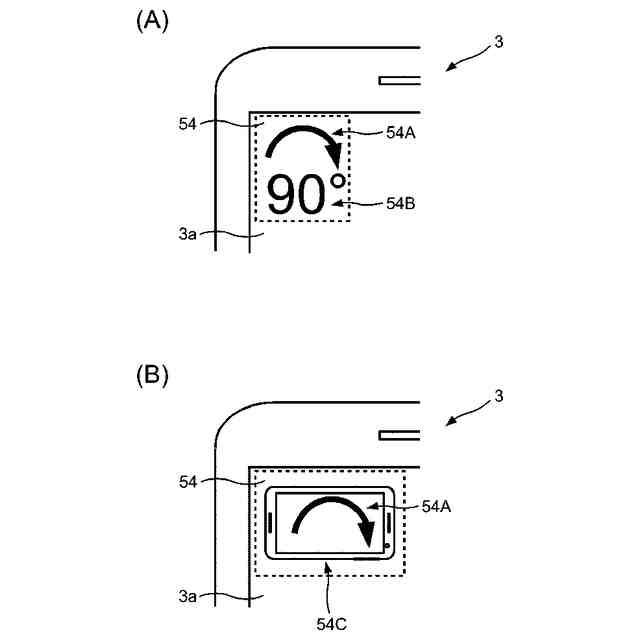
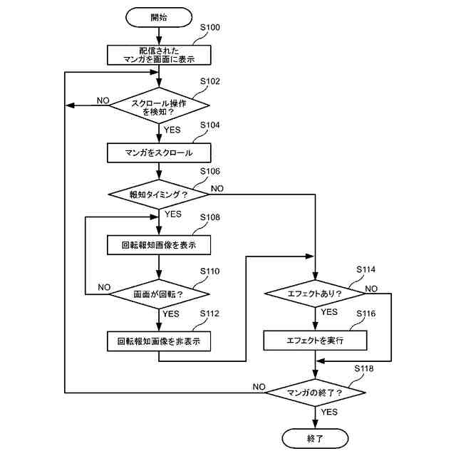
【解決手段】携帯端末3は、連続した複数の静止画像によって形成されるマンガを画面に表示する。そして、マンガ表示処理は、画面3aに表示されるマンガを一方向にスクロールさせ、画面3aを基準面とした所定角度の水平回転の実行をユーザに促すための回転報知を、マンガの進行に応じた所定の報知タイミングで行う。
【選択図】図4
特許請求の範囲
【請求項1】
連続した複数の静止画像によって形成されるコンテンツを画面に表示する情報処理装置
であって、
前記画面に表示される前記コンテンツを一方向にスクロールさせるスクロール制御手段
と、
前記画面を基準面とした所定角度の水平回転の実行をユーザに促すための回転報知を、
前記コンテンツの進行に応じた所定の報知タイミングで行う回転報知手段と、
を備える情報処理装置。
続きを表示(約 1,200 文字)
【請求項2】
前記回転報知手段は、前記回転報知として前記画面の回転をユーザに促すための回転報
知画像を前記コンテンツと共に前記画面に表示する請求項1記載の情報処理装置。
【請求項3】
前記コンテンツは、前記画面を回転させる回転タイミング及び前記画面の回転角度を示
す回転情報が付加され、
前記回転報知手段は、前記回転情報に基づいて前記回転報知を行う
請求項1又は請求項2記載の情報処置装置。
【請求項4】
前記スクロール制御手段は、前記画面に表示されている前記コンテンツが前記画面を回
転させる回転タイミングに達した場合、前記画面の回転を検知するまで前記回転タイミン
グ以降の前記静止画像を前記画面に表示しない請求項1から請求項3の何れか1項記載の
情報処理装置。
【請求項5】
前記スクロール制御手段は、前記画面に表示されている前記コンテンツが前記画面を回
転させる回転タイミングに達した場合に前記コンテンツのスクロールを停止させる請求項
1から請求項4の何れか1項記載の情報処理装置。
【請求項6】
前記スクロール制御手段は、前記画面に対する指示体を用いたユーザの操作に応じて前
記コンテンツをスクロールさせ、前記指示体の移動速度に基づく慣性力に応じて前記静止
画像の移動量を制御し、前記画面に表示される前記コンテンツが前記画面を回転させる回
転タイミングに達しても、前記慣性力に応じて前記コンテンツのスクロールを継続させる
請求項1から請求項3の何れか1項記載の情報処理装置。
【請求項7】
前記スクロール制御手段は、予め定められた速度で前記静止画像をスクロールさせる請
求項1から請求項6の何れか1項記載の情報処理装置。
【請求項8】
前記速度は、前記静止画像に応じて異なる請求項7記載の情報処理装置。
【請求項9】
前記スクロール制御手段は、前記コンテンツをスクロールさせる所定の条件を満たした
か否かを予め定められたタイミングで判定し、前記条件を満たした場合に前記コンテンツ
をスクロールさせる請求項1から請求8の何れか1項記載の情報処理装置。
【請求項10】
連続した複数の静止画像によって形成されるコンテンツを画面に表示するコンテンツ表
示方法であって、
前記画面に表示される前記コンテンツを一方向にスクロールさせる第1工程と、
前記画面を基準面とした所定角度の水平回転の実行をユーザに促すための回転報知を、
前記コンテンツの進行に応じた所定の報知タイミングで行う第2工程と、
を有するコンテンツ表示方法。
(【請求項11】以降は省略されています)
発明の詳細な説明
【技術分野】
【0001】
本発明は、情報処理装置、コンテンツ表示方法及びコンテンツ表示プログラムに関するものである。
続きを表示(約 1,400 文字)
【背景技術】
【0002】
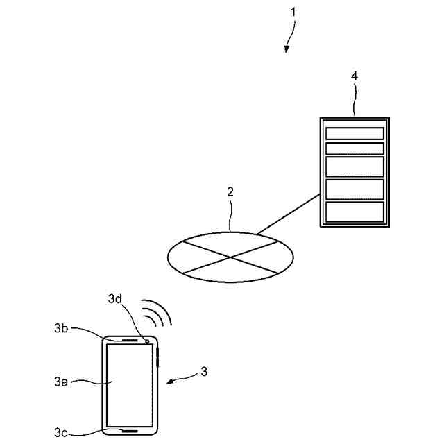
近年、コンピュータネットワークを介して携帯端末等の情報処理装置に配信されるウェブサイト(Webページ,Webサービス)やオンラインゲーム、アプリケーションソフトウェア(以下「アプリ」という。)等のオンラインサービスが広く普及している。
【0003】
特許文献1には、1ページが複数のコマから構成されるマンガを画面に表示させるために、ページの中で指定された範囲(例えば、ページ内に描かれた1つのコマ)を切り換えながら、表示画面に拡大して表示する画像表示装置が開示されている。このため、特許文献1に開示されている画像表示装置は、表示画面に表示する範囲を順次切り換えるための各種パラメータが設定された表示範囲切換リストが生成され、これに表示する順序と対応付けて、表示対象のコマ、表示中心の座標、表示倍率が設定されている。これにより、生成した表示範囲切換リストに従って、表示範囲を順に切り換えながら表示画面にWebページを表示する。
【0004】
従って、特許文献1に開示されている画像表示装置では、大きなWebページであっても、ユーザは画像の上下左右へのスクロールや拡大・縮小といった煩雑なコントローラー操作を必要とせずに、Webページの隅々まで快適に閲覧することが可能となる。
【先行技術文献】
【特許文献】
【0005】
特開2010-164862号公報
【発明の概要】
【発明が解決しようとする課題】
【0006】
近年では、情報処理装置で閲覧可能なマンガとして、紙媒体のマンガを画像データとして取り込んだものだけではなく、当初から情報処理装置へ配信することを想定してマンガを画像データで作成する場合もある。このような情報処理装置に配信することを想定して作成されるマンガは、紙媒体では表現できなかった多様な表現ができることが期待される。
【0007】
ここで、特許文献1に開示されている画像表示装置は、上下左右へのスクロール等を行うものである。この目的は、紙媒体を画像データとして取り込んだページ単位であり、かつコマ割りがされたマンガをユーザに快適に閲覧させるものであり、マンガの表現を多用化させるものではない。そこで、情報処理装置に表示されるマンガ等のコンテンツに対して、より多様な表現を可能とする技術開発が求められている。
【0008】
本発明は、このような事情に鑑みてなされたものであって、画面に表示されるコンテンツに対してより多様な表現を可能とする、情報処理装置、コンテンツ表示方法及びコンテンツ表示プログラムを提供することを目的とする。
【課題を解決するための手段】
【0009】
上記課題を解決するために、本発明の情報処理装置、コンテンツ表示方法及びコンテンツ表示プログラムは以下の手段を採用する。
【0010】
上記課題を解決するため、本発明の一態様である「情報処理装置」は、連続した複数の静止画像によって形成されるコンテンツを画面に表示する情報処理装置であって、前記画面に表示される前記コンテンツを一方向にスクロールさせるスクロール制御手段と、前記画面を基準面とした所定角度の水平回転の実行をユーザに促すための回転報知を、前記コンテンツの進行に応じた所定の報知タイミングで行う回転報知手段と、を備える。
(【0011】以降は省略されています)
この特許をJ-PlatPat(特許庁公式サイト)で参照する
関連特許
株式会社MIXI
情報処理装置、情報処理方法、プログラム及びシステム
1か月前
株式会社MIXI
情報処理装置、情報処理方法、プログラム及びゲームシステム
7日前
株式会社MIXI
情報処理装置、情報処理方法、プログラム及びゲームシステム
2か月前
株式会社MIXI
情報処理装置、情報処理方法、プログラム及び情報処理システム
20日前
株式会社MIXI
情報処理装置、情報処理方法、プログラム及び情報処理システム
1か月前
株式会社MIXI
情報処理装置、情報処理システム、情報処理方法、及びプログラム
2か月前
株式会社MIXI
情報処理装置及びプログラム
1か月前
株式会社MIXI
情報処理装置、及びプログラム
1か月前
株式会社MIXI
情報処理装置およびプログラム
1か月前
株式会社MIXI
情報処理装置、プログラム及び情報処理方法
1か月前
株式会社MIXI
情報処理装置、情報処理方法及びプログラム
2か月前
株式会社MIXI
情報処理装置、情報処理方法及びプログラム
2か月前
株式会社MIXI
情報処理装置、情報処理方法及びプログラム
2か月前
株式会社MIXI
情報処理装置、情報処理方法及びプログラム
2か月前
株式会社MIXI
情報処理装置、プログラム及び情報処理方法
1か月前
株式会社MIXI
情報処理装置、情報処理方法及びプログラム
1か月前
株式会社MIXI
情報処理装置、情報処理方法及びプログラム
2か月前
株式会社MIXI
情報処理装置、情報処理方法及びプログラム
5日前
株式会社MIXI
情報処理装置、情報処理方法及びプログラム
5日前
株式会社MIXI
情報処理装置、情報処理方法及びプログラム
12日前
株式会社MIXI
情報処理装置、情報処理方法及びプログラム
26日前
株式会社MIXI
情報処理装置、情報処理方法及びプログラム
1か月前
株式会社MIXI
情報処理装置、情報処理方法及びプログラム
1か月前
株式会社MIXI
情報処理装置、情報処理方法、及びプログラム
1か月前
株式会社MIXI
情報処理装置、プログラムおよび情報処理方法
1か月前
株式会社MIXI
情報処理装置、プログラム、及び情報処理方法
1か月前
株式会社MIXI
情報処理装置、情報処理方法およびプログラム
26日前
株式会社MIXI
情報処理装置、情報処理方法およびプログラム
26日前
株式会社MIXI
情報処理装置、プログラム、及び情報処理方法
1日前
株式会社MIXI
情報処理装置、制御プログラム、及び制御方法
1か月前
株式会社MIXI
情報処理システム、サーバ装置、およびプログラム
1か月前
株式会社MIXI
表示制御プログラム、情報処理装置及び情報処理方法
1か月前
株式会社MIXI
情報処理装置、ゲームプログラム及びゲーム処理方法
26日前
株式会社MIXI
情報処理装置、動画配信方法及び動画配信プログラム
1か月前
株式会社MIXI
情報処理システム,制御プログラム及び情報処理装置
20日前
株式会社MIXI
情報処理装置、情報処理プログラム及び情報処理方法
2か月前
続きを見る
他の特許を見る