TOP
|
特許
|
意匠
|
商標
特許ウォッチ
Twitter
他の特許を見る
10個以上の画像は省略されています。
公開番号
2025122864
公報種別
公開特許公報(A)
公開日
2025-08-22
出願番号
2024018570
出願日
2024-02-09
発明の名称
エアコンプレッサ
出願人
株式会社マキタ
代理人
弁理士法人岡田国際特許事務所
主分類
F04B
41/02 20060101AFI20250815BHJP(液体用容積形機械;液体または圧縮性流体用ポンプ)
要約
【課題】フィルタに堆積した粉塵を効率良く除去できるフィルタ清掃機構を備えたエアコンプレッサが必要とされている。
【解決手段】エアコンプレッサ1は、吸気口31bを覆う内フィルタ32を有する。エアコンプレッサ1は、内フィルタ32を外側から覆いかつ内フィルタ32よりも空気が通り易い外フィルタ34を有する。エアコンプレッサ1は、圧縮エアを蓄えるタンクから延出する清掃用配管16を有する。エアコンプレッサ1は、清掃用配管16と連結されて内フィルタ32と外フィルタ34の間に圧縮エアを導入する清掃用吸気口16aを有する。
【選択図】図7
特許請求の範囲
【請求項1】
エアコンプレッサであって、
吸気口を覆う内フィルタと、
前記内フィルタを外側から覆いかつ前記内フィルタよりも空気が通り易い外フィルタと、
圧縮エアを蓄えるタンクから延出する清掃用配管と、
前記清掃用配管と連結されて前記内フィルタと前記外フィルタの間に圧縮エアを導入する清掃用吸気口を有するエアコンプレッサ。
続きを表示(約 910 文字)
【請求項2】
請求項1に記載のエアコンプレッサであって、
前記外フィルタは、前記内フィルタよりも薄いエアコンプレッサ。
【請求項3】
請求項1または2に記載のエアコンプレッサであって、
前記外フィルタは、前記内フィルタよりも目が粗いエアコンプレッサ。
【請求項4】
請求項1~3のいずれか1つに記載のエアコンプレッサであって、
前記内フィルタと前記外フィルタの間には、清掃用の圧縮エアが導入される密封空間が形成されているエアコンプレッサ。
【請求項5】
請求項1~4のいずれか1つに記載のエアコンプレッサであって、
前記内フィルタと前記外フィルタの間にはスペーサが設けられるエアコンプレッサ。
【請求項6】
請求項5に記載のエアコンプレッサであって、
前記スペーサは、前記内フィルタの外周縁と前記外フィルタの外周縁を覆う外周壁を有するエアコンプレッサ。
【請求項7】
請求項5または6に記載のエアコンプレッサであって、
前記外フィルタを外側から覆うカバーを有し、
前記カバーは、前記外フィルタの外面を保持する外リブを有し、
前記スペーサは、前記外リブに対応する位置で前記外フィルタの内面を保持する内リブを有するエアコンプレッサ。
【請求項8】
請求項1~7のいずれか1つに記載のエアコンプレッサであって、
前記外フィルタを外側から覆うカバーを有し、
前記カバーは、前記清掃用配管を前記内フィルタと前記外フィルタの間で開口するように連結する連結管部を有するエアコンプレッサ。
【請求項9】
請求項1~8のいずれか1つに記載のエアコンプレッサであって、
前記清掃用吸気口は、前記内フィルタの外面および前記外フィルタの内面に沿うように開口するエアコンプレッサ。
【請求項10】
請求項1~9のいずれか1つに記載のエアコンプレッサであって、
前記清掃用配管の開口が前記清掃用吸気口であるエアコンプレッサ。
発明の詳細な説明
【技術分野】
【0001】
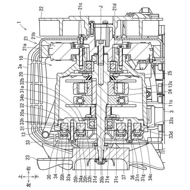
本開示は、例えば圧縮エア駆動式の釘打機やエアダスタ等のエアツールに圧縮エアを供給するエアコンプレッサに関する。
続きを表示(約 2,000 文字)
【背景技術】
【0002】
従来提供されているエアコンプレッサは、例えば圧縮空気を生成するレシプロ式の圧縮機構を有する。圧縮機構は、モータの回転出力をクランク機構によってシリンダ内のピストンの往復動に変換する。外気をピストンで圧縮することで圧縮エアが生成される。圧縮機構で生成された圧縮エアはタンクに貯留される。タンクに貯留された圧縮エアは、例えば圧縮エア駆動式の釘打機やエアダスタ等のエア工具に供給される。
【0003】
圧縮エアを生成する際、クランク機構を収容するクランクケース内に外気が導入される。クランクケース内へ外気を導入する吸気部には、クランクケースの内外を連通する吸気口と、吸気口を覆うフィルタが設けられる。フィルタは、導入する外気に含まれる粉塵等が吸気口からクランクケース内へ進入することを防ぐ。また、フィルタは、クランク機構の動作音がクランクケース外へ漏れることを抑制する。そのためフィルタには、例えば所定以上の厚みの羊毛フェルト等が用いられる。
【0004】
エアコンプレッサを繰り返し使用すると、フィルタの外面に粉塵が堆積する。堆積した粉塵によってフィルタが目詰まりすると、フィルタの通気性が損なわれる。フィルタの通気性が損なわれたままエアコンプレッサを使用すると、例えばフィルタの外周縁とクランクケースとの間から外気と粉塵がクランクケース内に進入してしまう場合がある。フィルタの目詰まりを抑制するためのフィルタ清掃機構が従来提案されている。特許文献1に記載のフィルタ清掃機構は、エアコンプレッサの運転停止操作に連動してタンク内に貯留された圧縮空気をフィルタに吹き付ける。運転停止操作は、例えば主電源スイッチをオフにする操作である。そのため電源に接続した状態でないとフィルタ清掃機構を作動させることができず、例えば作業現場から離れた所でフィルタを清掃することができない。また、不意に主電源スイッチを操作してしまった時にもフィルタ清掃機構が作動してしまう。
【0005】
特許文献2に記載のフィルタ清掃機構は、タンク内に貯留された圧縮空気をクランクケース内へ逆噴させる。これによりクランクケースの吸気口を介してフィルタの内面側から外面側へと逆噴流を流して外面に堆積した粉塵を吹き飛ばす。しかしながらフィルタは、音漏れを抑制するために厚い羊毛フェルトで設けられる。そのためフィルタの外面に堆積した粉塵を内面側から吹き飛ばすためには、逆噴流のエア圧を高くしかつ流量を大きくする必要がある。
【0006】
特許文献3には、フィルタを複数層にすることで目詰まりしたフィルタ層のみを交換して通気性を維持する構造が記載されている。フィルタを複数層にすることでクランクケース内への粉塵の進入やクランクケース内からの音漏れをさらに抑制できる。しかしながらフィルタの交換前後でクランクケースの気密性を維持しながら使用者がメンテナンスすることは難しい。
【先行技術文献】
【特許文献】
【0007】
特許第7005765号公報
特開2015-127506号公報
特開2007-023851号公報
【発明の概要】
【発明が解決しようとする課題】
【0008】
したがってフィルタに堆積した粉塵を効率良く除去できるフィルタ清掃機構を備えたエアコンプレッサが必要とされている。
【課題を解決するための手段】
【0009】
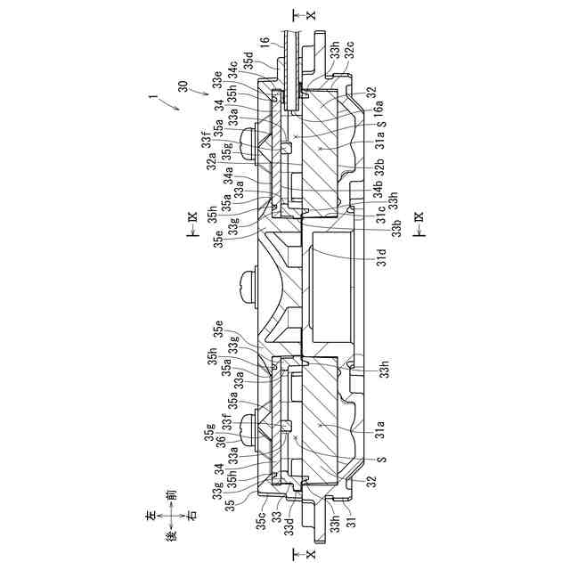
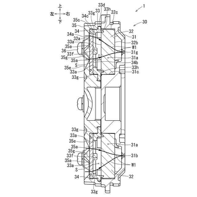
本開示の1つの特徴によるとエアコンプレッサは、吸気口を覆う内フィルタを有する。エアコンプレッサは、内フィルタを外側から覆いかつ内フィルタよりも空気が通り易い外フィルタを有する。エアコンプレッサは、圧縮エアを蓄えるタンクから延出する清掃用配管を有する。エアコンプレッサは、清掃用配管と連結されて内フィルタと外フィルタの間に圧縮エアを導入する清掃用吸気口を有する。
【0010】
したがって内フィルタと外フィルタを設けることで、クランクケース内への粉塵の進入を抑制できかつクランクケース内からの音漏れを抑制できる。さらにタンクから清掃用配管と清掃用吸気口を介して内フィルタと外フィルタの間の領域に圧縮エアを導入する。これにより外フィルタの内面側から外面側へ圧縮エアを流して堆積した粉塵を外方へ吹き飛ばすことができる。しかもエアコンプレッサが電源に接続されていない場合でも、例えば清掃用配管にバルブやコック等を連結することで、機械的動作または手動によって圧縮エアをタンクから清掃用吸気口へ導入できる。かくして外フィルタの外面または内部あるいは内フィルタの外面に堆積した粉塵を効率良く除去できる。
【図面の簡単な説明】
(【0011】以降は省略されています)
この特許をJ-PlatPat(特許庁公式サイト)で参照する
関連特許
株式会社マキタ
運搬車
1か月前
株式会社マキタ
充電器
2か月前
株式会社マキタ
作業機
9日前
株式会社マキタ
運搬車
1か月前
株式会社マキタ
電動工具
1か月前
株式会社マキタ
電動工具
1か月前
株式会社マキタ
電動工具
1か月前
株式会社マキタ
電動工具
1か月前
株式会社マキタ
電動作業機
3日前
株式会社マキタ
鉄筋結束機
11日前
株式会社マキタ
レシプロソー
2か月前
株式会社マキタ
現場用作業機
12日前
株式会社マキタ
回転打撃工具
26日前
株式会社マキタ
ハンマドリル
6日前
株式会社マキタ
ハンマドリル
6日前
株式会社マキタ
金工用切断機
1か月前
株式会社マキタ
ソーチェーン
1か月前
株式会社マキタ
運搬システム
1か月前
株式会社マキタ
インパクト工具
16日前
株式会社マキタ
インパクト工具
1か月前
株式会社マキタ
インパクト工具
1か月前
株式会社マキタ
ダイグラインダ
1か月前
株式会社マキタ
エアコンプレッサ
2か月前
株式会社マキタ
エアコンプレッサ
2か月前
株式会社マキタ
エアコンプレッサ
2か月前
株式会社マキタ
エアコンプレッサ
2か月前
株式会社マキタ
コネクタおよび加工機
2か月前
株式会社マキタ
バイス及びレシプロソー
2か月前
株式会社マキタ
充電器及び充電システム
16日前
株式会社マキタ
電動工具及びインパクト工具
1か月前
株式会社マキタ
フレア形成装置及びフレア形成工具
23日前
株式会社マキタ
インパクト工具及びインパクトレンチ
16日前
株式会社マキタ
電動ねじ締め機及びアングルラチェットレンチ
1か月前
株式会社マキタ
電動工具用コントロールモジュール及び電動工具
2か月前
株式会社マキタ
電池パック
1か月前
株式会社マキタ
現場用機器における光学表示器の内部に回路基板を固定する技術
5日前
続きを見る
他の特許を見る