TOP
|
特許
|
意匠
|
商標
特許ウォッチ
Twitter
他の特許を見る
10個以上の画像は省略されています。
公開番号
2025119316
公報種別
公開特許公報(A)
公開日
2025-08-14
出願番号
2024014153
出願日
2024-02-01
発明の名称
柱の固定構造および柱の固定方法
出願人
YKK AP株式会社
代理人
弁理士法人樹之下知的財産事務所
主分類
E04H
17/22 20060101AFI20250806BHJP(建築物)
要約
【課題】レベル棒を用いて柱の高さ位置を適切に設定でき、地面に柱を固定できる柱の固定構造および柱の固定方法を提供すること。
【解決手段】地面50に形成された穴51に柱10を固定する柱の固定構造である。上面が開口された固定穴24を形成する筒状部材20を穴51に設置する。筒状部材20の固定穴24に柱10の下端部を挿入し、柱10に取り付けられたレベル棒を筒状部材の上面に載置して柱10の高さ位置を設定する。柱10と筒状部材20との間に、流動状態で注入された後に硬化する内周側硬化物40を充填し、筒状部材20の外周面と穴51の側面との間に、流動状態で注入された後に硬化する外周側硬化物60を充填する。
【選択図】図5
特許請求の範囲
【請求項1】
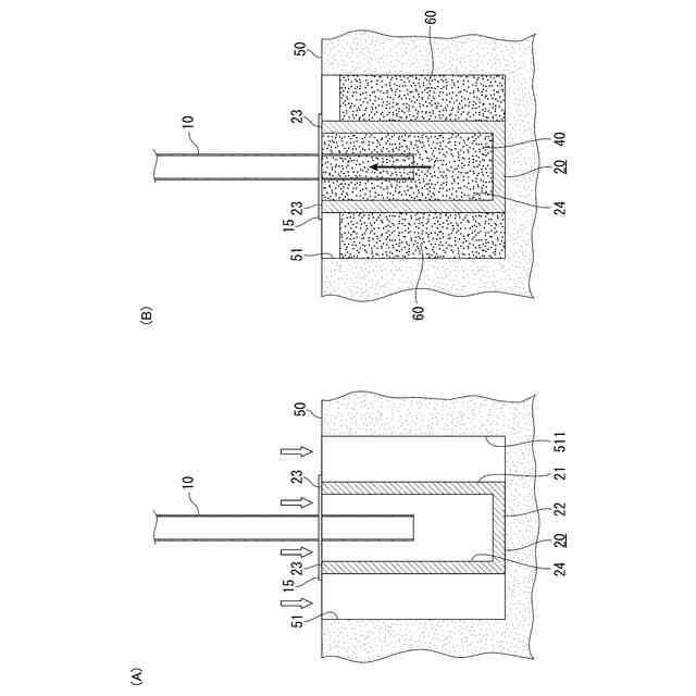
地面に形成された穴に柱を固定する柱の固定構造であって、
前記穴には、上面が開口された固定穴を有する筒状部材が設置され、
前記固定穴には前記柱の下端部が挿入され、
前記柱に取り付けられたレベル棒が前記筒状部材の上面に載置されることで高さ位置が設定された前記柱と、前記筒状部材の内周面との間には、流動状態で注入された後に硬化することで前記柱を固定する内周側硬化物が充填され、
前記筒状部材の外周面と、前記穴の側面との間には、流動状態で注入された後に硬化することで前記筒状部材を固定する外周側硬化物が充填されている
ことを特徴とする柱の固定構造。
続きを表示(約 1,600 文字)
【請求項2】
請求項1に記載の柱の固定構造において、
前記筒状部材の上面には、前記内周側硬化物の上面を覆う蓋が配置され、
前記外周側硬化物の上面は土で覆われている
ことを特徴とする柱の固定構造。
【請求項3】
請求項1に記載の柱の固定構造において、
前記筒状部材、前記内周側硬化物および前記外周側硬化物の各上面は土で覆われている
ことを特徴とする柱の固定構造。
【請求項4】
請求項1に記載の柱の固定構造において、
前記筒状部材は、前記固定穴を区画する側面部を有し、
前記側面部には、前記固定穴と前記側面部の外周側とを連通する連通孔が形成され、
前記連通孔には、前記内周側硬化物および前記外周側硬化物を連結する連結硬化物が充填されている
ことを特徴とする柱の固定構造。
【請求項5】
請求項1に記載の柱の固定構造において、
前記柱は中空筒状に形成され、
前記柱の下端は前記固定穴の底よりも上方に配置され、前記柱の内部に前記内周側硬化物を充填する開口が形成されている
ことを特徴とする柱の固定構造。
【請求項6】
請求項1に記載の柱の固定構造において、
前記内周側硬化物および前記外周側硬化物は、発泡ウレタンで構成されている
ことを特徴とする柱の固定構造。
【請求項7】
請求項1に記載の柱の固定構造において、
前記筒状部材の上面には、前記レベル棒が載置されて保持される保持溝が形成されている
ことを特徴とする柱の固定構造。
【請求項8】
地面に形成された穴に柱を固定する柱の固定方法であって、
前記地面に穴を形成する穴施工工程と、
上面が開口された固定穴を有する筒状部材を、前記穴に設置する設置工程と、
前記柱の下端部を前記筒状部材の前記固定穴に挿入し、前記柱に取り付けられたレベル棒を前記筒状部材の上面に載置する柱挿入工程と、
前記筒状部材の前記固定穴内に、流動状態で注入された後に硬化することで前記柱を固定する内周側硬化物を充填し、前記筒状部材の外周面と前記穴の側面との間に、流動状態で注入された後に硬化することで前記筒状部材を固定する外周側硬化物を充填する硬化物充填工程と、
を備えることを特徴とする柱の固定方法。
【請求項9】
請求項8に記載の柱の固定方法において、
前記筒状部材は、前記固定穴を区画する側面部を有し、前記側面部には、前記固定穴と前記側面部の外周側とを連通する連通孔が形成され、
前記硬化物充填工程は、前記内周側硬化物および前記外周側硬化物の充填に加えて、前記筒状部材の前記連通孔に、前記内周側硬化物および前記外周側硬化物を連結する連結硬化物を充填する
ことを特徴とする柱の固定方法。
【請求項10】
地面に形成された穴に柱を固定する柱の固定方法であって、
上面が開口された固定穴を有する筒状部材の前記固定穴に、前記柱の下端部を挿入し、前記柱に取り付けられたレベル棒を前記筒状部材の上面に載置する柱挿入工程と、
前記筒状部材の前記固定穴内に、流動状態で注入された後に硬化することで前記柱を固定する内周側硬化物を充填する第1硬化物充填工程と、
前記地面に穴を形成する穴施工工程と、
前記内周側硬化物が硬化して前記柱が固定された前記筒状部材を、前記穴に設置する設置工程と、
前記筒状部材の外周面と前記穴の側面との間に、流動状態で注入された後に硬化することで前記筒状部材を固定する外周側硬化物を充填する第2硬化物充填工程と、
を備えることを特徴とする柱の固定方法。
発明の詳細な説明
【技術分野】
【0001】
本発明は、柱の固定構造および柱の固定方法に関する。
続きを表示(約 1,900 文字)
【背景技術】
【0002】
基礎ブロックの孔にフェンス支柱を差し込んでモルタルを充填して柱を固定する場合に、フェンス支柱に貫通させたレベル棒を基礎ブロック上面に載置してフェンス支柱の垂直位置を固定し、モルタルを充填する方法が知られている(例えば、特許文献1の図7(b)参照)。
【先行技術文献】
【特許文献】
【0003】
特許第3497155号公報
【発明の概要】
【発明が解決しようとする課題】
【0004】
一方、フェンス支柱を地面に固定する場合は、前記レベル棒を用いて柱の垂直位置を固定することが難しいという課題があった。すなわち、地面に穴を掘って柱を配置し、この穴にモルタルなどを注入して柱を固定する場合、柱に加わる風圧で柱が倒れないように、モルタルなどで構成される柱の基礎部分の体積を大きくする必要がある。このため、地面の穴の開口寸法は、基礎ブロックの孔に比べて大きくなり、その分、レベル棒の長さ寸法も長くする必要がある。このため、柱の重量でレベル棒の中央部分が下方に撓み、柱の高さ位置がばらつくという新たな課題が生じる。
【0005】
本発明の目的は、レベル棒を用いて柱の高さ位置を適切に設定でき、地面に柱を固定できる柱の固定構造および柱の固定方法を提供することにある。
【課題を解決するための手段】
【0006】
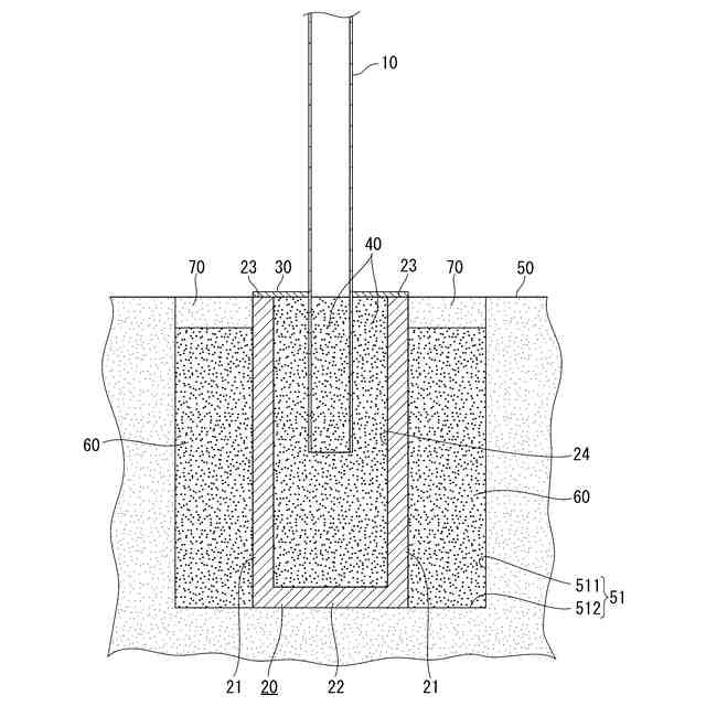
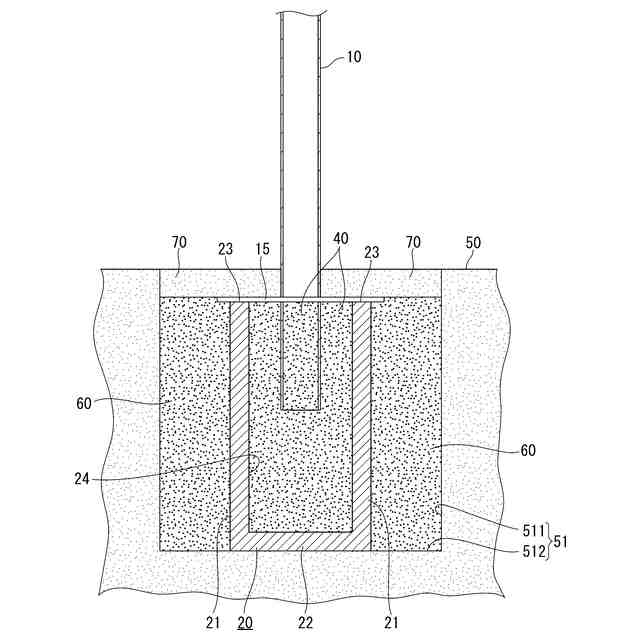
本発明は、地面に形成された穴に柱を固定する柱の固定構造であって、前記穴には、上面が開口された固定穴を有する筒状部材が設置され、前記固定穴には前記柱の下端部が挿入され、前記柱に取り付けられたレベル棒が前記筒状部材の上面に載置されることで高さ位置が設定された前記柱と、前記筒状部材の内周面との間には、流動状態で注入された後に硬化することで前記柱を固定する内周側硬化物が充填され、前記筒状部材の外周面と、前記穴の側面との間には、流動状態で注入された後に硬化することで前記筒状部材を固定する外周側硬化物が充填されていることを特徴とする。
【0007】
本発明は、地面に形成された穴に柱を固定する柱の固定方法であって、前記地面に穴を形成する穴施工工程と、上面が開口された固定穴を有する筒状部材を、前記穴に設置する設置工程と、前記柱の下端部を前記筒状部材の前記固定穴に挿入し、前記柱に取り付けられたレベル棒を前記筒状部材の上面に載置する柱挿入工程と、前記筒状部材の前記固定穴内に、流動状態で注入された後に硬化することで前記柱を固定する内周側硬化物を充填し、前記筒状部材の外周面と前記穴の側面との間に、流動状態で注入された後に硬化することで前記筒状部材を固定する外周側硬化物を充填する硬化物充填工程と、を備えることを特徴とする。
【0008】
本発明は、地面に形成された穴に柱を固定する柱の固定方法であって、上面が開口された固定穴を有する筒状部材の前記固定穴に、前記柱の下端部を挿入し、前記柱に取り付けられたレベル棒を前記筒状部材の上面に載置する柱挿入工程と、前記筒状部材の前記固定穴内に、流動状態で注入された後に硬化することで前記柱を固定する内周側硬化物を充填する第1硬化物充填工程と、前記地面に穴を形成する穴施工工程と、前記内周側硬化物が硬化して前記柱が固定された前記筒状部材を、前記穴に設置する設置工程と、前記筒状部材の外周面と前記穴の側面との間に、流動状態で注入された後に硬化することで前記筒状部材を固定する外周側硬化物を充填する第2硬化物充填工程と、を備えることを特徴とする。
【発明の効果】
【0009】
本発明によれば、レベル棒を用いて柱の高さ位置を適切に設定でき、地面に柱を固定できる柱の固定構造および柱の固定方法を提供することができる。
【図面の簡単な説明】
【0010】
第1実施形態の柱の固定構造を用いたフェンスの姿図である。
第1実施形態の柱の固定構造を示す断面図である。
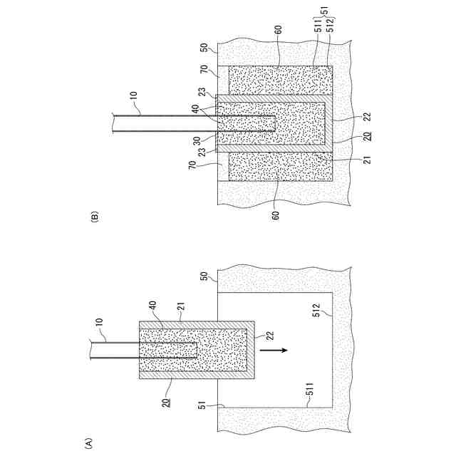
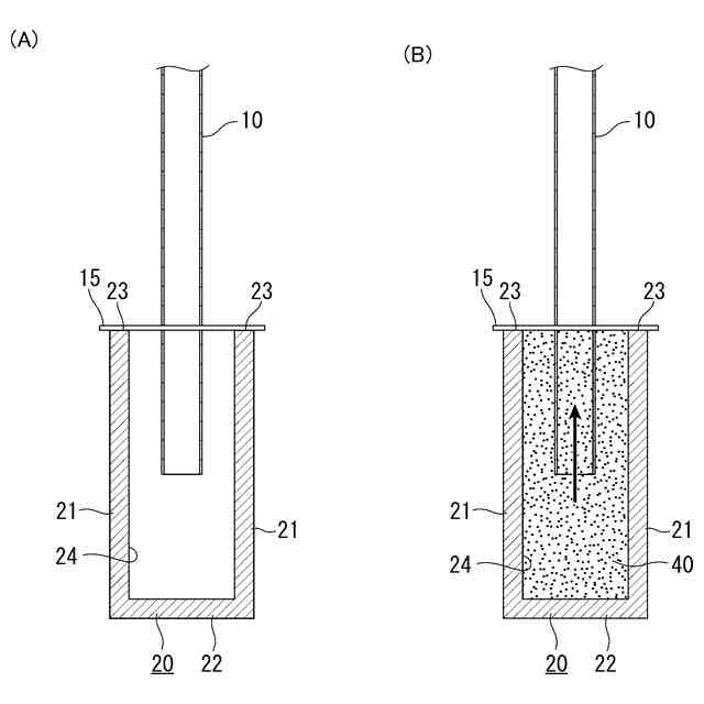
第1実施形態の柱の固定方法を示す説明図である。
第1実施形態の柱の固定方法を示す説明図である。
第1実施形態の柱の固定方法を示す説明図である。
第2実施形態の柱の固定方法を示す説明図である。
第2実施形態の柱の固定方法を示す説明図である。
第3実施形態の柱の固定構造を示す説明図である。
第4実施形態の柱の固定方法を示す説明図である。
第4実施形態の柱の固定構造を示す説明図である。
【発明を実施するための形態】
(【0011】以降は省略されています)
この特許をJ-PlatPat(特許庁公式サイト)で参照する
関連特許
YKK AP株式会社
建具
12日前
YKK AP株式会社
建具
2日前
YKK AP株式会社
戸車および建具
2日前
YKK AP株式会社
パネルおよびパネル設置構造
26日前
個人
屋台
12日前
個人
野良猫ハウス
28日前
個人
転落防止用手摺
22日前
個人
フェンス
1か月前
個人
キャチクランプ
4か月前
個人
地下型マンション
3か月前
個人
筋交自動設定装置
2日前
個人
水害と共にある家
4か月前
積水樹脂株式会社
柵体
21日前
個人
居住車両用駐車場
1か月前
ニチハ株式会社
建築板
1か月前
個人
津波と共にある漁港
4か月前
個人
熱抵抗多層断熱建材
29日前
個人
壁断熱パネル
3か月前
株式会社タナクロ
テント
3か月前
個人
鋼管結合資材
3か月前
個人
地滑りと共にある山荘
4か月前
個人
パーティション
4か月前
個人
柵
1か月前
積水樹脂株式会社
フェンス
5か月前
個人
補強部材
29日前
成友建設株式会社
建物
28日前
鹿島建設株式会社
壁体
1か月前
個人
循環流水式屋根融雪装置
3か月前
個人
身体用シェルター
2日前
個人
身体用シェルター
2日前
三協立山株式会社
構造体
3か月前
三協立山株式会社
構造体
3か月前
三協立山株式会社
構造体
2日前
株式会社熊谷組
木質材料
12日前
イワブチ株式会社
組立柱
21日前
三協立山株式会社
構造体
2日前
続きを見る
他の特許を見る