TOP
|
特許
|
意匠
|
商標
特許ウォッチ
Twitter
他の特許を見る
公開番号
2025119263
公報種別
公開特許公報(A)
公開日
2025-08-14
出願番号
2024014052
出願日
2024-02-01
発明の名称
倉庫
出願人
株式会社ダイフク
代理人
弁理士法人R&C
主分類
B65G
1/00 20060101AFI20250806BHJP(運搬;包装;貯蔵;薄板状または線条材料の取扱い)
要約
【課題】収容棚に大きな不具合が発生する前に、適切に警告を出力することが可能な監視システムを備えた倉庫の実現が望まれる。
【解決手段】複数の収容部3、及び、フレーム4を備えた収容棚2と、収容棚2を監視する監視システム5と、を備えた倉庫であって、監視システム5は、ひずみ検出部11と、ひずみ検出部11による検出結果に基づいて収容棚2についての警告出力を行う警告部と、を備え、フレーム4は、複数の柱21と、ブレース23と、を備え、ブレース23は、上下方向に対して傾斜した方向に沿って配置され、複数の柱21における上下方向の異なる箇所同士を連結するように構成され、ひずみ検出部11は、ブレース23のひずみの大きさを検出するように構成され、警告部は、ひずみ検出部11による検出結果に基づいて、予め定められた警告条件が満たされた場合に、警告出力を行う。
【選択図】図3
特許請求の範囲
【請求項1】
それぞれに物品が収容される複数の収容部、及び、複数の前記収容部を支持するフレームを備えた収容棚と、前記収容棚を監視する監視システムと、を備えた倉庫であって、
前記監視システムは、ひずみ検出部と、前記ひずみ検出部による検出結果に基づいて前記収容棚についての警告出力を行う警告部と、を備え、
前記フレームは、上下方向に沿って配置された複数の柱と、ブレースと、を備え、
前記ブレースは、上下方向に対して傾斜した方向に沿って配置され、上下方向視で互いに離間して配置された複数の前記柱における上下方向の異なる箇所同士を連結するように構成され、
前記ひずみ検出部は、前記ブレースに取り付けられて前記ブレースのひずみの大きさを検出するように構成され、
前記警告部は、前記ひずみ検出部による検出結果に基づいて、予め定められた警告条件が満たされた場合に、前記警告出力を行う、倉庫。
続きを表示(約 830 文字)
【請求項2】
前記監視システムは、複数の前記ひずみ検出部を備え、
前記フレームは、複数の前記ブレースを備え、
複数の前記ひずみ検出部は、互いに異なる前記ブレースに取り付けられている、請求項1に記載の倉庫。
【請求項3】
前記ブレースは、第1の前記柱との連結部である第1連結部と、第2の前記柱との連結部である第2連結部と、を備え、
前記ひずみ検出部は、前記ブレースにおける、前記第1連結部と前記第2連結部とを結ぶ基準線に沿うように取り付けられている、請求項1又は2に記載の倉庫。
【請求項4】
前記ひずみ検出部は、1つの前記ブレースにおける、複数の前記柱のそれぞれとの連結部のうちで最も下側に位置する連結部に取り付けられている、請求項1又は2に記載の倉庫。
【請求項5】
前記警告条件は、前記ひずみ検出部による検出結果に基づいて演算された、前記監視システムによる前記ブレースの監視対象箇所に作用する応力の値である推定応力値が、予め定められた応力しきい値以上になったことである、請求項1又は2に記載の倉庫。
【請求項6】
前記応力しきい値は、前記監視対象箇所の降伏点に基づいて設定され、
前記警告出力は、前記収容棚の使用制限を求める警告を出力することを含む、請求項5に記載の倉庫。
【請求項7】
前記監視システムは、記録部を更に備え、
前記警告部は、前記ひずみ検出部による検出結果に基づいて演算された、前記監視システムによる前記ブレースの監視対象箇所に作用する応力の値である推定応力値が、予め定められたしきい値以上になった場合に、前記推定応力値を前記記録部に記録するように構成され、
前記警告条件は、前記記録部に記録された前記推定応力値の積算値が、予め定められた判定しきい値以上になったことである、請求項1又は2に記載の倉庫。
発明の詳細な説明
【技術分野】
【0001】
本発明は、倉庫に関する。
続きを表示(約 1,600 文字)
【背景技術】
【0002】
例えば、特開2007-137575号公報(特許文献1)には、倉庫に関する技術が開示されている。以下、背景技術の説明において括弧内に示す符号は特許文献1のものである。
【0003】
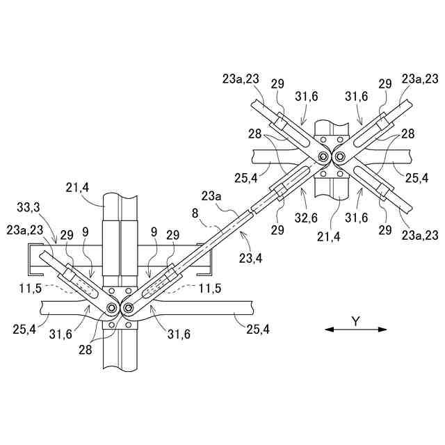
特許文献1の倉庫は、収容棚(ラック1)を備えている。この収容棚は、物品が収容される複数の収容部と、収容部を支持するフレームとを備えている。フレームは、それぞれが互いに離間して配置された複数の柱(前側支柱材8、後側支柱材9)と、隣り合う柱同士を連結する水平連結フレーム(5)と、垂直面ブレース(6)と、を備えている。水平連結フレーム(5)は、水平方向に沿うと共に上下方向に分かれて複数配置されている。垂直面ブレース(6)は、上下方向に対して傾斜した姿勢で、複数の柱を連結するように配置されている。
【先行技術文献】
【特許文献】
【0004】
特開2007-137575号公報
【発明の概要】
【発明が解決しようとする課題】
【0005】
特許文献1のような倉庫では、例えば、地震の揺れによる外力や、長年の使用による経年劣化等により、フレームが変形し、その結果、収容棚に物品を適切に保管することができなくなったり、収容棚に対して物品を適切に出し入れすることが難しくなったりするといった問題が生じる虞がある。従って、このような問題が生じる前に収容棚の状態を把握し、保守や修理等の対応を行えることが望ましい。
【0006】
そこで、収容棚に大きな不具合が発生する前に、適切に警告を出力することが可能な監視システムを備えた倉庫の実現が望まれる。
【課題を解決するための手段】
【0007】
本開示に係る倉庫は、それぞれに物品が収容される複数の収容部、及び、複数の前記収容部を支持するフレームを備えた収容棚と、前記収容棚を監視する監視システムと、を備えた倉庫であって、
前記監視システムは、ひずみ検出部と、前記ひずみ検出部による検出結果に基づいて前記収容棚についての警告出力を行う警告部と、を備え、
前記フレームは、上下方向に沿って配置された複数の柱と、ブレースと、を備え、
前記ブレースは、上下方向に対して傾斜した方向に沿って配置され、上下方向視で互いに離間して配置された複数の前記柱における上下方向の異なる箇所同士を連結するように構成され、
前記ひずみ検出部は、前記ブレースに取り付けられて前記ブレースのひずみの大きさを検出するように構成され、
前記警告部は、前記ひずみ検出部による検出結果に基づいて、予め定められた警告条件が満たされた場合に、前記警告出力を行う。
【0008】
本構成によれば、収容棚のフレームのうち、荷重によるひずみが比較的大きくなり易いブレースに生じたひずみの大きさを検出することができる。従って、フレームに生じたひずみを精度よく検出することができる。また、警告部は、ブレースのひずみの検出結果に基づいて収容棚についての警告出力を行うため、収容棚に大きな不具合が発生する前に警告を出力することができる。従って、収容棚に対する保守や修理等の対応を適切に行うことができる。
このように本構成によれば、収容棚に大きな不具合が発生する前に、適切に警告を出力することができる。
【0009】
倉庫のさらなる特徴と利点は、図面を参照して説明する例示的且つ非限定的な実施形態についての以下の記載から明確となる。
【図面の簡単な説明】
【0010】
倉庫の全体概要を模式的に示す平面図
収容棚の側面図
収容棚の背面図
ブレースの要部拡大図
制御ブロック図
制御フロー図
制御フロー図
【発明を実施するための形態】
(【0011】以降は省略されています)
この特許をJ-PlatPat(特許庁公式サイト)で参照する
関連特許
株式会社ダイフク
洗車機
1日前
株式会社ダイフク
物品仕分け設備
9日前
個人
バンド
1か月前
個人
廃棄物収容容器
2か月前
個人
包装容器
20日前
個人
積み重ね用補助具
2か月前
株式会社バンダイ
物品
1日前
個人
介護用コップ
1か月前
三甲株式会社
容器
1か月前
個人
簡単レジ袋オープナー
1か月前
個人
ブリスタ包装体
1か月前
個人
異常検知式部品供給装置
29日前
個人
容器
1か月前
三甲株式会社
容器
1か月前
株式会社トーモク
包装箱
6日前
株式会社トーモク
包装箱
29日前
三甲株式会社
容器
1か月前
日清食品株式会社
ピロー包装機
1か月前
株式会社高木包装
搬送箱
10日前
株式会社カネカ
積層装置
10日前
靜甲株式会社
容器整列装置
1か月前
靜甲株式会社
容器搬送装置
1か月前
個人
袋体の自立保持シート
13日前
くら寿司株式会社
整列装置
1か月前
花王株式会社
組立体
20日前
伊東電機株式会社
搬送装置
21日前
村田機械株式会社
糸巻取機
1か月前
靜甲株式会社
容器整列装置
1か月前
株式会社吉野工業所
吐出容器
29日前
三甲株式会社
パレット
2か月前
株式会社エフピコ
包装用容器
6日前
三甲株式会社
パレット
2か月前
株式会社吉野工業所
吐出容器
2か月前
株式会社SANKA
収納容器
1か月前
株式会社エフピコ
包装用容器
1か月前
株式会社三協システム
製函機
28日前
続きを見る
他の特許を見る