TOP
|
特許
|
意匠
|
商標
特許ウォッチ
Twitter
他の特許を見る
公開番号
2025118055
公報種別
公開特許公報(A)
公開日
2025-08-13
出願番号
2024013133
出願日
2024-01-31
発明の名称
ドアパネル及び建具
出願人
YKK AP株式会社
代理人
弁理士法人酒井国際特許事務所
主分類
E06B
3/74 20060101AFI20250805BHJP(戸,窓,シャッタまたはローラブラインド一般;はしご)
要約
【課題】アタッチメントの取り付け状態を安定させ、かつ外観品質が損なわれる事態を防止する。
【解決手段】四周に木材もしくは木質材によって成形されたドア基部21を備えるドアパネル20であって、ドア基部21の外周側となる部分には、ドア基部21の外周面を覆う金属製のアタッチメント22が取り付けられ、アタッチメント22には、ドア基部21の外周面に対向する内表面に突出するように皿ネジ40用の皿絞り加工22fが設けられ、かつ内表面において皿絞り加工22fによって構成される突部22hの両側となる部分にそれぞれ突起部22eが設けられている。
【選択図】図2
特許請求の範囲
【請求項1】
少なくとも四周の外周に木材もしくは木質材が現れるように構成されたドア基部を備えるドアパネルであって、
前記ドア基部の外周側となる部分には、少なくとも前記ドア基部の外周面を覆う金属製のアタッチメントが取り付けられ、
前記アタッチメントには、前記ドア基部の外周面に対向する内表面に突出するように固定ネジ用の皿絞り加工が設けられ、かつ前記内表面において前記皿絞り加工の両側となる部分にそれぞれ突起部が設けられていることを特徴とするドアパネル。
続きを表示(約 680 文字)
【請求項2】
前記アタッチメントは、左右に配置されたドア基部の外周面を覆うように取り付けられていることを特徴とする請求項1に記載のドアパネル。
【請求項3】
前記アタッチメントは、下方に配置されたドア基部の外周面を覆うように取り付けられていることを特徴とする請求項1に記載のドアパネル。
【請求項4】
前記アタッチメントには、外周側に向けて突出するように突条部材が設けられていることを特徴とする請求項1に記載のドアパネル。
【請求項5】
前記突条部材は、前記アタッチメントに設けられた装着部に装着されたものであり、前記装着部は、前記アタッチメントの外表面に開口する一方、内表面から突出するように設けられ、前記外表面に開口に前記突条部材を装着するものであり、前記内表面から突出する部分が前記突起部を兼用することを特徴とする請求項4に記載のドアパネル。
【請求項6】
前記ドア基部と前記アタッチメントとの間には前記突起部によって隙間が構成され、前記隙間にはシーリング材が設けられていることを特徴とする請求項1に記載のドアパネル。
【請求項7】
前記ドア基部と前記アタッチメントとの間には前記突起部によって隙間が構成され、前記隙間には前記アタッチメントの端部に装着されるキャップの挿入片が挿入されていることを特徴とする請求項1に記載のドアパネル。
【請求項8】
請求項1~請求項7のいずれか一つに記載したドアパネルが枠体に開閉可能に支持されていることを特徴とする建具。
発明の詳細な説明
【技術分野】
【0001】
本発明は、ドアパネル及びドアパネルを備えた建具に関するものである。
続きを表示(約 2,000 文字)
【背景技術】
【0002】
枠体に対してドアパネルが開閉可能に支持された建具では、木製の芯材に対して四周の外周側となる部分にアルミニウム等の金属によって成形されたアタッチメントを取り付けるようにしたものがある。アタッチメントは、外周側からネジ部材を螺合することによって芯材に取り付けられている(例えば、特許文献1参照)。
【先行技術文献】
【特許文献】
【0003】
実開昭58-68590号公報
【発明の概要】
【発明が解決しようとする課題】
【0004】
ところで、上述したドアパネルでは、単にネジ部材を螺合した場合、アタッチメントの外表面からネジ部材の頭部が突出する構成となり、外観品質を考慮すると必ずしも好ましいとはいえない。こうした問題は、アタッチメントに皿絞り加工を施すことによって解決することが可能である。すなわち、アタッチメントに皿絞り加工を施せば、ネジ部材の頭部を皿絞りした部分に収容することができる。しかしながら、皿絞り加工を施したアタッチメントにあっては、芯材に対向する内表面が円錐台状に突出することになる。このため、ネジ部材を螺合した場合にも、芯材に対しては皿絞りした部分のみが部分的に当接することになり、アタッチメントの取り付け状態が不安定となる懸念がある。
【0005】
本発明は、上記実情に鑑みて、アタッチメントの取り付け状態を安定させ、かつ外観品質が損なわれる事態を防止することのできるドアパネル及び建具を提供することを目的とする。
【課題を解決するための手段】
【0006】
上記目的を達成するため、本発明に係るドアパネル及び建具は、四周に木材もしくは木質材によって成形されたドア基部を備えるドアパネルであって、前記ドア基部の外周側となる部分には、少なくとも前記ドア基部の外周面を覆う金属製のアタッチメントが取り付けられ、前記アタッチメントには、前記ドア基部の外周面に対向する内表面に突出するように固定ネジ用の皿絞り加工が設けられ、かつ前記内表面において前記皿絞り加工の両側となる部分にそれぞれ突起部が設けられていることを特徴とする。
【発明の効果】
【0007】
本発明によれば、皿絞り加工の両側となる部分に設けた突起部がドア基部に当接することになるため、取り付け状態を安定させ、かつ外観品質が損なわれる事態を防止することが可能となる。
【図面の簡単な説明】
【0008】
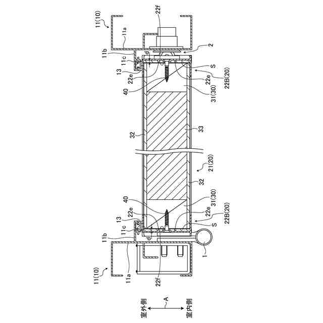
本発明の実施の形態である建具を室外側から見た姿図である。
図1に示した建具の縦断面図である。
図1に示した建具の横断面図である。
図1に示した建具の要部を示すもので、(a)はドアパネルの上方部分を示す分解縦断面図、(b)は下方部分を示す分解縦断面図である。
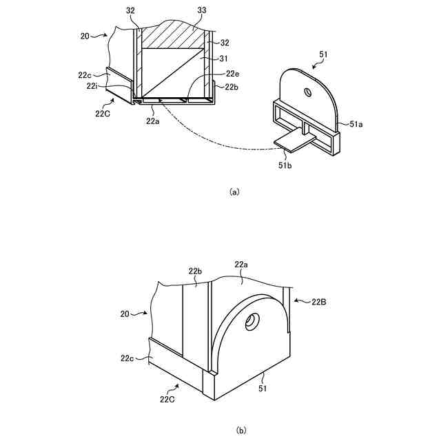
図1に示した建具の要部を示すもので、(a)は下方部分を示す分解斜視図、(b)は下方部分の斜視図である。
本発明の変形例である建具を室外側から見た姿図である。
図6に示した建具の横断面図である。
【発明を実施するための形態】
【0009】
以下、添付図面を参照しながら本発明に係るドアパネル及び建具の好適な実施の形態について詳細に説明する。なお、以下においては便宜上、見込み方向及び見付け方向という用語を用いる場合がある。見込み方向とは、図中の矢印Aで示すように、建具の奥行きに沿った方向である。見込み方向に沿った面については見込み面と称する場合がある。見付け方向とは、上枠等のように水平方向に沿って延在するものの場合、見込み方向に直交した上下に沿う方向である。縦枠等のように上下方向に沿って延在するものの場合には、見込み方向に直交した水平に沿う方向を見付け方向という。見付け方向に沿った面については、見付け面と称する場合がある。
【0010】
図1~図3は、本発明の実施の形態である建具を示したものである。ここで例示する建具は、枠体10と、枠体10に開閉可能に支持させたドアパネル20とを備えた玄関ドアである。枠体10は、左右の縦枠11と、縦枠11の上端部相互間に架設した上枠12とを備えて構成してあり、建物の玄関となる開口部に取り付けてある。縦枠11、上枠12は、それぞれ見込み方向に沿って延在する基枠部11a,12aと、基枠部11a,12aの内周側となる見込み面において室外側寄りとなる部分から内周側に向けて延在した戸当り板部11b,12bとを有したものである。戸当り板部11b,12bの延在縁部には、室内に臨む部分にシール装着部11c,12cを介してシール部材13が装着してある。
(【0011】以降は省略されています)
この特許をJ-PlatPat(特許庁公式サイト)で参照する
関連特許
YKK AP株式会社
建具
13日前
YKK AP株式会社
建具
3日前
YKK AP株式会社
戸体
1か月前
YKK AP株式会社
屋根構造体
今日
YKK AP株式会社
屋根構造体
今日
YKK AP株式会社
屋根構造体
今日
YKK AP株式会社
屋根構造体
今日
YKK AP株式会社
戸車および建具
3日前
YKK AP株式会社
シャッターユニット
1か月前
YKK AP株式会社
カーテンウォールユニット
今日
YKK AP株式会社
パネルおよびパネル設置構造
27日前
YKK AP株式会社
屋根構造体及び屋根構造体の施工方法
今日
BXテンパル株式会社
パーゴラ式オーニング装置
1か月前
YKK AP株式会社
改装建具及び改装建具の施工方法
1か月前
YKK AP株式会社
改装建具及び改装建具の施工方法
1か月前
個人
網戸
4か月前
個人
脚立の転落防止ポール
4か月前
株式会社ナカオ
作業台
22日前
株式会社ESP
止水板
1か月前
三協立山株式会社
建具
4か月前
中国電力株式会社
脚立
1か月前
三協立山株式会社
構造体
3か月前
三協立山株式会社
構造体
3か月前
株式会社ニチベイ
ブラインド
4か月前
三協立山株式会社
開口部装置
1か月前
三協立山株式会社
開口部装置
1か月前
三協立山株式会社
開口部装置
3か月前
三協立山株式会社
開口部装置
1か月前
三協立山株式会社
改装サッシ
4か月前
三協立山株式会社
開口部装置
24日前
三協立山株式会社
開口部装置
24日前
三協立山株式会社
開口部建材
4か月前
三協立山株式会社
開口部装置
4か月前
三協立山株式会社
開口部装置
4か月前
三協立山株式会社
開口部装置
3か月前
ミサワホーム株式会社
水切り材
1か月前
続きを見る
他の特許を見る