TOP
|
特許
|
意匠
|
商標
特許ウォッチ
Twitter
他の特許を見る
10個以上の画像は省略されています。
公開番号
2025117168
公報種別
公開特許公報(A)
公開日
2025-08-12
出願番号
2024011886
出願日
2024-01-30
発明の名称
配線基板およびそれを用いた実装構造体
出願人
京セラ株式会社
代理人
個人
,
個人
,
弁理士法人ブナ国際特許事務所
主分類
H05K
1/02 20060101AFI20250804BHJP(他に分類されない電気技術)
要約
【課題】ソルダーレジストの開口部から露出する接地用導体をはんだでコーティングした場合にも、開口部から露出する接地用導体をアライメントマークとして容易に認識し得る配線基板を提供する。
【解決手段】本開示に係る配線基板は、第1面を有する第1絶縁層と、第1面に位置するとともに、第1面と反対側に第2面を有する第1導体層と、第1面および第2面を被覆し第1導体層の一部を露出する開口部を有するとともに、第2面と反対側に第3面を有するソルダーレジストと、開口部内の第2面に位置するはんだとを含む。開口部は、第3面から第2面にかけて位置する開口側面と、第2面側に位置する開口縁とを含む。開口縁の周囲の少なくとも一部と第2面との間に間隙が位置している。
【選択図】図1B
特許請求の範囲
【請求項1】
第1面を有する第1絶縁層と、
前記第1面に位置するとともに、該第1面と反対側に第2面を有する第1導体層と、
前記第1面および前記第2面を被覆し、前記第1導体層の一部を露出する開口部を有するとともに、該第2面と反対側に第3面を有するソルダーレジストと、
前記開口部内の前記第2面に位置するはんだと、
を含み、
前記開口部は、前記第3面から前記第2面にかけて位置する開口側面と、前記第2面側に位置する開口縁とを含み、
前記開口縁の周囲の少なくとも一部と前記第2面との間に間隙が位置している、
配線基板。
続きを表示(約 380 文字)
【請求項2】
前記はんだは、前記間隙に位置していない、請求項1に記載の配線基板。
【請求項3】
前記間隙が、前記開口縁の全周囲と前記第2面との間に位置している、請求項1に記載の配線基板。
【請求項4】
前記間隙が、前記開口縁から前記第1導体層の面方向に2μm以上20μm以下の長さを有する、請求項1に記載の配線基板。
【請求項5】
前記開口側面と前記ソルダーレジストの前記第3面とのなす第1角度が、90°以上120°以下である、請求項1に記載の配線基板。
【請求項6】
平面視した場合、前記開口部は、円形状または十字形状を有する、請求項1に記載の配線基板。
【請求項7】
請求項1~6のいずれかに記載の配線基板と、該配線基板の実装領域に位置する電子部品とを含む、実装構造体。
発明の詳細な説明
【技術分野】
【0001】
本開示は、配線基板およびそれを用いた実装構造体に関する。
続きを表示(約 1,600 文字)
【背景技術】
【0002】
配線基板において、ソルダーレジストの直下に位置する導体を、ソルダーレジストの開口部から露出させて、アライメントマークとして使用することがある。この開口部にはんだが設けられ、開口部から露出する導体を、はんだでコーティングする場合がある(例えば、特許文献1)。
【先行技術文献】
【特許文献】
【0003】
特開2021-68792
【発明の開示】
【発明が解決しようとする課題】
【0004】
アライメントマークとして機能する導体をはんだでコーティングした場合、ソルダーレジストとはんだとの明暗差が小さくなる。そのため、アライメントマークとして認識するのが困難になる。
【0005】
本開示の課題は、ソルダーレジストの開口部から露出する導体をはんだでコーティングした場合にも、開口部から露出する導体をアライメントマークとして容易に認識し得る配線基板を提供することである。
【課題を解決するための手段】
【0006】
本開示に係る配線基板は、第1面を有する第1絶縁層と、第1面に位置するとともに、第1面と反対側に第2面を有する第1導体層と、第1面および第2面を被覆し第1導体層の一部を露出する開口部を有するとともに、第2面と反対側に第3面を有するソルダーレジストと、開口部内の第2面に位置するはんだとを含む。開口部は、第3面から第2面にかけて位置する開口側面と、第2面側に位置する開口縁とを含む。開口縁の周囲の少なくとも一部と第2面との間に間隙が位置している。
【0007】
本開示に係る実装構造体は、上記の配線基板と、この配線基板の実装領域に位置する電子部品とを含む。
【発明の効果】
【0008】
本開示に係る配線基板は、課題を解決するための手段の欄に記載のような構成を有することによって、ソルダーレジストの開口部から露出する導体をはんだでコーティングした場合にも、開口部から露出する導体をアライメントマークとして容易に認識し得る。
【図面の簡単な説明】
【0009】
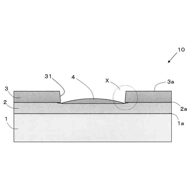
図1Aは、本開示の一実施形態に係る配線基板において、要部の一実施形態を説明するための説明図であり、図1Bは、図1Aに示す領域Xを説明するための拡大説明図であり、図1Cは、図1Aに示す要部を、アライメントマークとして認識させた状態の一例を示す模式図である。
図2Aは、本開示の一実施形態に係る配線基板において、要部の一実施形態をアライメントマークとして認識させた状態を示す写真であり、図2Bは、図2Aに示す写真の二値化画像である。
図3Aは、本開示の一実施形態に係る配線基板において、要部の他の実施形態をアライメントマークとして認識させた状態を示す写真であり、図3Bは、図3Aに示す写真の二値化画像である。
図4Aは、本開示の一実施形態に係る配線基板において、要部のさらに他の実施形態をアライメントマークとして認識させた状態を示す写真であり、図4Bは、図4Aに示す写真の二値化画像である。
図5Aは、本開示の一実施形態に係る配線基板において、要部のさらに他の実施形態をアライメントマークとして認識させた状態を示す写真であり、図5Bは、図5Aに示す写真の二値化画像である。
【発明を実施するための形態】
【0010】
本開示の一実施形態に係る配線基板を、図1A~図1Cに基づいて説明する。図1Aは、本開示の一実施形態に係る配線基板10において、要部の一実施形態を説明するための説明図である。図1Aに示す配線基板10は、図示していないものの、配線基板10は、例えばコア層およびビルドアップ層を含む。
(【0011】以降は省略されています)
この特許をJ-PlatPat(特許庁公式サイト)で参照する
関連特許
京セラ株式会社
二次電池
1か月前
京セラ株式会社
蓄電装置
4日前
京セラ株式会社
弾性波装置
17日前
京セラ株式会社
粒子分離装置
4日前
京セラ株式会社
センサシステム
10日前
京セラ株式会社
静圧気体軸受装置
3日前
京セラ株式会社
太陽電池モジュール
26日前
京セラ株式会社
コネクタ及び取付方法
5日前
京セラ株式会社
走査装置及び制御装置
3日前
京セラ株式会社
走査装置及び制御装置
3日前
京セラ株式会社
配線基板及び電子装置
10日前
京セラ株式会社
配線基板及び電子装置
10日前
京セラ株式会社
流路デバイスの準備方法
5日前
京セラ株式会社
発光装置および照明装置
14日前
京セラ株式会社
太陽電池付きカーポート
3日前
京セラ株式会社
太陽電池付きカーポート
3日前
京セラ株式会社
半導体装置及びその製造方法
1か月前
京セラ株式会社
受電装置及び光給電システム
5日前
京セラ株式会社
取付部材及びヘッド取付方法
11日前
京セラ株式会社
骨モデルおよび表示システム
1か月前
京セラ株式会社
電源制御装置及び電源制御方法
1か月前
京セラ株式会社
液体吐出ヘッドおよび記録装置
1か月前
京セラ株式会社
電源制御装置及び電源制御方法
1か月前
京セラ株式会社
電源制御装置及び電源制御方法
1か月前
京セラ株式会社
フィルタデバイスおよび通信装置
10日前
京セラ株式会社
液滴吐出ヘッドおよび液滴吐出装置
1か月前
京セラ株式会社
揺動装置、電磁波照射装置、及び制御装置
3日前
京セラ株式会社
光通信装置、光通信システム及び光照射素子
6日前
京セラ株式会社
情報処理装置及び学習モデル用データ生成方法
1か月前
京セラ株式会社
ホルダ、切削工具、及び切削加工物の製造方法
4日前
京セラ株式会社
ノード、方法、プログラム及び分散台帳システム
5日前
京セラ株式会社
多層基板、フィルタモジュール、および通信装置
14日前
京セラ株式会社
表示システム、表示制御装置及び表示制御プログラム
1か月前
京セラ株式会社
表示システム、表示制御装置及び表示制御プログラム
1か月前
京セラ株式会社
切削インサート、切削工具及び切削加工物の製造方法
1か月前
京セラ株式会社
プログラム、給電方法、給電装置及び光給電システム
4日前
続きを見る
他の特許を見る