TOP
|
特許
|
意匠
|
商標
特許ウォッチ
Twitter
他の特許を見る
10個以上の画像は省略されています。
公開番号
2025117114
公報種別
公開特許公報(A)
公開日
2025-08-12
出願番号
2024011804
出願日
2024-01-30
発明の名称
隙間塞ぎ構造およびアタッチメント
出願人
YKK AP株式会社
代理人
弁理士法人酒井国際特許事務所
主分類
E04B
1/343 20060101AFI20250804BHJP(建築物)
要約
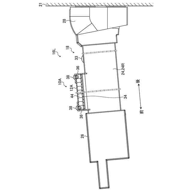
【課題】妻垂木を汎用的に利用することのできる隙間塞ぎ構造を提供する。
【解決手段】隙間塞ぎ構造10Aは、隣り合う屋根構造体18間の隙間32塞ぐものであり、妻垂木24L,24Rに対してそれぞれ固定されるアタッチメント12Aと、一対のアタッチメント12Aの間に設けられる面材34とを有する。一対のアタッチメント12Aは、X1側に向けて上下に並んで突出する第1突出片12dおよび第2突出片12eによって形成される開口部12aを備える。面材34の両縁は開口部12aに嵌り込んで支持されている。一対のアタッチメント12Aは左右対称形状であり、開口部12aの底部を形成する縦壁12c、および該縦壁12cからX2側に突出して妻垂木24の上面に接する上下位置決め片12bを有する。
【選択図】図3
特許請求の範囲
【請求項1】
隣り合う屋根構造体間の隙間塞ぎ構造であって、
隣り合う前記屋根構造体における妻垂木に対してそれぞれ固定されるアタッチメントと、
一対の前記アタッチメントの間に設けられる面材と、
を有し、
一対の前記アタッチメントは、対向する側に向けて上下に並んで突出する第1突出片および第2突出片によって形成される開口部を備え、
前記面材の両縁は、一対の前記アタッチメントにおける前記開口部に嵌り込んで支持されている
ことを特徴とする隙間塞ぎ構造。
続きを表示(約 1,100 文字)
【請求項2】
一対の前記アタッチメントは左右対称形状であり、前記開口部の底部を形成する縦壁、および該縦壁から前記第1突出片および第2突出片とは反対側に突出して前記妻垂木の上面に接する上下位置決め片を有し、
前記上下位置決め片は、前記第1突出片と同じ高さ、または近傍高さに形成されている
ことを特徴とする請求項1に記載の隙間塞ぎ構造。
【請求項3】
前記アタッチメントは、前記第1突出片が下側で前記第2突出片が上側となる向きに配置され、前記上下位置決め片が前記妻垂木に固定されている
ことを特徴とする請求項2に記載の隙間塞ぎ構造。
【請求項4】
前記アタッチメントは、前記第2突出片が下側で前記第1突出片が上側となる向きに配置され、前記縦壁が前記妻垂木に固定されている
ことを特徴とする請求項2に記載の隙間塞ぎ構造。
【請求項5】
前記第1突出片は、前記第2突出片と対面する側に形成されたポケットを有し
前記ポケットには前記面材の一面に当接するガスケットが装着され、
前記面材は、一方の面が前記ガスケットに当接し、他方の面と前記第2突出片との間にシール材が封入されることで支持されている
ことを特徴とする請求項2に記載の隙間塞ぎ構造。
【請求項6】
前記第1突出片は、前記第2突出片と対面する側に開口するポケットを有し、
前記ポケットには前記面材の一面に当接するガスケットが装着され、
前記アタッチメントは、前記第2突出片が下側で前記第1突出片が上側となる向きに配置され、前記縦壁が前記妻垂木に対して固定具で固定され、
前記ガスケットと前記第2突出片とは前記固定具が挿通可能に離れている
ことを特徴とする請求項2に記載の隙間塞ぎ構造。
【請求項7】
前記上下位置決め片と前記縦壁または該縦壁の延長片とにより、前記第1突出片が設けられている側に入隅部が形成されている
ことを特徴とする請求項2に記載の隙間塞ぎ構造。
【請求項8】
隣り合う屋根構造体における妻垂木に対してそれぞれ固定されるアタッチメントであって、
縦壁と、
前記縦壁から一方に向けて上下に並んで突出して前記縦壁とともに開口部を形成する第1突出片および第2突出片と、
他方に向けて突出して前記妻垂木の上面に接する上下位置決め片と、
を有し、
前記上下位置決め片は、前記第1突出片と同じ高さ、または近傍高さに形成されている
ことを特徴とするアタッチメント。
発明の詳細な説明
【技術分野】
【0001】
本発明は、隣り合う屋根構造体間の隙間塞ぎ構造、および該隙間塞ぎ構造に適用されるアタッチメントに関する。
続きを表示(約 1,600 文字)
【背景技術】
【0002】
カーポートは一般的に屋根構造体を支柱で支える構造となっている。連棟式のカーポートの場合、隣り合う屋根構造体間の隙間を塞ぐことが好ましい。特許文献1では、妻垂木の側面に凹溝が形成されており、隣り合う妻垂木の凹溝にファスナーの両縁を留めることで屋根構造体間の隙間を塞ぐことが提案されている。
【先行技術文献】
【特許文献】
【0003】
特開平10-131376号公報
【発明の概要】
【発明が解決しようとする課題】
【0004】
特許文献1に記載の構造では、妻垂木に専用の凹溝が形成されていて隣り合う屋根構造体間の隙間を塞ぐために活用されるが、屋根構造体が隣り合っていない箇所には無用であり、結局は凹溝が形成されているものと形成されていないものを揃えなければならず汎用性に乏しい。
【0005】
本発明は、上記の課題に鑑みてなされたものであって、妻垂木を汎用的に利用することのできる隙間塞ぎ構造およびアタッチメントを提供することを目的とする。
【課題を解決するための手段】
【0006】
上述した課題を解決し、目的を達成するために、本発明にかかる隙間塞ぎ構造は、隣り合う屋根構造体間の隙間塞ぎ構造であって、隣り合う前記屋根構造体における妻垂木に対してそれぞれ固定されるアタッチメントと、一対の前記アタッチメントの間に設けられる面材と、を有し、一対の前記アタッチメントは、対向する側に向けて上下に並んで突出する第1突出片および第2突出片によって形成される開口部を備え、前記面材の両縁は、一対の前記アタッチメントにおける前記開口部に嵌り込んで支持されていることを特徴とする。
【0007】
また、本発明にかかるアタッチメントは、隣り合う屋根構造体における妻垂木に対してそれぞれ固定されるアタッチメントであって、縦壁と、前記縦壁から一方に向けて上下に並んで突出して前記縦壁とともに開口部を形成する第1突出片および第2突出片と、他方に向けて突出して前記妻垂木の上面に接する上下位置決め片と、を有し、前記上下位置決め片は、前記第1突出片と同じ高さ、または近傍高さに形成されていることを特徴とする。
【発明の効果】
【0008】
本発明では、隣り合う屋根構造体における左右端の妻垂木を全て同じものを適用することができ汎用的に利用することができる。
【図面の簡単な説明】
【0009】
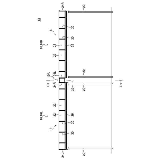
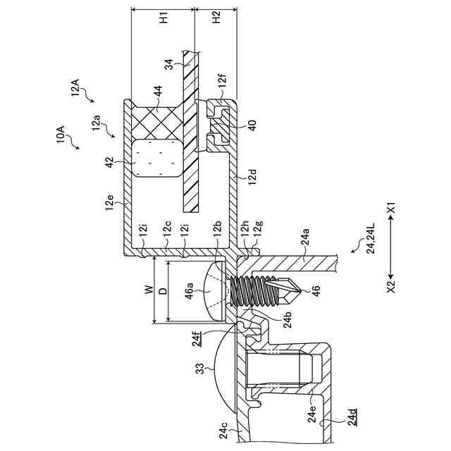
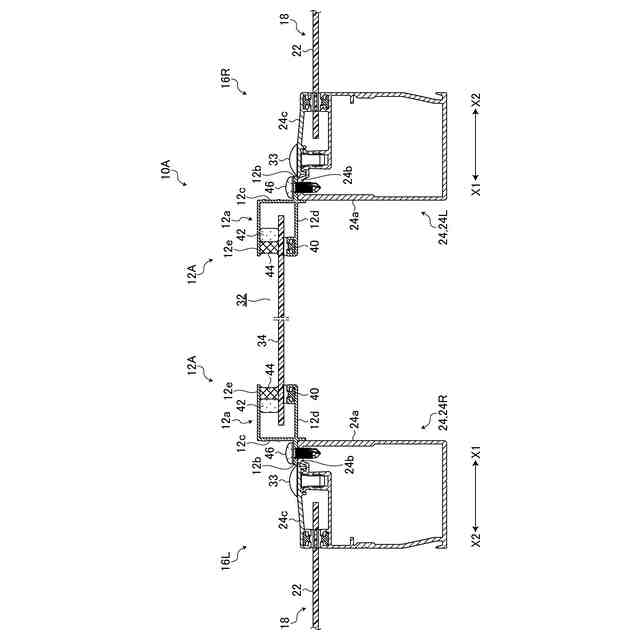
第1実施形態にかかる隙間塞ぎ構造およびアタッチメントが適用されている連棟式カーポートの正面図である。
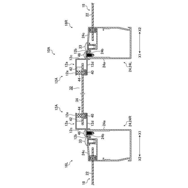
図1におけるII~II線視による断面図である。
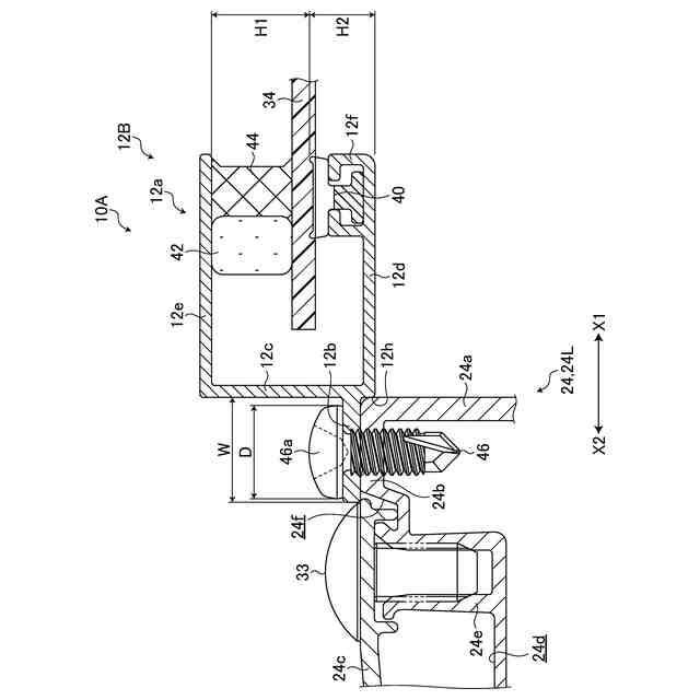
第1実施形態にかかる隙間塞ぎ構造の断面正面図である。
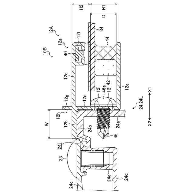
図2の一部拡大断面側面図である。
第1実施形態にかかる隙間塞ぎ構造の左端部とその周辺部の断面正面図である。
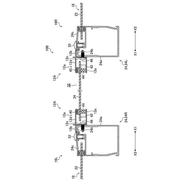
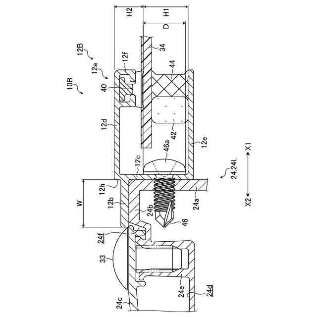
第2実施形態にかかる隙間塞ぎ構造の断面正面図である。
第2実施形態にかかる隙間塞ぎ構造の左端部とその周辺部の断面正面図である。X1方向、X2方向の規定は隙間塞ぎ構造と同様である。
変形例にかかるアタッチメントを適用した隙間塞ぎ構造の左端部とその周辺部の断面正面図である。
変形例にかかるアタッチメントを適用した隙間塞ぎ構造の左端部とその周辺部の断面正面図である。
【発明を実施するための形態】
【0010】
以下に、本発明にかかる隙間塞ぎ構造およびアタッチメントの実施形態を図面に基づいて詳細に説明する。なお、この実施形態によりこの発明が限定されるものではない。まず、本発明の第1実施形態にかかる隙間塞ぎ構造10Aおよびアタッチメント12Aについて説明する。
(【0011】以降は省略されています)
この特許をJ-PlatPat(特許庁公式サイト)で参照する
関連特許
YKK AP株式会社
建具
6日前
YKK AP株式会社
建具
16日前
YKK AP株式会社
戸体
1か月前
YKK AP株式会社
外装体
2日前
YKK AP株式会社
屋根構造体
3日前
YKK AP株式会社
屋根構造体
3日前
YKK AP株式会社
屋根構造体
3日前
YKK AP株式会社
屋根構造体
3日前
YKK AP株式会社
戸車および建具
6日前
YKK AP株式会社
カーテンウォールユニット
3日前
YKK AP株式会社
パネルおよびパネル設置構造
1か月前
YKK AP株式会社
屋根構造体及び屋根構造体の施工方法
3日前
個人
屋台
16日前
個人
野良猫ハウス
1か月前
個人
キャチクランプ
4か月前
個人
転落防止用手摺
26日前
個人
フェンス
1か月前
ニチハ株式会社
建築板
1か月前
個人
筋交自動設定装置
6日前
個人
居住車両用駐車場
1か月前
積水樹脂株式会社
柵体
25日前
個人
水害と共にある家
4か月前
個人
地下型マンション
3か月前
個人
熱抵抗多層断熱建材
1か月前
個人
鋼管結合資材
3か月前
個人
津波と共にある漁港
4か月前
個人
壁断熱パネル
4か月前
株式会社タナクロ
テント
3か月前
個人
柵
1か月前
個人
地滑りと共にある山荘
4か月前
個人
補強部材
1か月前
積水樹脂株式会社
フェンス
5か月前
個人
パーティション
4か月前
個人
循環流水式屋根融雪装置
3か月前
個人
身体用シェルター
6日前
鹿島建設株式会社
壁体
1か月前
続きを見る
他の特許を見る