TOP
|
特許
|
意匠
|
商標
特許ウォッチ
Twitter
他の特許を見る
10個以上の画像は省略されています。
公開番号
2025113426
公報種別
公開特許公報(A)
公開日
2025-08-01
出願番号
2025087876,2021107076
出願日
2025-05-27,2021-06-28
発明の名称
商品販売データ処理装置及びプログラム
出願人
株式会社寺岡精工
代理人
個人
,
個人
主分類
G07G
1/01 20060101AFI20250725BHJP(チェック装置)
要約
【課題】好適に、会員に特典を与える。
【解決手段】商品販売データ処理装置は、会員の会員情報を取得する会員情報取得手段と、商品を精算する精算手段と、前記会員情報取得手段による会員情報の取得に関する会員情報関連画面と前記精算手段による商品の精算に関する精算関連画面とを表示可能な表示手段とを備え、前記表示手段は、前記会員情報関連画面よりも後に前記精算関連画面を表示し、前記精算関連画面において所定の操作が行われた場合に前記会員情報関連画面を表示する。
【選択図】図1
特許請求の範囲
【請求項1】
会員の会員情報を取得する会員情報取得手段と、
商品を登録する登録手段と、
商品を精算する精算手段と、
前記会員情報取得手段による会員情報の取得に関する会員情報関連画面と前記登録手段による商品の登録に関する登録関連画面と前記精算手段による商品の精算に関する精算関連画面とを表示可能な表示手段と
を備え、
前記表示手段は、
前記会員情報関連画面よりも後に前記登録関連画面を表示し、前記登録関連画面において所定の操作が行われた場合に前記会員情報関連画面を表示し、
前記会員情報関連画面よりも後に前記精算関連画面を表示し、前記精算関連画面において前記所定の操作が行われた場合に前記会員情報関連画面を表示する
ことを特徴とする商品販売データ処理装置。
続きを表示(約 2,500 文字)
【請求項2】
会員の会員情報を取得する会員情報取得手段と、
商品を精算する精算手段と、
前記会員情報取得手段による会員情報の取得に関する会員情報関連画面と前記精算手段による商品の精算に関する精算関連画面とを表示可能な表示手段と
を備え、
前記表示手段は、
前記会員情報関連画面よりも後に前記精算関連画面を表示し、前記精算関連画面において所定の操作が行われた場合に前記会員情報関連画面を表示し、
会員情報を取得していないときは前記所定の操作を受け付け可能なボタンを表示し、
会員情報を取得しているときは前記ボタンを表示しない
ことを特徴とする商品販売データ処理装置。
【請求項3】
会員の会員情報を取得する会員情報取得手段と、
商品を精算する精算手段と、
前記会員情報取得手段による会員情報の取得に関する会員情報関連画面と前記精算手段による商品の精算に関する精算関連画面とを表示可能な表示手段と
を備え、
前記表示手段は、
前記会員情報関連画面よりも後に前記精算関連画面を表示し、前記精算関連画面において所定の操作が行われた場合に前記会員情報関連画面を表示し、
会員情報を取得していないときは前記所定の操作を受け付け可能なボタンを表示し、
会員情報を取得しているときは前記ボタンの位置に前記ボタンに代えて会員情報を表示する
ことを特徴とする商品販売データ処理装置。
【請求項4】
会員の会員情報を取得する会員情報取得手段と、
商品を精算する精算手段と、
前記会員情報取得手段による会員情報の取得に関する会員情報関連画面と前記精算手段による商品の精算に関する精算関連画面とを表示可能な表示手段と
を備え、
前記表示手段は、
前記会員情報関連画面よりも後に前記精算関連画面を表示し、前記精算関連画面において所定の操作が行われた場合に前記会員情報関連画面を表示し、
会員には複数種類が存在し、
前記表示手段は、
特定種類の会員の会員情報を取得した場合には特定種類の会員の会員情報を取得した旨がわかるように表示する
ことを特徴とする商品販売データ処理装置。
【請求項5】
商品販売データ処理装置としてコンピュータを機能させるプログラムであって、
前記コンピュータを、
会員の会員情報を取得する会員情報取得手段、
商品を登録する登録手段、
商品を精算する精算手段、
前記会員情報取得手段による会員情報の取得に関する会員情報関連画面と前記登録手段による商品の登録に関する登録関連画面と前記精算手段による商品の精算に関する精算関連画面とを表示可能な表示手段
として機能させ、
前記表示手段は、
前記会員情報関連画面よりも後に前記登録関連画面を表示し、前記登録関連画面において所定の操作が行われた場合に前記会員情報関連画面を表示し、
前記会員情報関連画面よりも後に前記精算関連画面を表示し、前記精算関連画面において前記所定の操作が行われた場合に前記会員情報関連画面を表示する
ことを特徴とするプログラム。
【請求項6】
商品販売データ処理装置としてコンピュータを機能させるプログラムであって、
前記コンピュータを、
会員の会員情報を取得する会員情報取得手段、
商品を精算する精算手段、
前記会員情報取得手段による会員情報の取得に関する会員情報関連画面と前記精算手段による商品の精算に関する精算関連画面とを表示可能な表示手段
として機能させ、
前記表示手段は、
前記会員情報関連画面よりも後に前記精算関連画面を表示し、前記精算関連画面において所定の操作が行われた場合に前記会員情報関連画面を表示し、
会員情報を取得していないときは前記所定の操作を受け付け可能なボタンを表示し、
会員情報を取得しているときは前記ボタンを表示しない
ことを特徴とするプログラム。
【請求項7】
商品販売データ処理装置としてコンピュータを機能させるプログラムであって、
前記コンピュータを、
会員の会員情報を取得する会員情報取得手段、
商品を精算する精算手段、
前記会員情報取得手段による会員情報の取得に関する会員情報関連画面と前記精算手段による商品の精算に関する精算関連画面とを表示可能な表示手段
として機能させ、
前記表示手段は、
前記会員情報関連画面よりも後に前記精算関連画面を表示し、前記精算関連画面において所定の操作が行われた場合に前記会員情報関連画面を表示し、
会員情報を取得していないときは前記所定の操作を受け付け可能なボタンを表示し、
会員情報を取得しているときは前記ボタンの位置に前記ボタンに代えて会員情報を表示する
ことを特徴とするプログラム。
【請求項8】
商品販売データ処理装置としてコンピュータを機能させるプログラムであって、
前記コンピュータを、
会員の会員情報を取得する会員情報取得手段、
商品を精算する精算手段、
前記会員情報取得手段による会員情報の取得に関する会員情報関連画面と前記精算手段による商品の精算に関する精算関連画面とを表示可能な表示手段
として機能させ、
前記表示手段は、
前記会員情報関連画面よりも後に前記精算関連画面を表示し、前記精算関連画面において所定の操作が行われた場合に前記会員情報関連画面を表示し、
会員には複数種類が存在し、
前記表示手段は、
特定種類の会員の会員情報を取得した場合には特定種類の会員の会員情報を取得した旨がわかるように表示することを特徴とするプログラム。
発明の詳細な説明
【技術分野】
【0001】
本発明は、商品販売データ処理装置及びプログラムに関する。
続きを表示(約 1,800 文字)
【背景技術】
【0002】
会員カードを用いて会員に特典(ポイント)を与えるシステムが知られている(例えば、特許文献1参照)。
【先行技術文献】
【特許文献】
【0003】
特開2016-105332号公報
【発明の概要】
【発明が解決しようとする課題】
【0004】
しかしながら、特典を付与するための会員カードの読み取りに関して改善の余地がある。
【0005】
本発明は、このような事情に鑑みてなされたもので、その目的は、好適に、会員に特典を与えることができる技術を提供することにある。
【課題を解決するための手段】
【0006】
上述した課題を解決するために、本発明の一態様である商品販売データ処理装置は、会員の会員情報を取得する会員情報取得手段と、商品を精算する精算手段と、前記会員情報取得手段による会員情報の取得に関する会員情報関連画面と前記精算手段による商品の精算に関する精算関連画面とを表示可能な表示手段とを備え、前記表示手段は、前記会員情報関連画面よりも後に前記精算関連画面を表示し、前記精算関連画面において所定の操作が行われた場合に前記会員情報関連画面を表示することを特徴とする商品販売データ処理装置である。
【図面の簡単な説明】
【0007】
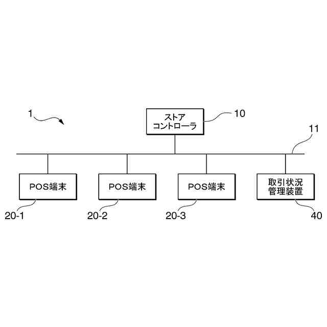
POSシステムのネットワーク構成図である。
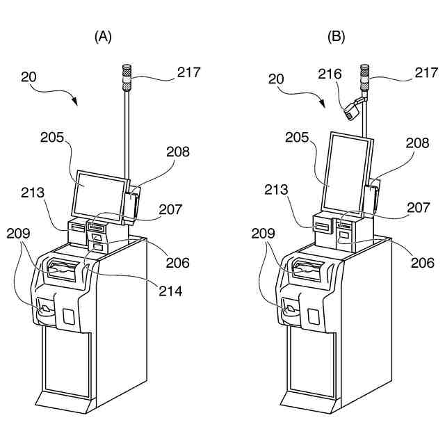
POS端末の外観の一例である。
POS端末の構成例を示す図である。
POS端末の表示部の表示例である。
POS端末の表示部の表示例である。
POS端末の表示部の表示例である。
POS端末の表示部の表示例である。
POS端末の表示部の表示例である。
POS端末の表示部の表示例である。
POS端末の表示部の表示例である。
POS端末の表示部の表示例である。
POS端末の表示部の表示例である。
POS端末の表示部の表示例である。
POS端末の表示部の表示例である。
POS端末の表示部の表示例である。
POS端末の動作の一例を示すフローチャートである。
POS端末の動作の一例を示すフローチャートである。
POS端末の動作の一例を示すフローチャートである。
POS端末の動作の一例を示すフローチャートである。
POS端末の動作の一例を示すフローチャートである。
POS端末の表示部の表示例である。
POS端末の表示部の表示例である。
POS端末の表示部の表示例である。
POS端末の表示部の表示例である。
POS端末の表示部の表示例である。
POS端末の表示部の表示例である。
【発明を実施するための形態】
【0008】
以下、本発明の第1実施形態について図面を参照して説明する。図1は、本発明の実施形態に係るPOS(Point Of Sales)システム1のネットワーク構成図である。図1に示すPOSシステム1は、3台のPOS端末20-1、POS端末20-2、POS端末20-3と、ストアコントローラ(ストアコンピュータ)10と、取引状況管理装置40とを備え、夫々はLAN11を介して通信可能に接続されている。POSシステム1は、種々の店舗等(スーパーマーケット、コンビニエンスストア、ドラックストア、ホームセンタ、家電量販店等)に導入可能である。以下、POS端末20-1、20-2、20-3について特に区別しない場合には、POS端末20と総称する。
【0009】
ストアコントローラ10は、外部(例えば、本部のサーバ)から商品ファイルや特売ファイルを受信し、他の装置(POS端末20等)に送信(配信)する。また、ストアコントローラ10は、他の装置から情報を受信し、外部に送信する。
【0010】
POS端末20は、当該POS端末20を用いて顧客自ら商品を登録し登録した商品について精算するPOSレジスタ(いわゆるフルセルフのPOSレジスタ)である。
(【0011】以降は省略されています)
この特許をJ-PlatPat(特許庁公式サイト)で参照する
関連特許
株式会社寺岡精工
商品登録システム
1か月前
株式会社寺岡精工
販売データ処理装置
25日前
株式会社寺岡精工
ペットボトル回収装置
9日前
株式会社寺岡精工
注文システム及びコンピュータプログラム
19日前
株式会社寺岡精工
受付管理システム及びコンピュータプログラム
4日前
株式会社寺岡精工
計量装置、計量システム、及びコンピュータプログラム
10日前
株式会社寺岡精工
販売データ処理装置、モード制御方法、およびプログラム
10日前
株式会社寺岡精工
取引状況監視装置
1か月前
株式会社寺岡精工
電子棚札管理システム
9日前
株式会社寺岡精工
商品販売データ処理装置
1か月前
株式会社寺岡精工
プログラム、情報処理装置、システム、サーバ及び商品投入取出認識方法
17日前
株式会社寺岡精工
販売データ処理装置、およびプログラム
17日前
株式会社寺岡精工
包装機及び包装機のイベント監視プログラム
2日前
株式会社寺岡精工
POSシステム、精算装置、及びプログラム
23日前
株式会社寺岡精工
商品販売データ処理装置、およびプログラム
17日前
株式会社寺岡精工
商品販売データ処理装置、およびプログラム
9日前
株式会社寺岡精工
商品販売データ処理装置、及び、プログラム
17日前
株式会社寺岡精工
商品販売データ処理システム、端末装置及びプログラム
9日前
株式会社寺岡精工
商品データ処理装置、商品データ処理システム、商品データ処理装置用プログラム、及び商品データ処理システム用プログラム
1か月前
株式会社イシダ
商品処理装置
1か月前
株式会社タムラ製作所
自動販売機
4日前
沖電気工業株式会社
施錠開閉装置
1か月前
沖電気工業株式会社
媒体処理装置
3か月前
沖電気工業株式会社
紙幣処理装置
2か月前
アサヒ飲料株式会社
遠隔決済方法
9日前
沖電気工業株式会社
媒体処理装置
2か月前
沖電気工業株式会社
媒体処理装置
2か月前
富士電機株式会社
自動販売機
2か月前
株式会社ライト
情報処理装置
2か月前
株式会社ライト
情報処理装置
2か月前
富士電機株式会社
金銭処理装置
3か月前
株式会社デンソー
車載器
1か月前
グローリー株式会社
貨幣処理装置
9日前
グローリー株式会社
物品投出装置
2か月前
株式会社トイスピリッツ
景品提供システム
3か月前
日本金銭機械株式会社
硬貨処理装置
1か月前
続きを見る
他の特許を見る