TOP
|
特許
|
意匠
|
商標
特許ウォッチ
Twitter
他の特許を見る
10個以上の画像は省略されています。
公開番号
2025113054
公報種別
公開特許公報(A)
公開日
2025-08-01
出願番号
2024007690
出願日
2024-01-22
発明の名称
配線回路基板
出願人
日東電工株式会社
代理人
弁理士法人いくみ特許事務所
主分類
H05K
1/02 20060101AFI20250725BHJP(他に分類されない電気技術)
要約
【課題】配線部の端部において、配線にクラックが発生することを抑制できる配線回路基板を提供する。
【解決手段】
配線回路基板1は、複数の配線部3A,3Bと、配線部3A,3Bのそれぞれの一端部を支持する第1支持部2Aとを備える。配線部3A,3Bのそれぞれは、金属支持層11と、第1絶縁層12と、配線133とを有する。配線部3A,3Bの金属支持層11は、第1支持部2Aに接続される第1端部111と、本体部113と、本体部113から第1端部111に向かうにつれて広がる第1テーパ部114とを有する。
【選択図】図1
特許請求の範囲
【請求項1】
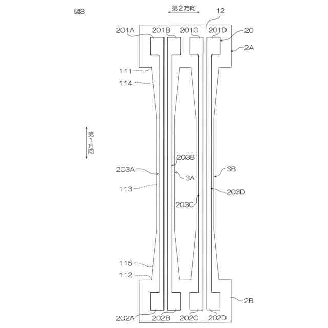
第1方向に延び、互いに間隔を隔てて配置される複数の配線部と、
前記第1方向において複数の前記配線部のそれぞれの一端部を支持する第1支持部と
を備え、
複数の前記配線部のそれぞれは、
金属支持層と、
前記金属支持層上に配置される絶縁層と、
前記絶縁層上に配置され、前記第1方向に延びる配線と
を有し、
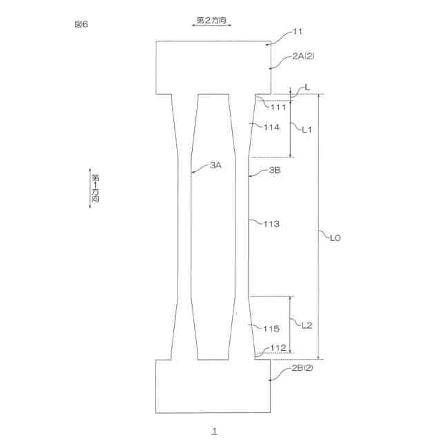
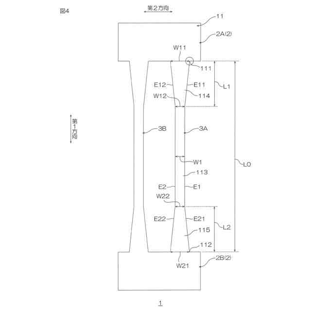
前記配線部の前記金属支持層は、
前記第1支持部に接続される第1端部と、
前記第1端部から離れて配置される本体部と、
前記第1端部と前記本体部との間に配置される第1テーパ部と
を有し、
前記第1テーパ部の幅は、前記本体部から前記第1端部に向かうにつれて広がる、配線回路基板。
続きを表示(約 760 文字)
【請求項2】
前記第1方向において、前記第1テーパ部の長さは、前記配線部の全長の30%以下である、請求項1に記載の配線回路基板。
【請求項3】
前記第1方向における前記第1端部の長さは、200μm以下である、請求項1に記載の配線回路基板。
【請求項4】
前記第1テーパ部のテーパ率は、0.0010以上である、請求項1に記載の配線回路基板。
【請求項5】
前記第1テーパ部の幅方向のエッジは、曲線を含む、請求項1に記載の配線回路基板。
【請求項6】
前記第1テーパ部の幅方向のエッジは、直線である、請求項1に記載の配線回路基板。
【請求項7】
前記配線回路基板は、
前記第1方向において複数の前記配線部のそれぞれの他端部を支持する第2支持部を、さらに備え、
前記配線部の前記金属支持層は、
前記本体部から離れて配置され、前記第2支持部に接続される第2端部と、
前記第2端部と前記本体部との間に配置される第2テーパ部と
をさらに有し、
前記第2テーパ部の幅は、前記本体部から前記第2端部に向かうにつれて広がる、請求項1~6のいずれか一項に記載の配線回路基板。
【請求項8】
前記第1方向において、前記第2テーパ部の長さは、前記配線部の全長の30%以下である、請求項7に記載の配線回路基板。
【請求項9】
前記第1方向における前記第2端部の長さは、200μm以下である、請求項7に記載の配線回路基板。
【請求項10】
前記第2テーパ部のテーパ率は、0.0010以上である、請求項7に記載の配線回路基板。
(【請求項11】以降は省略されています)
発明の詳細な説明
【技術分野】
【0001】
本発明は、配線回路基板に関する。
続きを表示(約 1,000 文字)
【背景技術】
【0002】
従来、互いに間隔を隔てて並ぶ複数の配線部と、複数の配線部を連結する連結部とを備える配線回路基板が知られている(例えば、下記特許文献1参照。)。
【0003】
この配線回路基板では、配線部の幅に対し、配線部の厚みが大きい(2倍以上)。そのため、配線部は、厚み方向に比べて、幅方向に容易に移動可能である。
【先行技術文献】
【特許文献】
【0004】
特開2019-212656号公報
【発明の概要】
【発明が解決しようとする課題】
【0005】
特許文献1に記載されるような配線回路基板において、配線部が移動した場合、配線部の端部(連結部に接続される部分)の近傍に応力が集中する可能性がある。そのため、配線部の端部近傍において、配線にクラックが発生する可能性がある。
【0006】
本発明は、配線部の端部近傍において、配線にクラックが発生することを抑制できる配線回路基板を提供する。
【課題を解決するための手段】
【0007】
本発明[1]は、第1方向に延び、互いに間隔を隔てて配置される複数の配線部と、前記第1方向において複数の前記配線部のそれぞれの一端部を支持する第1支持部とを備え、複数の前記配線部のそれぞれが、金属支持層と、前記金属支持層上に配置される絶縁層と、前記絶縁層上に配置され、前記第1方向に延びる配線とを有し、前記配線部の前記金属支持層が、前記第1支持部に接続される第1端部と、前記第1端部から離れて配置される本体部と、前記第1端部と前記本体部との間に配置される第1テーパ部とを有し、前記第1テーパ部の幅は、前記本体部から前記第1端部に向かうにつれて広がる、配線回路基板を含む。
【0008】
このような構成によれば、配線部の金属支持層は、第1支持部に接続される第1端部の近傍において、第1端部に向かうにつれて広がる第1テーパ部を有する。
【0009】
そのため、第1テーパ部によって、配線部の一端部近傍の剛性を高めることができる。
【0010】
これにより、配線部が移動した場合、配線部の一端部近傍の応力が配線に集中することを抑制できる。言い換えると、配線部の一端部近傍に配置される配線の応力を緩和できる。
(【0011】以降は省略されています)
この特許をJ-PlatPat(特許庁公式サイト)で参照する
関連特許
日東電工株式会社
ロボット
12日前
日東電工株式会社
光学積層体
4日前
日東電工株式会社
粘着シート
19日前
日東電工株式会社
光学積層体
4日前
日東電工株式会社
光学積層体
4日前
日東電工株式会社
補強フィルム
11日前
日東電工株式会社
パッチアンテナ
12日前
日東電工株式会社
パッチアンテナ
12日前
日東電工株式会社
ロール体の製造方法
19日前
日東電工株式会社
多孔質ポリマーシート
19日前
日東電工株式会社
フレキシブル多層回路基板
19日前
日東電工株式会社
積層光学フィルムの製造方法
6日前
日東電工株式会社
粘着シートおよび光半導体装置
19日前
日東電工株式会社
表面保護フィルムおよびその用途
11日前
日東電工株式会社
ヒータモジュール、およびロボット
12日前
日東電工株式会社
ロール体およびロール体の製造方法
11日前
日東電工株式会社
表面保護フィルムおよび光学積層体
4日前
日東電工株式会社
反射防止フィルム及びその製造方法
27日前
日東電工株式会社
生体信号取得用粘着性電極及び生体センサ
27日前
日東電工株式会社
配線回路基板、および、配線回路基板の製造方法
1か月前
日東電工株式会社
光電混載基板、光モジュール、および、電子機器
13日前
日東電工株式会社
ホログラムの製造装置、ホログラムの製造方法、及び導光板
1か月前
日東電工株式会社
ホログラムの製造装置、ホログラムの製造方法、及び導光板
1か月前
日東電工株式会社
ホログラムの製造装置、ホログラムの製造方法、及び導光板
1か月前
日東電工株式会社
消音システム
21日前
日東電工株式会社
積層フィルム
25日前
日東電工株式会社
画像表示装置
1か月前
日東電工株式会社
光学フィルム片
21日前
日東電工株式会社
ホログラムの製造装置、ホログラムの製造方法、導光板及び透光板
1か月前
日東電工株式会社
光電混載基板、光電変換モジュール、光通信デバイスおよび電子機器
1か月前
日東電工株式会社
光電混載基板、光電変換モジュール、光通信デバイスおよび電子機器
11日前
日東電工株式会社
フィルムおよび積層体
11日前
日東電工株式会社
光ファイバ、光トランシーバモジュール、および、光ファイバケーブル
11日前
日東電工株式会社
フィルムおよび積層体
25日前
日東電工株式会社
配線回路基板付きシートの製造方法、および、配線回路基板付きシート
12日前
日東電工株式会社
積層体及びスイッチ装置
27日前
続きを見る
他の特許を見る