TOP
|
特許
|
意匠
|
商標
特許ウォッチ
Twitter
他の特許を見る
公開番号
2025092989
公報種別
公開特許公報(A)
公開日
2025-06-23
出願番号
2023208450
出願日
2023-12-11
発明の名称
静電チャック装置及び冷却プレート
出願人
株式会社堀場エステック
代理人
個人
,
個人
,
個人
,
個人
,
個人
,
個人
主分類
H01L
21/683 20060101AFI20250616BHJP(基本的電気素子)
要約
【課題】吸着プレートに吸着された対象物の温度を均一にすることができる。
【解決手段】静電力によって対象物を吸着する静電チャック装置100であって、表面側に対象物Wを吸着する吸着面を有する吸着プレート2と、吸着プレート2の裏面側に設けられ、冷媒が流れる内部流路31を有する冷却プレート3とを備え、内部流路31は、平面視において同一パターンの流路要素31xが規則的に接続された流路形状をなしている。
【選択図】図3
特許請求の範囲
【請求項1】
静電力によって対象物を吸着する静電チャック装置であって、
表面側に前記対象物を吸着する吸着面を有する吸着プレートと、
前記吸着プレートの裏面側に設けられ、冷媒が流れる内部流路を有する冷却プレートとを備え、
前記内部流路は、平面視において同一パターンの流路要素が規則的に接続された流路形状をなしている、静電チャック装置。
続きを表示(約 710 文字)
【請求項2】
前記内部流路は、前記冷却プレートの冷媒導入ポート及び冷媒導出ポートに連通しており、前記冷媒導入ポートから前記冷媒導出ポートに向かうに連れて前記冷却プレートの中央部からの半径方向の距離が増加する変化及び前記中央部からの半径方向の距離が減少する変化を繰り返している、請求項1に記載の静電チャック装置。
【請求項3】
前記流路要素は、湾曲している流路部分、屈曲している流路部分、又は間に折れ曲がった流路部分を有している、請求項1又は2に記載の静電チャック装置。
【請求項4】
前記内部流路は、前記流路要素が規則的に接続されることにより、蛇行した流路形状を有している、請求項3に記載の静電チャック装置。
【請求項5】
前記内部流路は、周期関数により表すことができる形状を有する、請求項1に記載の静電チャック装置。
【請求項6】
前記内部流路は、フーリエ級数により表すことができる形状を有する、請求項1に記載の静電チャック装置。
【請求項7】
前記内部流路は、フラクタル形状を有する、請求項1に記載の静電チャック装置。
【請求項8】
前記内部流路は、ゴスパー曲線又はミンコフスキー曲線により表すことができる形状である、請求項1に記載の静電チャック装置。
【請求項9】
静電力によって対象物を吸着する静電チャック装置に用いられる冷却プレートであって、
冷媒が流れる内部流路を有し、
前記内部流路は、平面視において同一パターンの流路要素が規則的に接続された流路形状をなしている、冷却プレート。
発明の詳細な説明
【技術分野】
【0001】
本発明は、静電チャック装置及び冷却プレートに関するものである。
続きを表示(約 1,900 文字)
【背景技術】
【0002】
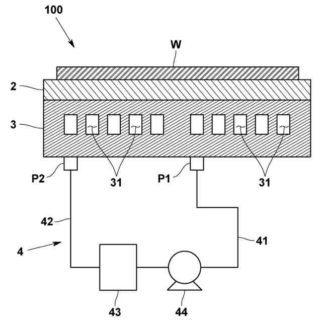
従来、半導体製造プロセスにおいては、真空チャンバ内でウエハを固定するために静電チャック装置が用いられている。この静電チャック装置は、特許文献1に示すように、静電力により対象物を吸着する吸着プレートと、吸着プレートの裏面に接触する金属製の冷却プレートとを備えている。冷却プレートに形成された内部流路には冷媒が流されており、吸着プレートに吸着されているウエハを冷却する。このようにして、ウエハの表面温度分布の均一化を図っている。
【0003】
ここで、冷却プレートには、内部流路に冷媒を導入するための導入ポート及び冷媒を導出するための導出ポートが設けられており、導入ポート近傍は冷媒に優先的に冷却されるため低温領域となり、内部流路を流れるに連れて冷媒の温度が高くなるため、その冷媒が導出される導出ポート近傍は高温領域となる。つまり、冷却プレートには、温度勾配が生じてしまう。この温度勾配が大きくなってしまうと、吸着プレートに吸着されているウエハが熱応力によってひび割れしまい、また、吸着プレートが破損してしまう可能性がある。
【先行技術文献】
【特許文献】
【0004】
特開2020-113588号公報
【発明の概要】
【発明が解決しようとする課題】
【0005】
そこで、本発明は上述した問題を解決すべくなされたものであり、吸着プレートの温度勾配を低減して、吸着プレートに吸着された対象物の温度を均一にすることを課題とするものである。
【課題を解決するための手段】
【0006】
すなわち、本発明に係る静電チャック装置は、静電力によって対象物を吸着する静電チャック装置であって、表面側に前記対象物を吸着する吸着面を有する吸着プレートと、前記吸着プレートの裏面側に設けられ、冷媒が流れる内部流路を有する冷却プレートとを備え、前記内部流路は、平面視において同一パターンの流路要素が規則的に接続された流路形状をなしていることを特徴とする。
【0007】
このような静電チャック装置であれば、冷却プレートの内部流路が平面視において同一パターンの流路要素が規則的に接続された流路形状をなしているので、冷却プレートの中央部側(径方向内側)と外周部側(径方向外側)とを蛇行しながら流れる構成にすることができる。その結果、中央部側と外周部側との温度差及び周方向の温度差を低減することができ、吸着プレートの吸着面全体の温度勾配を小さくすることができる。その結果、吸着プレートに吸着された対象物の温度を均一にすることができる。また、同一パターンの流路要素が規則的に接続された流路形状とすることにより、設計や加工がしやすくなるとともに、冷却プレートの機械的な強度を増すことができる。
【0008】
具体的な実施の態様としては、前記内部流路は、前記冷却プレートの冷媒導入ポート及び冷媒導出ポートに連通しており、前記冷媒導入ポートから前記冷媒導出ポートに向かうに連れて前記冷却プレートの中央部からの半径方向の距離が増加する変化及び前記中央部からの半径方向の距離が減少する変化を繰り返していることが望ましい。
この構成であれば、冷媒導入ポートから冷媒導出ポートに連通する内部流路が冷却プレートにおいて半径方向の距離が増加減少を繰り返しているので、中央部側と外周部側との温度差を低減することができ、吸着プレート全体の温度勾配を小さくすることができる。
【0009】
具体的な実施の態様としては、前記流路要素は、湾曲している流路部分、屈曲している流路部分、又は間に折れ曲がった流路部分を有していることが望ましい。
この構成であれば、冷媒導入ポートから冷媒導出ポートに連通する内部流路が湾曲、屈曲又は折れ曲がっているので、中央部側と外周部側との温度差を低減することができ、吸着プレート全体の温度勾配を小さくすることができる。
【0010】
具体的な実施の態様としては、前記内部流路は、前記流路要素が規則的に接続されることにより、蛇行した流路形状を有していることが望ましい。
この構成であれば、冷媒導入ポートから冷媒導出ポートに連通する内部流路が蛇行しているので、中央部側と外周部側との温度差を低減することができ、吸着プレート全体の温度勾配を小さくすることができる。
(【0011】以降は省略されています)
この特許をJ-PlatPat(特許庁公式サイト)で参照する
関連特許
個人
安全なNAS電池
29日前
個人
フリー型プラグ安全カバー
1か月前
日本発條株式会社
積層体
5日前
東レ株式会社
多孔質炭素シート
24日前
ローム株式会社
半導体装置
24日前
ローム株式会社
半導体装置
3日前
個人
防雪防塵カバー
5日前
ローム株式会社
半導体装置
3日前
ローム株式会社
半導体装置
3日前
エイブリック株式会社
半導体装置
26日前
エイブリック株式会社
半導体装置
26日前
ローム株式会社
半導体装置
1日前
キヤノン株式会社
電子機器
24日前
株式会社ティラド
面接触型熱交換器
16日前
株式会社ホロン
冷陰極電子源
1日前
沖電気工業株式会社
アンテナ
1か月前
個人
半導体パッケージ用ガラス基板
4日前
株式会社GSユアサ
蓄電装置
1か月前
東レ株式会社
ガス拡散層の製造方法
24日前
株式会社GSユアサ
蓄電装置
5日前
株式会社GSユアサ
蓄電装置
1か月前
株式会社GSユアサ
蓄電装置
1日前
ニチコン株式会社
コンデンサ
17日前
株式会社GSユアサ
蓄電装置
1か月前
ニチコン株式会社
コンデンサ
17日前
太陽誘電株式会社
全固体電池
1日前
オムロン株式会社
電磁継電器
1か月前
マクセル株式会社
配列用マスク
16日前
TDK株式会社
電子部品
1日前
株式会社カネカ
二次電池
1か月前
ローム株式会社
電子装置
5日前
日本特殊陶業株式会社
保持装置
3日前
日本特殊陶業株式会社
保持装置
1か月前
日本特殊陶業株式会社
保持装置
5日前
日本特殊陶業株式会社
保持装置
1日前
株式会社ヨコオ
コネクタ
26日前
続きを見る
他の特許を見る