TOP
|
特許
|
意匠
|
商標
特許ウォッチ
Twitter
他の特許を見る
公開番号
2025074685
公報種別
公開特許公報(A)
公開日
2025-05-14
出願番号
2023185676
出願日
2023-10-30
発明の名称
構音異常検査装置、構音異常矯正支援システム、構音異常検査方法、及びプログラム
出願人
国立大学法人茨城大学
,
合同会社水谷製作所
,
ビー・アール・システムズ株式会社
代理人
個人
,
個人
,
個人
,
個人
主分類
A61B
10/00 20060101AFI20250507BHJP(医学または獣医学;衛生学)
要約
【課題】機械学習を用いて構音障害の評価を行う技術において、評価の精度を高めること。
【解決手段】構音異常検査装置は、被験者の音声データを取得する音声データ取得部と、前記音声データ取得部によって取得された前記音声データのうち子音または母音の少なくとも一方を含む音節に対応する部分の音声特徴情報を生成する音声特徴情報生成部と、前記音声特徴情報が入力されると構音異常の評価を示す評価情報を出力するように学習された学習済みモデルに、前記音声特徴情報生成部によって生成された前記音声特徴情報を入力することによって取得される出力結果に基づいて、前記被験者の構音異常を評価する評価部と、を備える。
【選択図】図2
特許請求の範囲
【請求項1】
被験者の音声データを取得する音声データ取得部と、
前記音声データ取得部によって取得された前記音声データのうち子音または母音の少なくとも一方を含む音節に対応する部分の音声特徴情報を生成する音声特徴情報生成部と、
前記音声特徴情報が入力されると構音異常の評価を示す評価情報を出力するように学習された学習済みモデルに、前記音声特徴情報生成部によって生成された前記音声特徴情報を入力することによって取得される出力結果に基づいて、前記被験者の構音異常を評価する評価部と、
を備える構音異常検査装置。
続きを表示(約 1,000 文字)
【請求項2】
前記音声特徴情報生成部は、前記音声データから子音または母音の少なくとも一方を含む音節に対応する部分を抽出し、抽出した当該部分から前記音声特徴情報を生成する
請求項1に記載の構音異常検査装置。
【請求項3】
前記音声特徴情報生成部は、前記音声データにおける子音または母音の少なくとも一方を含む音節が出現している時間と周波数の範囲とに基づいて、前記音声データから当該音節に対応する部分を抽出する
請求項2に記載の構音異常検査装置。
【請求項4】
前記音声特徴情報生成部は、前記音声データが示す音圧または音量に基づいて、前記音声データから子音または母音の少なくとも一方を含む音節に対応する部分を抽出する
請求項3に記載の構音異常検査装置。
【請求項5】
前記音声特徴情報は、スペクトログラム、またはスペクトルの包絡線である
請求項1に記載の構音異常検査装置。
【請求項6】
前記音声特徴情報は、子音に対応する部分の音声特徴情報である
請求項1に記載の構音異常検査装置。
【請求項7】
前記評価部は、前記音声特徴情報が示す周波数成分について所定の閾値より大きい周波数成分が欠落しているか否かに基づいて、前記被験者の構音異常を評価する
請求項6に記載の構音異常検査装置。
【請求項8】
前記評価情報は、構音異常の有無を示し、
前記評価部は、前記学習済みモデルに、前記音声特徴情報生成部によって生成された前記音声特徴情報を入力することによって取得される出力結果に基づいて、前記被験者の構音異常の有無を判定する
請求項1に記載の構音異常検査装置。
【請求項9】
前記評価情報は、構音異常の程度を示し、
前記評価部は、前記学習済みモデルに、前記音声特徴情報生成部によって生成された前記音声特徴情報を入力することによって取得される出力結果に基づいて、前記被験者の構音異常の程度を判定する
請求項1に記載の構音異常検査装置。
【請求項10】
請求項1から請求項9のいずれか一項に記載の構音異常検査装置と、
前記被験者の音声を収音する収音部と、
前記評価部による評価結果を提示する評価結果提示部と、
を備える
構音異常矯正支援システム。
(【請求項11】以降は省略されています)
発明の詳細な説明
【技術分野】
【0001】
本発明は、構音異常検査装置、構音異常矯正支援システム、構音異常検査方法、及びプログラムに関する。
続きを表示(約 1,400 文字)
【背景技術】
【0002】
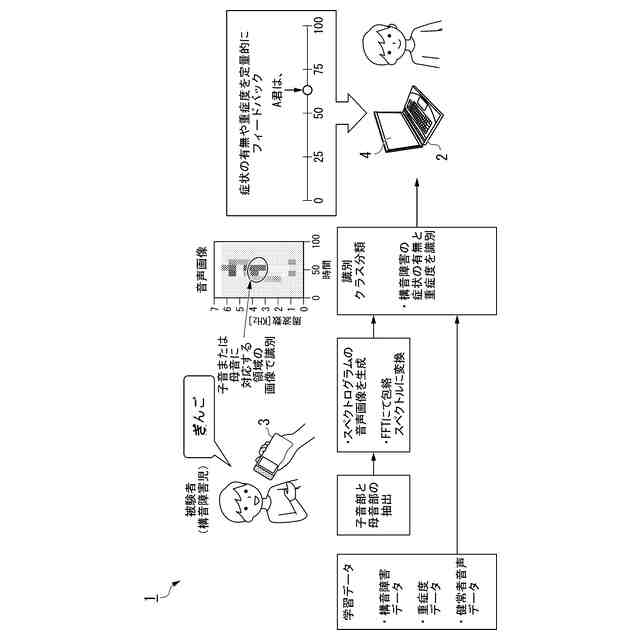
従来、構音障害の評価は、検査者の聴覚判定から主観的に評価されていた。そのため、経験豊富な検査者でないと正しい評価が難しかった。特にひずみ音は評価が難しく、自分の誤り音に気づけない子どもはなかなか改善せず、支援効果が現れるまでに時間がかかる。
【0003】
機械学習を用いて構音障害の評価を行う技術が知られている。例えば、音声波形から得られるスペクトログラムまたはエンベロープを、音声を入力として構音異常の有無に関する情報を出力するように機械学習された検出モデルに入力することにより、構音異常の有無を検出する構音異常検出方法が知られている(特許文献1)。また、話者の発話データから音響特徴量を算出し、学習済のDNN(Deep Neural Network)を用いて、話者の特徴量を算出し、健常時の話者の特徴量との類似度を算出して話者の構音異常を判定する構音異常検出方法が知られている(特許文献2)。
【先行技術文献】
【特許文献】
【0004】
特開2023-036486号公報
特開2023-002421号公報
【発明の概要】
【発明が解決しようとする課題】
【0005】
機械学習を用いて構音障害の評価を行う技術において、評価の精度を高めることが求められている。
【0006】
本発明は上記の点に鑑みてなされたものであり、機械学習を用いて構音障害の評価を行う技術において、評価の精度を高めることができる構音異常検査装置、構音異常矯正支援システム、構音異常検査方法、及びプログラムを提供する。
【課題を解決するための手段】
【0007】
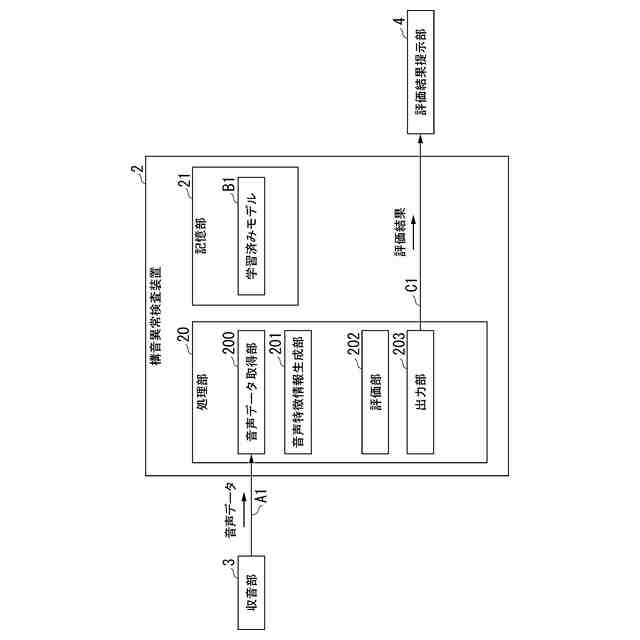
本発明は上記の課題を解決するためになされたものであり、本発明の一態様は、被験者の音声データを取得する音声データ取得部と、前記音声データ取得部によって取得された前記音声データのうち子音または母音の少なくとも一方を含む音節に対応する部分の音声特徴情報を生成する音声特徴情報生成部と、前記音声特徴情報が入力されると構音異常の評価を示す評価情報を出力するように学習された学習済みモデルに、前記音声特徴情報生成部によって生成された前記音声特徴情報を入力することによって取得される出力結果に基づいて、前記被験者の構音異常を評価する評価部と、を備える構音異常検査装置である。
【0008】
また、本発明の一態様は、上記の構音異常検査装置において、前記音声特徴情報生成部は、前記音声データから子音または母音の少なくとも一方を含む音節に対応する部分を抽出し、抽出した当該部分から前記音声特徴情報を生成する。
【0009】
また、本発明の一態様は、上記の構音異常検査装置において、前記音声特徴情報生成部は、前記音声データにおける子音または母音の少なくとも一方を含む音節が出現している時間と周波数の範囲とに基づいて、前記音声データから当該音節に対応する部分を抽出する。
【0010】
また、本発明の一態様は、上記の構音異常検査装置において、前記音声特徴情報生成部は、前記音声データが示す音圧または音量に基づいて、前記音声データから子音または母音の少なくとも一方を含む音節に対応する部分を抽出する。
(【0011】以降は省略されています)
この特許をJ-PlatPat(特許庁公式サイト)で参照する
関連特許
国立大学法人茨城大学
スプラウトの栽培方法
5か月前
国立大学法人茨城大学
改良地盤の噴出物抑制及び地盤沈下抑制システム
5日前
国立大学法人茨城大学
Mg3Sb2薄膜の製造方法、Mg3Sb2薄膜
2か月前
国立大学法人茨城大学
応答評価装置、応答評価方法、及び応答評価プログラム
11日前
住友金属鉱山株式会社
複合タングステン酸化物微粒子の表面へのケイ素化合物膜の被覆方法
2か月前
株式会社コアコンセプト・テクノロジー
3次元CADシステム
2か月前
国立大学法人茨城大学
複合金属ナノ粒子担持体及びその製造方法並びに複合金属ナノ粒子担持体を含有する抗菌組成物及びコーティング組成物
4か月前
個人
貼付剤
1か月前
個人
簡易担架
17日前
個人
腋臭防止剤
17日前
個人
足踏み器具
24日前
個人
短下肢装具
4か月前
個人
嚥下鍛錬装置
4か月前
個人
洗井間専家。
8か月前
個人
白内障治療法
8か月前
個人
前腕誘導装置
4か月前
個人
排尿補助器具
1か月前
個人
アイマスク装置
3か月前
個人
汚れ防止シート
2か月前
個人
ホバーアイロン
7か月前
個人
矯正椅子
6か月前
個人
バッグ式オムツ
5か月前
個人
腰ベルト
1か月前
個人
ウォート指圧法
1か月前
個人
胸骨圧迫補助具
2か月前
個人
歯の修復用材料
5か月前
個人
哺乳瓶冷まし容器
4か月前
個人
陣痛緩和具
4か月前
三生医薬株式会社
錠剤
8か月前
個人
歯の保護用シール
6か月前
個人
美容セット
26日前
個人
車椅子持ち上げ器
8か月前
個人
湿布連続貼り機。
3か月前
個人
排尿排便補助器具
19日前
個人
シャンプー
7か月前
個人
エア誘導コルセット
3か月前
続きを見る
他の特許を見る