TOP
|
特許
|
意匠
|
商標
特許ウォッチ
Twitter
他の特許を見る
公開番号
2025045037
公報種別
公開特許公報(A)
公開日
2025-04-02
出願番号
2023152915
出願日
2023-09-20
発明の名称
商品処理装置
出願人
株式会社イシダ
代理人
フェリシテ弁理士法人
主分類
G07G
1/01 20060101AFI20250326BHJP(チェック装置)
要約
【課題】顧客がブランド店ごとに精算する煩わしさを無くすと共に、ブランドごとに売上の集計ができ、スムーズな接客を実現すること。
【解決手段】一実施形態に係る商品処理装置1は、店舗情報と商品情報とを対応付けて記憶する記憶部21と、店舗情報に対応付けられた商品情報によって特定される商品の一覧を表示する表示部22と、作業者からの操作を受け付ける入力部23と、入力部23が、作業者による商品に関する会計処理を行うための操作を受け付けた場合、会計処理を行う制御部24と、を備え、表示部22において第1店舗情報に対応付けられた第1商品情報によって特定される第1商品の一覧が表示されている状態で、入力部23が、作業者による第2店舗情報への切替操作を受け付けた場合、制御部24は、記憶部21から第2店舗情報に対応付けられた第2商品情報を取得し、第2商品情報によって特定される第2商品の一覧を第1商品の一覧の代わりに表示部22に表示させる。
【選択図】図2
特許請求の範囲
【請求項1】
商品処理装置であって、
店舗情報と商品情報とを対応付けて記憶する記憶部と、
前記店舗情報に対応付けられた前記商品情報によって特定される商品の一覧を表示する表示部と、
作業者からの操作を受け付ける入力部と、
前記入力部が、前記作業者による前記商品に関する会計処理を行うための操作を受け付けた場合、前記会計処理を行う制御部と、を備え、
前記表示部において第1店舗情報に対応付けられた第1商品情報によって特定される第1商品の一覧が表示されている状態で、前記入力部が、前記作業者による第2店舗情報への切替操作を受け付けた場合、前記制御部は、前記記憶部から前記第2店舗情報に対応付けられた第2商品情報を取得し、前記第2商品情報によって特定される第2商品の一覧を前記第1商品の一覧の代わりに前記表示部に表示させる、商品処理装置。
続きを表示(約 340 文字)
【請求項2】
前記記憶部は、外部装置から、インターフェイスを介して前記店舗情報及び前記商品情報を取得する、請求項1に記載の商品処理装置。
【請求項3】
レシート発行部 を更に備え、
前記制御部が、複数の店舗で取り扱われる商品に関する会計処理を行う場合、前記レシート発行部は、店舗ごとに区分けされた買上情報のレシートを発行する、請求項1に記載の商品処理装置。
【請求項4】
前記外部装置は、他の店舗に設置される商品処理装置であり、
前記商品処理装置は、通信部を更に備え、
前記通信部は、自装置に記憶された前記買上情報を、会計処理を行う他の商品処理装置に送信する、請求項1~3のいずれか1項に記載の商品処理装置。
発明の詳細な説明
【技術分野】
【0001】
本発明は、商品処理装置に関する。
続きを表示(約 1,800 文字)
【背景技術】
【0002】
現在、例えば、百貨店の地下商品売り場や、大型ショッピングセンター等には、同じ企業に属する惣菜店や揚げ物店やサラダ店等の複数のブランド店があり、顧客が、それらのブランド店を買い回って買い物をする場合、個々のブランド店で会計処理するのが一般的である。
【先行技術文献】
【特許文献】
【0003】
特開2004-206197公報
特開2020-115264公報
特開2021-168074公報
【発明の概要】
【発明が解決しようとする課題】
【0004】
しかしながら、1つのブランド店に、顧客が集中した場合、他のブランド店の店員は、何もせずに見守るだけであるから、全体としての販売効率が低下するという問題点があった。
【0005】
そこで、本発明は、上記課題に鑑みてなされたものであり、顧客がブランド店ごとに精算する煩わしさを無くすと共に、ブランドごとに売上の集計ができ、スムーズな接客を実現することができる商品処理装置を提供することを目的とする。
【課題を解決するための手段】
【0006】
一実施形態に係る商品処理装置は、店舗情報と商品情報とを対応付けて記憶する記憶部と、前記店舗情報に対応付けられた前記商品情報によって特定される商品の一覧を表示する表示部と、作業者からの操作を受け付ける入力部と、前記入力部が、前記作業者による前記商品に関する会計処理を行うための操作を受け付けた場合、前記会計処理を行う制御部と、を備え、前記表示部において第1店舗情報に対応付けられた第1商品情報によって特定される第1商品の一覧が表示されている状態で、前記入力部が、前記作業者による第2店舗情報への切替操作を受け付けた場合、前記制御部は、前記記憶部から前記第2店舗情報に対応付けられた第2商品情報を取得し、前記第2商品情報によって特定される第2商品の一覧を前記第1商品の一覧の代わりに前記表示部に表示させることを要旨とする。
【発明の効果】
【0007】
本発明によれば、どこのブランド店においても、他のブランド店の商品の一覧を呼び出して会計処理することができるから、顧客がブランド店ごとに精算する煩わしさを無くすことができる。また、各ブランド店において、他のブランド店での買上情報が蓄積されても、それらを集めて、ブランド店ごとに売上の集計ができ、スムーズな接客を実現することができる商品処理装置を提供できる。
【図面の簡単な説明】
【0008】
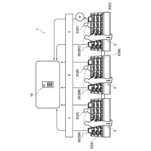
図1は、第1実施形態に係る商品処理システム1の全体構成の一例を示す図である。
図2は、第1実施形態に係る商品処理装置20の機能ブロックの一例を示す図である。
図3は、第1実施形態に係る商品処理装置20の表示部22によって表示される店舗情報及び商品の一覧の一例を示す図である。
【発明を実施するための形態】
【0009】
以下に添付図面を参照しながら、本発明の好適な実施形態について詳細に説明する。なお、以下の図面の記載において、同一又は類似の部分には、同一又は類似の符号を付している。ただし、図面は模式的なものであり、各寸法の比率等は現実のものとは異なることに留意すべきである。したがって、具体的な寸法等は、以下の説明を参酌して判断すべきである。また、図面相互間においても互いの寸法の関係や比率が異なる部分が含まれ得る。本明細書及び図面において、実質的に同一の機能、構成を有する要素については、同一の符号を付することにより重複説明を省略し、また本発明に直接関係のない要素は図示を省略する。
【0010】
(第1実施形態)
以下、図1~図3を参照して、本発明の第1実施形態に係る商品処理システム1について説明する。図1は、本実施形態に係る商品処理システム1の全体構成の一例を示す図であり、図2は、第1実施形態に係る商品処理装置20の機能ブロックの一例を示す図であり、図3は、第1実施形態に係る商品処理装置20の表示部22によって表示される店舗情報及び商品の一覧の一例を示す図である。
(【0011】以降は省略されています)
この特許をJ-PlatPat(特許庁公式サイト)で参照する
関連特許
株式会社イシダ
包装装置
7日前
株式会社イシダ
計量装置
1か月前
株式会社イシダ
製袋包装機
1か月前
株式会社イシダ
X線検査装置
1か月前
株式会社イシダ
X線検査装置
1か月前
株式会社イシダ
受付端末装置
8日前
株式会社イシダ
X線検査装置
1か月前
株式会社イシダ
X線検査装置
1か月前
株式会社イシダ
商品処理装置
1か月前
株式会社イシダ
組合せ計量装置
1か月前
株式会社イシダ
組合せ計量装置
9日前
株式会社イシダ
組合せ計量装置
1か月前
株式会社イシダ
電子棚札用の制御システム
1か月前
株式会社イシダ
案内端末及び電子カルテシステム
今日
株式会社イシダ
院内用書込装置及び受付端末装置
8日前
株式会社イシダ
製袋包装機及びフィルムロール交換システム
1か月前
株式会社イシダ
検査システム及び検査装置
1か月前
株式会社イシダ
自走式フィルムロール交換装置、フィルムロール交換システム、及びフィルムロール交換方法
1か月前
株式会社イシダ
商品処理装置
1か月前
株式会社バンダイ
物品供給装置
4か月前
株式会社バンダイ
物品供給装置
4か月前
株式会社バンダイ
物品供給装置
4か月前
株式会社バンダイ
物品供給装置
4か月前
富士電機株式会社
通貨識別装置
3か月前
沖電気工業株式会社
施錠開閉装置
29日前
沖電気工業株式会社
媒体処理装置
2か月前
沖電気工業株式会社
紙幣処理装置
2か月前
沖電気工業株式会社
媒体処理装置
2か月前
沖電気工業株式会社
媒体処理装置
2か月前
株式会社ライト
情報処理装置
2か月前
富士電機株式会社
自動販売機
2か月前
株式会社ライト
情報処理装置
3か月前
株式会社ライト
情報処理装置
2か月前
富士電機株式会社
金銭処理装置
3か月前
株式会社デンソー
車載器
1か月前
グローリー株式会社
硬貨処理装置
4か月前
続きを見る
他の特許を見る