TOP
|
特許
|
意匠
|
商標
特許ウォッチ
Twitter
他の特許を見る
公開番号
2025071419
公報種別
公開特許公報(A)
公開日
2025-05-08
出願番号
2023181562
出願日
2023-10-23
発明の名称
コイン搬送装置およびコイン処理装置
出願人
旭精工株式会社
代理人
主分類
G07D
11/10 20190101AFI20250428BHJP(チェック装置)
要約
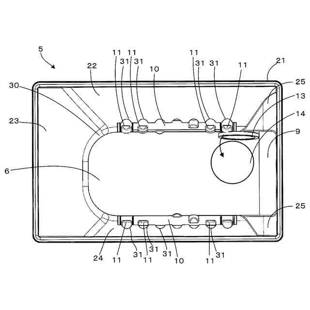
【課題】投入口から投入された複数枚のコインが、搬送ベルト上で起立して分離部に搬送されない場合に、好適にコインを分離部に搬送させることのできるコイン搬送装置およびコイン搬送装置を備えたコイン処理装置を提供する。
【解決手段】コイン搬送装置は、コインを収納する容器5の底部に配置された搬送ベルト6と、搬送ベルト6に対して所定の間隔で配置され、その間をコインが通過する分離ローラー9を備え、搬送ベルト6上に横たわるコインを、次工程に搬送する。搬送ベルト6の両側には、搬送ベルト6の回転に連動して回転する複数の突起11付きの攪拌ローラー10が備わる。容器5内で起立して攪拌ローラー10にもたれ掛かるコイン13は、回転する攪拌ローラー10の突起11に当接し、搬送ベルト6上に押し倒され、搬送ベルト6と分離ローラー9との間を次工程に搬送される。
【選択図】図3
特許請求の範囲
【請求項1】
コインを一時的に収納し、前記コインを投入する上部開口と、底部に配置された前記上部開口よりも狭い底部開口とを備える収納部と、
前記収納部の底部に配置され、前記底部開口を塞ぎ、前記コインを載置して搬送する搬送ベルトと、
前記搬送ベルトに対して離隔して配置された回転体と、を有し、
前記コインを前記搬送ベルトと前記回転体との間を通して次工程に搬送するコイン搬送装置において、
複数の突起を周面に備えた攪拌ローラーを有し、
前記収納部は、前記上部開口と前記底部開口の間に前記コインを前記搬送ベルトに案内する傾斜面を有し、
前記傾斜面の下端に、前記突起を通過させる凹部を含み、前記攪拌ローラーの輪郭に対応する側部開口を有し、
前記攪拌ローラーの周面の一部を前記側部開口から露出させると共に、前記突起を前記側部開口から突出させ、
前記搬送ベルトに連動させて前記攪拌ローラーを回転させることによって、前記収納部に収納され、起立した状態で前記攪拌ローラーにもたれ掛かる前記コインに前記突起を当接させ、前記コインを押し倒すことを特徴とするコイン搬送装置。
続きを表示(約 1,200 文字)
【請求項2】
前記突起は、前記攪拌ローラーの回転方向に前記周面から漸次高くなる傾斜した平坦面を有し、前記搬送ベルト上に起立した前記コインに前記平坦面を当接させることを特徴とする請求項1に記載のコイン搬送装置。
【請求項3】
前記突起は、前記攪拌ローラーの回転軸方向に前記周面から漸次高くなる湾曲した湾曲面を有し、前記平坦面の縁と前記湾曲面の縁が接続されていることを特徴とする請求項2に記載のコイン搬送装置。
【請求項4】
複数の前記突起は、前記攪拌ローラーの回転軸方向と回転方向に離隔して配置されており、
前記攪拌ローラーの回転軸方向に隣り合う少なくとも1組の前記突起の間隔は、前記搬送ベルトから前記攪拌ローラーの回転中心までの高さの2倍以上離れていることを特徴とする請求項1から請求項3の何れか1項に記載のコイン搬送装置。
【請求項5】
前記傾斜面は前記収納部に対向して配置されており、夫夫の前記傾斜面に配置された前記攪拌ローラーは、平行に配置されていることを特徴とする請求項1から請求項3の何れか1項に記載のコイン搬送装置。
【請求項6】
前記攪拌ローラーと前記搬送ベルトの間に前記収納部の一部を形成する壁部を有し、上面視で前記搬送ベルト側の端部よりも前記攪拌ローラー側の端部が前記搬送ベルトの中央側に寄っていることを特徴とする請求項5に記載のコイン搬送装置。
【請求項7】
前記突起は、前記攪拌ローラーの表面からの高さが異なる2つ以上の前記突起が前記攪拌ローラーに備わることを特徴とする請求項1から請求項3の何れか1項に記載のコイン搬送装置。
【請求項8】
前記攪拌ローラーは、回転軸と、前記回転軸の周囲に固定される前記突起が備わる攪拌部を備え、
前記攪拌部は、2つの半円筒形状の本体部と、前記本体部の端部に係合する係止部と、を備え、
2つの前記本体部は、前記回転軸を挟んで接続され、接続された前記本体部の端部を前記係止部によって係止することで前記本体部を前記回転軸に固定することを特徴とする請求項1から請求項3の何れか1項に記載のコイン搬送装置。
【請求項9】
2つの前記本体部の端部に前記突起が2分された突起が備わり、2つの前記本体部を接続することで前記2分された突起同士が接続することで前記突起を形成することを特徴とする請求項8に記載のコイン搬送装置。
【請求項10】
前記係止部は、前記突起が備わり、
前記本体部の前記2分された突起同士が接続することで形成された前記突起と、前記係止部に備わる前記突起は、前記回転軸の方向に隣り合うことを特徴とする請求項9に記載のコイン搬送装置。
(【請求項11】以降は省略されています)
発明の詳細な説明
【技術分野】
【0001】
本発明は、ベルト上のコインを一枚ずつ分離して搬送するコイン搬送装置およびコイン搬送装置を備えたコイン処理装置に関する。
続きを表示(約 2,000 文字)
【背景技術】
【0002】
投入口から投入された複数枚のコインを、一枚ずつに分離して搬送する硬貨分離搬送装置が知られている。例えば、自動釣銭機などのコイン処理装置には、硬貨分離搬送装置が用いられている。投入口に投入されたコインは、搬送ベルト上に載置され、分離部に搬送される。コインは、分離部で一枚ずつに分離され、その後、識別部で金種が識別される。識別されたコインは、金種毎に格納部に格納される。格納部は、格納されたコインを、一枚ずつ排出できる。コイン処理装置は、識別部、格納部を制御する制御部を備える。コイン処理装置は、制御部の制御によって、識別部の識別結果から投入されたコインの金種と枚数を取得し、金種毎にコインを格納部に格納し、格納部からコインを排出することができる。
【0003】
しかし、硬貨分離搬送装置では、投入されたコインが、搬送ベルト上にコインの周面で起立する場合がある。搬送ベルトの移動に伴い、周面で起立したコインは、搬送ベルト上で倒れずに回転し、分離部に搬送されない問題があった。
【0004】
この様な問題を解決するために、例えば、特開2018-147271号公報に記載の硬貨処理装置が考えられた。この硬貨処理装置には、螺旋状突起を外周面に有するスクリュー状部材を備え、搬送ベルト上で起立したコインを、それによって搬送方向上流側に移動させる技術が開示されている。搬送ベルトの側方と搬送方向上流側の端部には、側壁が備わり、その端部は、U字状に狭まっており、コインは、その端部で起立状態が解消される。スクリュー状部材は、表面に全長に亘る螺旋状突起が形成されている。搬送ベルト上に起立したコインは、回転する螺旋状突起に接触し、搬送ベルトの搬送方向とは逆の方向に強制的に移動させられる。また、コインが、スクリュー状部材に沿って形成される隙間を通って搬送面の外部に移動するのを防止するため、スクリュー状部材の表面に当接し、隙間を覆うブラシが備わる。更に、ブラシの外側にカバーが備わり、カバーは、コインの外部への飛び出しを防止する。なお、螺旋状突起には3つの溝が所定間隔で備わり、カバーには、その溝に対応する位置に突起が備わり、突起間の距離は、コインの通過を妨げる距離に設定されている。
【0005】
ブラシは、支持体に固定されスクリュー状部材の上側と下側に配置されており、スクリュー状部材の回転に伴って螺旋状突起が位置を変えながら回転移動するのを許容できるように、螺旋状突起の接触によって容易に変形できる可撓性の材料で形成されている。
【先行技術文献】
【特許文献】
【0006】
特開2018-147271号公報
【発明の概要】
【発明が解決しようとする課題】
【0007】
従来の技術は、スクリュー状部材の回転によって螺旋状突起とコインとの接触位置を変化さることで、起立したコインを搬送させる技術である。スクリュー状部材の回転に伴い、螺旋状突起は、コインに搬送方向下流側から上流側に向かい連続して力を加わえる。これにより、コインは、搬送方向の上流側に移動する。
【0008】
使用されるコインは、金種毎に直径、厚み、重さが異なる。スクリュー状部材に設ける螺旋状突起の形状は、それら全ての金種のコインに対応させる必要がある。また、起立状態の直径の異なる様々なコインに螺旋状突起が接するようにスクリュー状部材を配置する必要がある。更に、螺旋状突起は、接触したコインを搬送方向の上流側に移動させるため、接触時の摩擦力が大きい材質にする必要がある。また、コインがブラシとスクリュー状部材の間に入らないように、ブラシは、スクリュー状部材と常に接した状態となり、磨耗や変形が生じる。
【0009】
例えば、螺旋状突起のコインとの接触位置を、直径の小さなコインの中央付近に設定した場合、直径の大きなコインの螺旋状突起との接触位置は、そのコインの下方側となる。逆に、螺旋状突起のコインとの接触位置を、直径の大きなコインの中央付近に設定した場合、直径の小さなコインの螺旋状突起との接触位置は、そのコインの上方側となる。コインと螺旋状突起との接触位置は、搬送方向上流側への移動に影響するため、最悪の場合、コインの搬送方向上流側への移動が困難になる場合がある。
【0010】
本発明は、搬送ベルト上で起立したコインに対して、耐久性が高く、コインの直径などの形状に関係なく、好適に転倒させることができるコイン搬送装置およびコイン搬送装置を備えたコイン処理装置を提供する。
【課題を解決するための手段】
(【0011】以降は省略されています)
この特許をJ-PlatPat(特許庁公式サイト)で参照する
関連特許
他の特許を見る