TOP
|
特許
|
意匠
|
商標
特許ウォッチ
Twitter
他の特許を見る
10個以上の画像は省略されています。
公開番号
2025035506
公報種別
公開特許公報(A)
公開日
2025-03-13
出願番号
2023142591
出願日
2023-09-01
発明の名称
真空ポンプ、固定円板および後付け部品
出願人
エドワーズ株式会社
代理人
弁理士法人仲野・川井国際特許事務所
,
個人
,
個人
主分類
F04D
19/04 20060101AFI20250306BHJP(液体用容積形機械;液体または圧縮性流体用ポンプ)
要約
【課題】背圧依存性能を維持しつつ、排気速度を向上させる真空ポンプ、並びに該真空ポンプで用いる固定円板および後付け部品を提供すること。
【解決手段】本実施形態に係る真空ポンプは、シグバーン要素であり、回転円板に対向して配置された、対向面に谷部と山部を有するスパイラル状溝が配設された固定円板において、スパイラル状溝のガス流入口に、ガスの流入をガイドする流入ガイド部を備えている。この流入ガイド部は、固定円板山部を対向する回転円板の外径よりも外側に延長した形状である。
【選択図】図9
特許請求の範囲
【請求項1】
ケーシングと、
前記ケーシング内に配置されたロータ軸と、
前記ロータ軸と共に回転可能な回転円板と、
前記回転円板に対し、前記ロータ軸の軸方向に対向して配置され、対向面に谷部と山部を有するスパイラル状溝が配設された固定円板と、を備え、
前記回転円板と前記固定円板の相互作用によりガスを排気する真空ポンプであって、
前記スパイラル状溝のガス流入口に、前記ガスの流入をガイドする流入ガイド部を備えたことを特徴とする真空ポンプ。
続きを表示(約 900 文字)
【請求項2】
前記流入ガイド部は、前記山部を対向する前記回転円板の外径よりも外側に一体的に延長した形状であることを特徴とする請求項1に記載の真空ポンプ。
【請求項3】
前記流入ガイド部は、前記山部を更に前記軸方向の吸気口側にも一体的に延長した形状であることを特徴とする請求項2に記載の真空ポンプ。
【請求項4】
前記流入ガイド部は、前記山部を対向する前記回転円板の外径よりも外側に延長した形状である後付け部品を取り付けることで、前記山部を対向する前記回転円板の外径よりも外側に延長した形状としたことを特徴とする請求項1に記載の真空ポンプ。
【請求項5】
前記流入ガイド部は、前記後付け部品を更に前記軸方向の吸気口側にも延長した形状であることを特徴とする請求項4に記載の真空ポンプ。
【請求項6】
前記回転円板と前記固定円板が複数段配置され、
前記流入ガイド部は、複数段の前記固定円板のうち、最も吸気口側の段に設けられたことを特徴とする請求項1から請求項5の何れか1項に記載の真空ポンプ。
【請求項7】
前記流入ガイド部と相対する固定側部品と互いに接触しており、両者の間に隙間がないことを特徴とする請求項1から請求項5の何れか1項に記載の真空ポンプ。
【請求項8】
回転円板との相互作用によりガスを排気する真空ポンプで用いられる固定円板であって、前記回転円板に対し軸方向に対向して配置され、対向面に谷部と山部を有するスパイラル状溝を有し、前記山部を対向する前記回転円板の外径よりも外側に一体的に延長した形状である流入ガイド部を備えたことを特徴とする固定円板。
【請求項9】
回転円板との相互作用によりガスを排気する真空ポンプで用いられ、前記回転円板に対し軸方向に対向して配置され、対向面に谷部と山部を有するスパイラル状溝を有する固定円板に取り付けられる後付け部品であって、
前記山部を対向する前記回転円板の外径よりも外側に延長した形状であることを特徴とする後付け部品。
発明の詳細な説明
【技術分野】
【0001】
本発明は、真空ポンプ、該真空ポンプで用いる固定円板および後付け部品に関する。
続きを表示(約 3,600 文字)
【背景技術】
【0002】
真空ポンプは、吸気口および排気口を備えた外装体を形成するケーシングを備え、このケーシングの内部に、当該真空ポンプに排気性能を発揮させる構造物が収納されている。この排気性能を発揮させる構造物は、回転自在に保持された回転部(ロータ部)とケーシングに対し固定された固定部(ステータ部)から構成されている。この回転部をモータで高速回転させることで、ロータ翼(回転円板)とステータ翼(固定円板)との相互作用により、気体(ガス)を吸気口から吸引し、排気口へ排気するようになっている。
【0003】
真空ポンプのうち、シグバーン型の構成を有するシグバーン型分子ポンプと呼ばれるタイプのものが利用されている。このシグバーン型の真空ポンプは、回転円板と、当該回転円板と軸方向に隙間(クリアランス)を取って配置された固定円板とを備え、当該回転円板もしくは固定円板の何れか一方の隙間対向表面にスパイラル状溝(螺旋状流路)が刻設されている。そして、スパイラル状溝内に拡散して入ってきた気体分子に、回転円板により回転円板の接線方向(即ち、回転円板の回転方向)の運動量を付与することで、スパイラル状溝により吸気口から排気口に向けて優位な方向性を与えて排気を行うようになっている。
このシグバーン型分子ポンプは、回転円板と固定円板の対を複数段設けるタイプや、固定翼と回転翼の対(ターボ段と呼ばれている)と組み合わせて用いられるタイプなど種々のタイプが存在している。
特許文献1記載の文献では、シグバーン型真空ポンプにおいて、スパイラル溝の吸気口側の出口は、スパイラル溝の排気口側入口と軸方向に重複する部分を備えることで、排気方向の優位な運動量を失われにくくするという効果を生じさせている。
【先行技術文献】
【特許文献】
【0004】
特開2015-102076号公報
【発明の概要】
【発明が解決しようとする課題】
【0005】
一般に真空ポンプの排気性能を表す要素として、背圧依存性能と排気速度をあげることができる。
図14は、排気性能を示す指標である背圧依存性能と排気速度における吸圧と背圧の関係を示したグラフである。
ここで、背圧依存性能が良い(高い)とは、背圧(排気口圧力)が高まっても吸圧(吸気口圧力)に影響がでにくいことをいい、換言すれば、背圧が上がると直ぐに吸圧に影響がでる場合、背圧依存性能が悪い(低い)という。
真空ポンプのユーザは、真空ポンプの使い方により圧力はまちまちであり、安定して一定の吸気圧を維持できる(背圧依存性能が良い)真空ポンプが求められている。
【0006】
一方、排気速度は同一の条件で排気を行った場合、より速く真空状態を形成する能力を指し、排気速度が速いほど排気性能が優れていることとなる。
上記したシグバーンという要素を用いることで、背圧依存性能を向上させることが期待できる。一方で、より背圧依存性能を高めようとすると、シグバーンの段数を増やす、長さを長くする、流路の深さをより浅くするといった措置が必要となる。
しかしながら、このような方策を取ると、シグバーン入口圧力が上昇し、一方で気体のコンダクタンスが悪化し、排気速度が悪化することとなる。即ち、背圧依存性能と排気速度はトレードオフの関係にある。
【0007】
そこで、本発明の目的は、背圧依存性能を維持しつつ、排気速度を向上させる真空ポンプ、並びに該真空ポンプで用いる固定円板および後付け部品を提供することである。
【課題を解決するための手段】
【0008】
請求項1に記載の発明では、ケーシングと、前記ケーシング内に配置されたロータ軸と、前記ロータ軸と共に回転可能な回転円板と、前記回転円板に対し、前記ロータ軸の軸方向に対向して配置され、対向面に谷部と山部を有するスパイラル状溝が配設された固定円板と、を備え、前記回転円板と前記固定円板の相互作用によりガスを排気する真空ポンプであって、前記スパイラル状溝のガス流入口に、前記ガスの流入をガイドする流入ガイド部を備えたことを特徴とする真空ポンプを提供する。
請求項2に記載の発明では、前記流入ガイド部は、前記山部を対向する前記回転円板の外径よりも外側に一体的に延長した形状であることを特徴とする請求項1に記載の真空ポンプを提供する。
請求項3に記載の発明では、前記流入ガイド部は、前記山部を更に前記軸方向の吸気口側にも一体的に延長した形状であることを特徴とする請求項2に記載の真空ポンプを提供する。
請求項4に記載の発明では、前記流入ガイド部は、前記山部を対向する前記回転円板の外径よりも外側に延長した形状である後付け部品を取り付けることで、前記山部を対向する前記回転円板の外径よりも外側に延長した形状としたことを特徴とする請求項1に記載の真空ポンプを提供する。
請求項5に記載の発明では、前記流入ガイド部は、前記後付け部品を更に前記軸方向の吸気口側にも延長した形状であることを特徴とする請求項4に記載の真空ポンプを提供する。
請求項6に記載の発明では、前記回転円板と前記固定円板が複数段配置され、前記流入ガイド部は、複数段の前記固定円板のうち、最も吸気口側の段に設けられたことを特徴とする請求項1から請求項5の何れか1項に記載の真空ポンプを提供する。
請求項7に記載の発明では、前記流入ガイド部と相対する固定側部品と互いに接触しており、両者の間に隙間がないことを特徴とする請求項1から請求項5の何れか1項に記載の真空ポンプを提供する。
請求項8に記載の発明では、回転円板との相互作用によりガスを排気する真空ポンプで用いられる固定円板であって、前記回転円板に対し軸方向に対向して配置され、対向面に谷部と山部を有するスパイラル状溝を有し、前記山部を対向する前記回転円板の外径よりも外側に一体的に延長した形状である流入ガイド部を備えたことを特徴とする固定円板を提供する。
請求項9に記載の発明では、回転円板との相互作用によりガスを排気する真空ポンプで用いられ、前記回転円板に対し軸方向に対向して配置され、対向面に谷部と山部を有するスパイラル状溝を有する固定円板に取り付けられる後付け部品であって、前記山部を対向する前記回転円板の外径よりも外側に延長した形状であることを特徴とする後付け部品を提供する。
【発明の効果】
【0009】
本発明では、真空ポンプにおいて、シグバーン型排気要素を用いて、背圧依存性能を維持しつつ、排気速度を上昇させることができる。
【図面の簡単な説明】
【0010】
本発明の実施形態に係るターボ分子ポンプの概略構成例を示した図である。
本発明の実施形態で用いるアンプ回路の回路図を示した図である。
本発明の実施形態における検出値が電流指令値より大きい場合の制御を示すタイムチャートである。
本発明の実施形態における検出値が電流指令値より小さい場合の制御を示すタイムチャートである。
従来のシグバーン型分子ポンプの概略構成例を示した図である。
従来の固定円板を説明するための拡大図である。
従来の複合型ターボ分子ポンプにおける概略構成例を示した図である。
従来の複合型ターボ分子ポンプにおけるシグバーン要素である固定円板に設けられたスパイラル状溝を形成する山部を説明するための斜視図である。
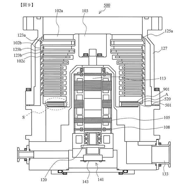
本発明の第1の実施形態に係る複合型ターボ分子ポンプにおける概略構成例を示した図である。
本発明の第1の実施形態に係る複合型ターボ分子ポンプにおけるシグバーン要素である固定円板に設けられたスパイラル状溝を形成する山部を説明するための斜視図である。
本発明の第2の実施形態に係る複合型ターボ分子ポンプにおける概略構成例を示した図である。
本発明の第3の実施形態に係る複合型ターボ分子ポンプにおける概略構成例を示した図である。
本発明の第3の実施形態に係る複合型ターボ分子ポンプにおけるシグバーン要素である固定円板に設けられたスパイラル状溝を形成する山部を説明するための斜視図である。
排気性能を示す指標である背圧依存性能と排気速度における吸圧と背圧の関係を示したグラフである。
【発明を実施するための形態】
(【0011】以降は省略されています)
この特許をJ-PlatPat(特許庁公式サイト)で参照する
関連特許
エドワーズ株式会社
真空ポンプシステム及びインターフェース回路
7日前
個人
海流製造装置。
1か月前
株式会社スギノマシン
圧縮機
8日前
株式会社ツインバード
送風装置
28日前
株式会社ツインバード
送風装置
28日前
ダイニチ工業株式会社
空調装置
4か月前
日機装株式会社
遠心ポンプ
今日
カヤバ株式会社
電動ポンプ
2か月前
株式会社不二越
蓄圧装置
2か月前
ビッグボーン株式会社
送風装置
1か月前
株式会社酉島製作所
ポンプ
3か月前
株式会社ノーリツ
ロータリ圧縮機
1か月前
株式会社ニクニ
液封式ポンプ装置
4か月前
サンデン株式会社
スクロール圧縮機
14日前
サンデン株式会社
スクロール圧縮機
14日前
株式会社ノーリツ
ロータリー圧縮機
3か月前
株式会社坂製作所
スクロール圧縮機
3か月前
樫山工業株式会社
真空ポンプ
9日前
株式会社不二越
ベーンポンプ
2か月前
小倉クラッチ株式会社
ルーツブロア
2か月前
サンデン株式会社
スクロール圧縮機
14日前
株式会社島津製作所
真空ポンプ
1か月前
株式会社豊田自動織機
流体機械
1か月前
株式会社コスメック
ピストン型ポンプ
4か月前
株式会社チロル
送風機、送風機付衣服
1か月前
株式会社アイシン
ポンプケース
21日前
株式会社島津製作所
真空ポンプ
28日前
エドワーズ株式会社
真空ポンプ
22日前
株式会社豊田自動織機
電動圧縮機
1か月前
株式会社豊田自動織機
電動圧縮機
1か月前
株式会社豊田自動織機
電動圧縮機
1か月前
株式会社ナノバブル研究所
気液駆動装置
22日前
NTN株式会社
電動オイルポンプ
15日前
株式会社豊田自動織機
電動圧縮機
1か月前
株式会社豊田自動織機
電動圧縮機
2か月前
株式会社豊田自動織機
電動圧縮機
1か月前
続きを見る
他の特許を見る