TOP
|
特許
|
意匠
|
商標
特許ウォッチ
Twitter
他の特許を見る
10個以上の画像は省略されています。
公開番号
2025018487
公報種別
公開特許公報(A)
公開日
2025-02-06
出願番号
2023122218
出願日
2023-07-27
発明の名称
照明装置
出願人
矢崎総業株式会社
代理人
個人
,
個人
,
個人
主分類
F21V
5/02 20060101AFI20250130BHJP(照明)
要約
【課題】レンズ本体の裏面に突出部が形成された照明装置において、突出部の影を目立ち難くする。
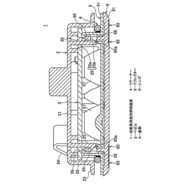
【解決手段】自動車用室内照明装置1は、ルーフトリムの開口に取り付けられるベゼル2と、スポット照明用LED7が搭載された基板3と、リテーナー4と、リフレクター5と、レンズ6と、を備えている。レンズ6は、スポット照明用LED7の光を通すレンズ本体61と、レンズ本体61の裏面からベゼル2に向かって突出したロック部65を一体に有している。レンズ本体61の表面には、互いに交差した複数の溝によって構成されるレンズカット62,63が施されている。ロック部65と反対側の部位に施されたレンズカット62は、他の部位に施されたレンズカット63よりもピッチが小さくされている。
【選択図】図5
特許請求の範囲
【請求項1】
ベゼルと、前記ベゼルに組み付けられたレンズと、前記ベゼルと前記レンズとの間に配置された光源と、を備え、
前記レンズは、前記ベゼルと対向し、前記光源からの光を通すレンズ本体と、前記レンズ本体の裏面から前記ベゼルに向かって突出した突出部と、を有し、
前記レンズ本体の表面には、互いに交差した複数の溝によって構成されるレンズカットが施されており、
前記レンズ本体の表面における前記突出部と反対側の部位には、他の部位よりもピッチが小さいレンズカットが施されている
ことを特徴とする照明装置。
続きを表示(約 260 文字)
【請求項2】
前記突出部は、前記ベゼルに係止したロック部である
ことを特徴とする請求項1に記載の照明装置。
【請求項3】
前記光源からの光を前記レンズ本体側に集めるリフレクターを備え、
前記リフレクターは、前記突出部が嵌まる凹部を有している
ことを特徴とする請求項1に記載の照明装置。
【請求項4】
前記レンズ本体の表面における前記突出部と反対側の部位には、他の部位よりも深いレンズカットが施されている
ことを特徴とする請求項1に記載の照明装置。
発明の詳細な説明
【技術分野】
【0001】
本発明は、照明装置に関するものである。
続きを表示(約 1,300 文字)
【背景技術】
【0002】
自動車のルーフトリムに取り付けられて乗員室内を照明する照明装置が公知である。図12は、従来の照明装置を示す図である(特許文献1を参照)。
【0003】
図12に示す照明装置501は、ルーフトリム510の開口511に取り付けられたベゼル502と、光源505を有する機能部506と、レンズ503と、を備えている。ベゼル502は、機能部506に係止した第1の係止部524を有している。レンズ503は、裏面にレンズカット533が施された本体部531と、本体部531の裏面から立設してベゼル502に係止した第2の係止部535と、を有している。
【先行技術文献】
【特許文献】
【0004】
特開2008-189022号公報
【発明の概要】
【発明が解決しようとする課題】
【0005】
上記照明装置501は、乗員室側から見た際、第2の係止部535の影が目立ち、見栄えが良くないという問題があった。
【0006】
そこで、本発明は、レンズ本体の裏面に突出部が形成された照明装置において、突出部の影を目立ち難くすることを目的とする。
【課題を解決するための手段】
【0007】
本発明は、ベゼルと、前記ベゼルに組み付けられたレンズと、前記ベゼルと前記レンズとの間に配置された光源と、を備え、前記レンズは、前記ベゼルと対向し、前記光源からの光を通すレンズ本体と、前記レンズ本体の裏面から前記ベゼルに向かって突出した突出部と、を有し、前記レンズ本体の表面には、互いに交差した複数の溝によって構成されるレンズカットが施されており、前記レンズ本体の表面における前記突出部と反対側の部位には、他の部位よりもピッチが小さいレンズカットが施されていることを特徴とする照明装置である。
【発明の効果】
【0008】
本発明によれば、レンズ本体の表面には、互いに交差した複数の溝によって構成されるレンズカットが施されており、レンズ本体の表面における突出部と反対側の部位には、他の部位よりもピッチが小さいレンズカットが施されているので、突出部の影を目立ち難くすることができ、見栄えを向上させることができる。
【図面の簡単な説明】
【0009】
本発明の一実施形態にかかる照明装置を示す図である。
図1の照明装置の分解図である。
図1の照明装置を下から見た図である。
図3中のA-A線に沿った断面図である。
図3中のB-B線に沿った断面図である。
図5の要部を拡大した図である。
図1のレンズの裏面を示す図である。
図1のレンズの表面を示す図である。
図8中のD部を拡大した図である。
図1の照明装置の外観を示す写真である。
参考例の照明装置の外観を示す写真である。
従来の照明装置を示す図である。
【発明を実施するための形態】
【0010】
本発明の一実施形態にかかる「照明装置」について、図1~11を参照して説明する。
(【0011】以降は省略されています)
この特許をJ-PlatPat(特許庁公式サイト)で参照する
関連特許
矢崎総業株式会社
端子
18日前
矢崎総業株式会社
箱状体
11日前
矢崎総業株式会社
箱状体
1か月前
矢崎総業株式会社
箱状体
11日前
矢崎総業株式会社
箱状体
11日前
矢崎総業株式会社
箱状体
1か月前
矢崎総業株式会社
コネクタ
1か月前
矢崎総業株式会社
照明装置
24日前
矢崎総業株式会社
接続構造
11日前
矢崎総業株式会社
コネクタ
1か月前
矢崎総業株式会社
コネクタ
1か月前
矢崎総業株式会社
コネクタ
1か月前
矢崎総業株式会社
コネクタ
1か月前
矢崎総業株式会社
照明装置
18日前
矢崎総業株式会社
照明装置
19日前
矢崎総業株式会社
照明装置
19日前
矢崎総業株式会社
コネクタ
1か月前
矢崎総業株式会社
バスバー
29日前
矢崎総業株式会社
コネクタ
1か月前
矢崎総業株式会社
照明構造
1か月前
矢崎総業株式会社
コネクタ
1か月前
矢崎総業株式会社
コネクタ
1か月前
矢崎総業株式会社
コネクタ
1か月前
矢崎総業株式会社
コネクタ
1か月前
矢崎総業株式会社
コネクタ
1か月前
矢崎総業株式会社
止水部材
1か月前
矢崎総業株式会社
コネクタ
1か月前
矢崎総業株式会社
コネクタ
1か月前
矢崎総業株式会社
コネクタ
10日前
矢崎総業株式会社
コネクタ
10日前
矢崎総業株式会社
報知装置
25日前
矢崎総業株式会社
電気接続箱
1か月前
矢崎総業株式会社
カバー構造
16日前
矢崎総業株式会社
電気接続箱
1か月前
矢崎総業株式会社
電気接続箱
1か月前
矢崎総業株式会社
ゴムブーツ
1か月前
続きを見る
他の特許を見る