TOP
|
特許
|
意匠
|
商標
特許ウォッチ
Twitter
他の特許を見る
10個以上の画像は省略されています。
公開番号
2024158218
公報種別
公開特許公報(A)
公開日
2024-11-08
出願番号
2023073226
出願日
2023-04-27
発明の名称
ノズル
出願人
株式会社いけうち
代理人
弁理士法人アスフィ国際特許事務所
主分類
B05B
1/06 20060101AFI20241031BHJP(霧化または噴霧一般;液体または他の流動性材料の表面への適用一般)
要約
【課題】ノズルから噴射する液体がばらけるのが抑えられ、安定して液体を噴射することができるノズルを提供する。
【解決手段】軸方向に延びる液体流路10を有するノズル1であって、液体流路10は、大径部11と、大径部11よりも先端側に縮径部12を有し、大径部11は軸方向に沿って内径が略同一に形成され、縮径部12は先端に向かって内径が小さくなるように形成され、大径部11には、大径部11の内面から径方向の内方に突出し、軸方向に延びる整流板5が、周方向に複数設けられ、大径部11の径方向の中心には整流板5が存在せず、整流板5は先端側傾斜部6を有し、整流板5の径方向の内方側の外縁は、先端側傾斜部6において先端に向かって径方向の外方に延びるように形成され、大径部11の内径をdとしたとき、整流板5の先端側の端は、縮径部12の基端側の端から基端側にd/2以内の距離に位置する。
【選択図】図1
特許請求の範囲
【請求項1】
基端側から先端側に延びる軸方向と、前記軸方向に垂直な径方向と周方向とを有し、軸方向に延びる液体流路が内部に形成されたノズルであって、
前記液体流路は、大径部と、前記大径部よりも先端側に縮径部を有し、前記液体流路の先端に噴口が形成されており、
前記大径部は、軸方向に沿って内径が略同一に形成され、
前記縮径部は、先端に向かって内径が小さくなるように形成され、
前記大径部には、前記大径部の内面から径方向の内方に突出し、軸方向に延びる整流板が、周方向に複数設けられ、前記大径部の径方向の中心には前記整流板が存在せず、液体の流通空間が形成されており、
前記整流板は先端側傾斜部を有し、前記整流板の径方向の内方側の外縁は、前記先端側傾斜部において先端に向かって径方向の外方に延びるように形成され、
前記大径部の内径をdとしたとき、前記整流板の先端側の端は、前記縮径部の基端側の端から基端側にd/2以内の距離に位置することを特徴とするノズル。
続きを表示(約 680 文字)
【請求項2】
前記先端側傾斜部の軸方向の長さL1と径方向の長さR1との比L1/R1の値が0.8以上2.0以下である請求項1に記載のノズル。
【請求項3】
前記整流板は基端側傾斜部を有し、前記整流板の径方向の内方側の外縁は、前記基端側傾斜部において先端に向かって径方向の内方に延びるように形成されている請求項1に記載のノズル。
【請求項4】
前記先端側傾斜部の軸方向の長さL1と径方向の長さR1との比L1/R1の値が、前記基端側傾斜部の軸方向の長さL2と径方向の長さR2との比L2/R2の値よりも大きい請求項3に記載のノズル。
【請求項5】
前記整流板は、径方向の内方に向かって厚みが一定に形成されているか、径方向の内方に向かって厚みが一定の部分と厚みが減少する部分を有し、厚みが一定に形成されている部分が整流板の径方向の長さの3/4以上の長さで形成されている請求項1に記載のノズル。
【請求項6】
前記ノズルは、前記液体流路に液体を導入する供給管路に接続され、前記供給管路は、前記整流板の基端側の端から100mm以内に分岐部または屈曲部を有する請求項1に記載のノズル。
【請求項7】
前記ノズルは、ノズル本体に整流器が挿入されて構成され、
前記ノズル本体は、前記整流器が挿入される受け部と、前記受け部よりも先端側に前記縮径部を有し、
前記整流器は、前記大径部を構成する環状部を有し、前記整流板が前記環状部の内面から径方向の内方に突出している請求項1に記載のノズル。
発明の詳細な説明
【技術分野】
【0001】
本発明はノズルに関するものである。
続きを表示(約 3,000 文字)
【背景技術】
【0002】
従来、整流器を備えたノズルが知られている。例えば特許文献1には、整流器を内装した整流通路と、その下流側に連なる絞り流路と、さらにその下流側に連なる噴射通路とを有するノズルであって、整流通路の内径がそのほぼ全長にわたって同一に形成され、絞り通路の内径が下流側に向かって小さくなるように形成されたノズルが開示されている。特許文献2には、整流器が配設された流体通路と、流体流路に配設された絞りと、当該絞りに配設された噴出口とを有するノズルであって、整流器は流体の連通路を有し、連通路の内周部から中心部に向かって突出し、連通路に沿って延びる複数の突起を備え、突起は連通路の内周部よりも中心部の幅が狭い形状で形成されたノズルが開示されている。
【先行技術文献】
【特許文献】
【0003】
特開平1-111464号公報
特開2016-056834号公報
【発明の概要】
【発明が解決しようとする課題】
【0004】
整流器が設けられたノズルは、整流器に備えられた整流板によって、ノズル内部を流れる液体に乱流が発生するのが抑えられる。これにより、ノズルから噴射する液体がばらけるのが抑えられ、安定して液体を噴射することができる。しかし、より安定して液体を噴射することができるノズルがあれば望ましい。本発明は前記事情に鑑みてなされたものであり、その目的は、ノズルから噴射する液体がばらけるのが抑えられ、安定して液体を噴射することができるノズルを提供することにある。
【課題を解決するための手段】
【0005】
前記課題を解決することができた本発明のノズルは下記の通りである。
[1] 基端側から先端側に延びる軸方向と、前記軸方向に垂直な径方向と周方向とを有し、軸方向に延びる液体流路が内部に形成されたノズルであって、
前記液体流路は、大径部と、前記大径部よりも先端側に縮径部を有し、前記液体流路の先端に噴口が形成されており、
前記大径部は、軸方向に沿って内径が略同一に形成され、
前記縮径部は、先端に向かって内径が小さくなるように形成され、
前記大径部には、前記大径部の内面から径方向の内方に突出し、軸方向に延びる整流板が、周方向に複数設けられ、前記大径部の径方向の中心には前記整流板が存在せず、液体の流通空間が形成されており、
前記整流板は先端側傾斜部を有し、前記整流板の径方向の内方側の外縁は、前記先端側傾斜部において先端に向かって径方向の外方に延びるように形成され、
前記大径部の内径をdとしたとき、前記整流板の先端側の端は、前記縮径部の基端側の端から基端側にd/2以内の距離に位置することを特徴とするノズル。
[2] 前記先端側傾斜部の軸方向の長さL1と径方向の長さR1との比L1/R1の値が0.8以上2.0以下である[1]に記載のノズル。
[3] 前記整流板は基端側傾斜部を有し、前記整流板の径方向の内方側の外縁は、前記基端側傾斜部において先端に向かって径方向の内方に延びるように形成されている[1]または[2]に記載のノズル。
[4] 前記先端側傾斜部の軸方向の長さL1と径方向の長さR1との比L1/R1の値が、前記基端側傾斜部の軸方向の長さL2と径方向の長さR2との比L2/R2の値よりも大きい[3]に記載のノズル。
[5] 前記整流板は、径方向の内方に向かって厚みが一定に形成されているか、径方向の内方に向かって厚みが一定の部分と厚みが減少する部分を有し、厚みが一定に形成されている部分が整流板の径方向の長さの3/4以上の長さで形成されている[1]~[4]のいずれかに記載のノズル。
[6] 前記ノズルは、前記液体流路に液体を導入する供給管路に接続され、前記供給管路は、前記整流板の基端側の端から100mm以内に分岐部または屈曲部を有する[1]~[5]のいずれかに記載のノズル。
[7] 前記ノズルは、ノズル本体に整流器が挿入されて構成され、前記ノズル本体は、前記整流器が挿入される受け部と、前記受け部よりも先端側に前記縮径部を有し、前記整流器は、前記大径部を構成する環状部を有し、前記整流板が前記環状部の内面から径方向の内方に突出している[1]~[6]のいずれかに記載のノズル。
【発明の効果】
【0006】
本発明のノズルによれば、噴射する液体がばらけるのが抑えられ、ノズルから安定して液体を噴射することができる。そのため、例えば高圧で液体を噴射した場合でも、液体を意図した噴射形状で安定して噴射することができる。
【図面の簡単な説明】
【0007】
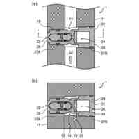
本発明の実施の形態に係るノズルの構成例を表し、ノズルの軸方向断面図を表す。
本発明の実施の形態に係るノズルの他の構成例を表し、ノズルの軸方向断面図を表す。
図1および図2に示したノズルのIII-III断面図を表す。
図3に示したノズルの断面図の変形例を表す。
図1に示したノズルに備えられた整流器の軸方向断面図を表す。
図1および図2に示したノズルのノズル本体の軸方向断面図を表す。
実施例で用いた配管とノズルの設置構成を表す。
実施例で用いた整流器のタイプ一覧を表し、整流器の軸方向断面と軸方向の垂直方向断面の模式形状を表す。
【発明を実施するための形態】
【0008】
以下、本発明のノズルを図面を参照して説明するが、本発明は図面に示した態様に限定されるものではない。図1~図6には、本発明のノズルの構成例を示した。図1および図2は、本発明の実施の形態に係るノズルの構成例であって、ノズルの軸方向断面図を表し、図3は、図1および図2に示したノズルのIII-III断面図を表し、図4は、図3に示したノズルの断面図の変形例を表し、図5は、図1に示したノズルに備えられた整流器の軸方向断面図を表し、図6は、図1および図2に示したノズルのノズル本体の軸方向断面図を表す。
【0009】
ノズル1は、基端側から先端側に延びる軸方向と、軸方向に垂直な径方向と周方向とを有する。ノズル1において、軸方向とは、ノズル1の基端側から先端側に延びる方向を意味する。図1、図2、図5、図6において、図面の右側が基端側に相当し、図面の左側が先端側に相当する。径方向は、軸方向に対する垂直方向であって、ノズル1の軸方向の垂直断面において、液体流路10の中心(図心)から放射方向に延びる方向を意味する。周方向は、ノズル1の軸方向の垂直断面において、液体流路10の中心(図心)を取り囲む方向を意味する。
【0010】
ノズル1は液体が流れる液体流路10を有し、液体流路10は、ノズル1の内部で軸方向に延びている。液体は液体流路10を基端側から先端側に向かって流れる。ノズル1は、液体流路10の先端に噴口が形成されており、噴口から液体が噴出される。ノズル1から噴霧する液体としては、水や薬液等が挙げられる。
(【0011】以降は省略されています)
この特許をJ-PlatPat(特許庁公式サイト)で参照する
関連特許
株式会社いけうち
ノズル設置構造体
3日前
株式会社いけうち
噴霧装置および噴霧腐食試験機
1か月前
個人
微細霧発生装置
1日前
ベック株式会社
被膜形成方法
1か月前
ベック株式会社
被膜形成方法
4か月前
ベック株式会社
被膜形成方法
4か月前
有限会社 芦屋ドレス
湯噴霧器
17日前
ベック株式会社
装飾被膜の形成方法
3か月前
スズカファイン株式会社
多色性塗膜
1か月前
株式会社吉野工業所
キャップ
4か月前
アイカ工業株式会社
塗料仕上げ工法
1か月前
トヨタ自動車株式会社
塗布装置
1か月前
日本ライナー株式会社
塗装装置
1か月前
プルガティオ株式会社
噴霧装置
4か月前
プルガティオ株式会社
噴霧装置
4か月前
株式会社カネカ
塗布装置
1か月前
能美防災株式会社
水噴霧ヘッド
1か月前
個人
スプレー缶高所対応携帯ホルダー
1か月前
プルガティオ株式会社
噴霧装置
4か月前
ヒット工業株式会社
マスキング具
2か月前
株式会社吉野工業所
ポンプ式吐出器
4か月前
中外炉工業株式会社
塗工装置
3か月前
東レエンジニアリング株式会社
粉体吐出装置
1か月前
ブラザー工業株式会社
塗工装置
29日前
ブラザー工業株式会社
塗工装置
29日前
ブラザー工業株式会社
塗工装置
29日前
東レエンジニアリング株式会社
スリットダイ
1か月前
株式会社吉野工業所
吐出器
4か月前
旭サナック株式会社
粉体塗装装置
2か月前
株式会社吉野工業所
吐出器
4か月前
株式会社大関
塗装用ローラとその製造方法
4か月前
積水ハウス株式会社
接着剤塗布装置
3か月前
三菱鉛筆株式会社
多液混合型塗布具
3か月前
株式会社トーモク
印刷装置および印刷方法
1か月前
個人
散水形態を変更可能な吐水装置
1か月前
トヨタ自動車株式会社
間欠塗工装置
11日前
続きを見る
他の特許を見る