TOP
|
特許
|
意匠
|
商標
特許ウォッチ
Twitter
他の特許を見る
公開番号
2025181242
公報種別
公開特許公報(A)
公開日
2025-12-11
出願番号
2024089103
出願日
2024-05-31
発明の名称
車両用収容構造体
出願人
豊田合成株式会社
代理人
弁理士法人 共立特許事務所
主分類
B60R
5/02 20060101AFI20251204BHJP(車両一般)
要約
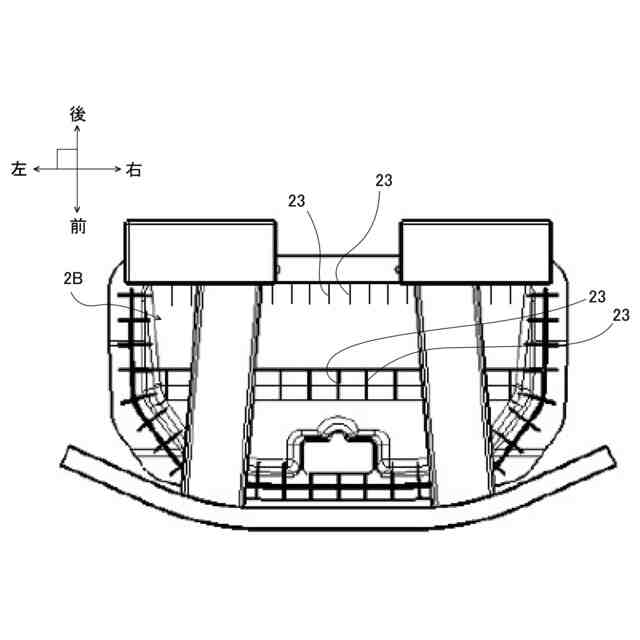
【課題】車両におけるフード下方領域の機能向上に寄与し得る技術を提供すること。
【解決手段】
車両における車室の外部においてボンネットフードの下方に配置される樹脂材料製の車両用収容構造体1であって、
収容空間20を有する箱状をなす本体部2と、
前記本体部2と一体に形成され、金属製のボデーの一部を構成し互いに離隔する2つのボデー部Bに各々取り付けられる一対の取付部3と、
前記本体部2と一体に形成されているボデー補強構造部4と、を具備し、
前記ボデー補強構造部4は、一対の前記取付部3の一方から他方に亘る前記本体部2の補強領域25の少なくとも一部に設けられている、車両用収容構造体1。
【選択図】図3
特許請求の範囲
【請求項1】
車両における車室の外部においてボンネットフードの下方に配置される樹脂材料製の車両用収容構造体であって、
収容空間を有する箱状をなす本体部と、
前記本体部と一体に形成され、金属製のボデーの一部を構成し互いに離隔する2つのボデー部に各々取り付けられる一対の取付部と、
前記本体部と一体に形成されているボデー補強構造部と、を具備し、
前記ボデー補強構造部は、一対の前記取付部の一方から他方に亘る前記本体部の補強領域の少なくとも一部に設けられている、車両用収容構造体。
続きを表示(約 1,100 文字)
【請求項2】
前記ボデー補強構造部の形状はリブ状、立壁状および仕切状から選ばれる少なくとも一種である、請求項1に記載の車両用収容構造体。
【請求項3】
前記樹脂材料は、ポリプロピレンおよびポリアミドから選ばれる少なくとも一種を主成分とするか、またはFRP材料である、請求項1または請求項2に記載の車両用収容構造体。
【請求項4】
一対の前記取付部は、前記ボデー部に取り付けた取付状態において、前記本体部の上端よりも下方かつ前記本体部の下端よりも上方に位置する、請求項1または請求項2に記載の車両用収容構造体。
【請求項5】
少なくとも一方の前記取付部は、前記本体部の底壁または周壁に形成された貫通孔である、請求項1または請求項2に記載の車両用収容構造体。
【請求項6】
一対の前記取付部は、一対の前記取付部をむすぶ補強方向において前記本体部よりも内側に位置する、請求項1または請求項2に記載の車両用収容構造体。
【請求項7】
一対の前記取付部は、車両進行方向に離隔している、請求項1または請求項2に記載の車両用収容構造体。
【請求項8】
前記一対の取付部の各々が、前記ボデー部のうち車幅方向に離隔する左側サイドメンバと右側サイドメンバとの各々に取り付けられるか、または、前記ボデー部のうち車幅方向に離隔する左側フロントインサイドパネルと右側フロントインサイドパネルとの各々に取り付けられることで、前記ボデーを車幅方向に補強する、もしくは、
前記一対の取付部の各々が、前記ボデー部のうち車両進行方向に離隔する左側サイドメンバと左側フロントインサイドパネルとの各々に取り付けられるか、前記ボデー部のうち車両進行方向に離隔する左側サイドメンバとダッシュパネルとの各々に取り付けられるか、前記ボデー部のうち車両進行方向に離隔する右側サイドメンバと右側フロントインサイドパネルとの各々に取り付けられるか、または、前記ボデー部のうち車両進行方向に離隔する右側サイドメンバとダッシュパネルとの各々に取り付けられることで、前記ボデーを車両進行方向に補強する、請求項1または請求項2に記載の車両用収容構造体。
【請求項9】
補強構造体であるフロントフェイスを本体部に一体に有する、請求項1または請求項2に記載の車両用収容構造体。
【請求項10】
前記ボデー補強構造部は車幅方向かつ車両進行方向に亘って斜め方向に延びている、請求項1または請求項2に記載の車両用収容構造体。
発明の詳細な説明
【技術分野】
【0001】
本発明は、車両における車室外に設けられている車両用収容構造体に関する。
続きを表示(約 1,300 文字)
【背景技術】
【0002】
車両における車室外、より具体的にはボンネットフードの下方には、数多くの車両搭載品が搭載されている。
当該車両搭載品とは、具体的には、ラジエータ、ファン、空調装置、エアクリーナ、物品を収容保持するための収容構造体、ガソリン車やディーゼル車等においてはエンジン、電気自動車においてはモータやバッテリ等を意味する。
【0003】
一方、一般的な車両は、その剛性を確保するための構造として、金属製のボデーを有する。当該ボデーは、車両進行方向および車幅方向に延び、ボンネットフードの下方にも存在する。
【0004】
ボンネットフードの下方に配置される各種の車両搭載品と、当該ボデーとが干渉することを避けるために、一般的には、ボンネットフードの下方においてボデーの一部を車両進行方向および/または車幅方向に不連続にして、車両搭載品を搭載するための空間を確保している(例えば、特許文献1参照)。
【0005】
特許文献1には、ボンネットフード(ボンネット56)の下方において、ボデーの一部であるサイドフレーム(フロントサイドフレーム16,16)が車幅方向に離隔している旨が説明されている。また、ボデーの一部であるバンパレインフォース74とインパネメンバ30とが車両進行方向に離隔している旨が説明されている。
【0006】
特許文献1には、上記したフロントサイドフレーム16,16の間かつバンパレインフォース74とインパネメンバ30との間に、ラジエータ50やエアクリーナ60、フロントトランクボックス98等の車両搭載品が搭載されている旨も説明されている。
【0007】
このようにボデーの一部を車幅方向や車両進行方向に離隔させ、不連続にすることにより、その間に各種の車両搭載品を搭載するための空間を確保することが可能である。
【0008】
その一方で、ボンネットフードの下方においてボデーの一部を車両進行方向および/または幅方向に不連続にすると、当該不連続な部分においてはボデーの剛性が低下する。
このため一般的には、アッパクロスメンバ、ロワクロスメンバ、アッパサイド、フロントフェイス、ラジエータサポート等と称される各種の補強構造体をボデーに取り付け、ボデーにおける当該不連続な部分に当該補強構造体を架け渡すことで、当該ボデーを補強することがなされている。
特許文献1にも、フロントクロスメンバ18等の補強構造体によりボデーにおける上記の不連続な部分を補強する旨が説明されている。
【先行技術文献】
【特許文献】
【0009】
特開2005-29103号公報
【発明の概要】
【発明が解決しようとする課題】
【0010】
上記したボデーにおける不連続な部分をより十全に補強するためには、ボデーにおける当該不連続な部分を補強するための補強構造体を複数設け、ボデーを複数箇所で補強することが有効だと考えられる。そして当該補強構造体の数が多ければ、それだけボデーを強固に補強できると考えられる。
(【0011】以降は省略されています)
この特許をJ-PlatPat(特許庁公式サイト)で参照する
関連特許
豊田合成株式会社
外装パネル
6日前
豊田合成株式会社
光デバイス
7日前
豊田合成株式会社
乗員保護装置
6日前
豊田合成株式会社
制御ユニット
13日前
豊田合成株式会社
乗員保護装置
6日前
豊田合成株式会社
乗員保護装置
6日前
豊田合成株式会社
エアバッグ装置
6日前
豊田合成株式会社
エアバッグ装置
13日前
豊田合成株式会社
エアバッグ装置
13日前
豊田合成株式会社
車両用ホルダ装置
15日前
豊田合成株式会社
車両用収容構造体
今日
豊田合成株式会社
車両用ホルダ装置
15日前
豊田合成株式会社
車両の音出力装置
6日前
豊田合成株式会社
車両の音出力装置
1日前
豊田合成株式会社
ルーフモジュール
今日
豊田合成株式会社
車両用ホルダ装置
15日前
豊田合成株式会社
車両用リッド開閉装置
今日
豊田合成株式会社
硫黄架橋ゴムの脱硫方法
15日前
豊田合成株式会社
光デバイスおよびその製造方法
6日前
豊田合成株式会社
ウインドウパネル及びシール構造
7日前
豊田合成株式会社
センサシステム、移動体、および、アームレスト装置
21日前
豊田合成株式会社
シートクッションエアバッグ装置およびシートクッションエアバッグ構造体
6日前
個人
空間形成装置
1か月前
日本精機株式会社
照明装置
1か月前
個人
常設収納型サンバイザー
1か月前
株式会社豊田自動織機
産業車両
1か月前
日本精機株式会社
車載表示装置
1か月前
個人
回転窓ワイパー装置
1か月前
日本精機株式会社
車載表示装置
1か月前
日本精機株式会社
車載表示装置
1か月前
日本精機株式会社
車両用投影装置
今日
日本精機株式会社
車両用報知装置
1か月前
個人
聴覚と触覚を利用する速度計
6日前
日本精機株式会社
車両用表示装置
1日前
個人
音による速度計とプログラム
1か月前
日本化薬株式会社
ガス発生器
8日前
続きを見る
他の特許を見る