TOP
|
特許
|
意匠
|
商標
特許ウォッチ
Twitter
他の特許を見る
公開番号
2025177130
公報種別
公開特許公報(A)
公開日
2025-12-05
出願番号
2024083692
出願日
2024-05-22
発明の名称
シートクッションエアバッグ装置およびシートクッションエアバッグ構造体
出願人
豊田合成株式会社
代理人
弁理士法人 共立特許事務所
主分類
B60N
2/427 20060101AFI20251128BHJP(車両一般)
要約
【課題】シートクッションエアバッグ装置において、衝撃発生時に、シート支持部5の変形を抑制しつつシートベルトによって乗員を安定的に拘束する技術を向上させること。
【解決手段】
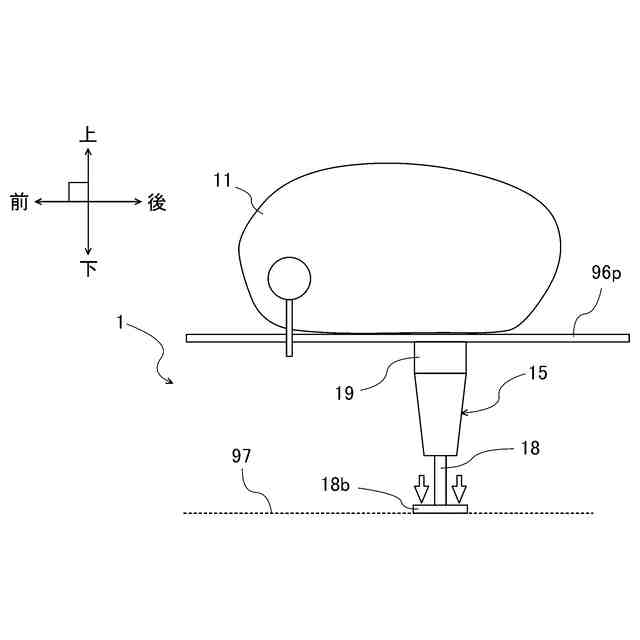
車両の座席90における座面93の下方に配置され前記車両の衝撃発生時に展開膨張するシートクッションエアバッグ11と、
前記座面93の下方に配置され前記衝撃発生時に上下方向に伸張する支持用リフター15と、を具備し、
前記シートクッションエアバッグ11は、展開膨張時に、伸張状態にある前記支持用リフター15によって下側から支持される、シートクッションエアバッグ装置1。
【選択図】図2
特許請求の範囲
【請求項1】
車両の座席における座面の下方に配置され前記車両の衝撃発生時に展開膨張するシートクッションエアバッグと、
前記座面の下方に配置され前記衝撃発生時に上下方向に伸張する支持用リフターと、
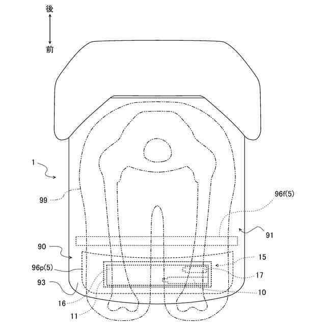
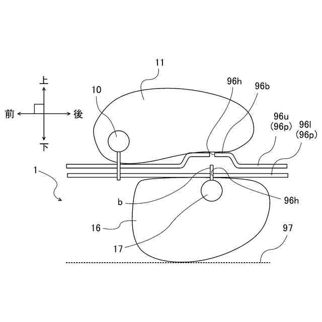
前記シートクッションエアバッグの下方かつ前記支持用リフターの上方に配置されているシート支持部と、を具備し、
前記シートクッションエアバッグは、展開膨張時に、伸張状態にある前記支持用リフターによって下側から支持される、シートクッションエアバッグ構造体。
続きを表示(約 470 文字)
【請求項2】
車両の座席における座面の下方に配置され前記車両の衝撃発生時に展開膨張するシートクッションエアバッグと、
前記座面の下方に配置され前記衝撃発生時に上下方向に伸張する支持用リフターと、を具備し、
前記シートクッションエアバッグは、展開膨張時に、伸張状態にある前記支持用リフターによって下側から支持される、シートクッションエアバッグ装置。
【請求項3】
前記シートクッションエアバッグは、前記座面の下方に配置されるシート支持部の上方に配置され、前記支持用リフターは前記シート支持部の下方に配置される、請求項2に記載のシートクッションエアバッグ装置。
【請求項4】
伸張した前記支持用リフターは、車両フロアに上側から当接する、請求項2または請求項3に記載のシートクッションエアバッグ装置。
【請求項5】
前記支持用リフターは、前記衝撃発生時に前記シートクッションエアバッグが展開膨張するよりも先に伸張する、請求項2または請求項3に記載のシートクッションエアバッグ装置。
発明の詳細な説明
【技術分野】
【0001】
本発明は、車両の座席に搭載されるシートクッションエアバッグ装置およびシートクッションエアバッグ構造体に関する。
続きを表示(約 1,500 文字)
【背景技術】
【0002】
衝突時等の車両における衝撃発生時に、車両の座席に着座している乗員が、シートベルトを装着しているにも拘わらず前方や下方に移動してしまう現象が生じることが知られている。
なお本明細書でいう前側、前方等とは、座席の座部に着座した乗員の身体を基準とした前後方向における前側、前方等を意味する。同様に、後側、後方等についても座席の座部に着座した乗員の身体を基準とした前後方向における後側、後方等を意味する。また本明細書において、後述する幅方向とは、水平かつ当該前後方向に直交する方向を意味する。さらに、上、下、とは鉛直方向の上、鉛直方向の下を意味する。
【0003】
上記の現象の一種として、例えば、乗員が座席の座面から前側下方に滑り落ちる現象(所謂サブマリン現象)が知られている。
当該サブマリン現象は、車両に対して前方からの衝撃が加わったときに、乗員の腰部が前方に移動して、シートベルトのうち乗員の腰部を拘束するための腰部ストラップ(腰ベルト、ラップストラップとも称される)を下側から潜り抜けることに因ると考えられている。
【0004】
これら乗員が移動してしまう現象を抑制するために、座席における座面よりも下側、より具体的には座部の内部に、シートクッションエアバッグと称されるエアバッグを設ける技術が提案されている(例えば、特許文献1参照)。
【0005】
例えば特許文献1に紹介されている技術では、衝撃発生時にシートクッションエアバッグを展開膨張させることで座席の座面を上昇させている。特許文献1の〔0007〕段落等には、シートクッションエアバッグが乗員の大腿部を持ち上げることで、乗員の前方への移動を抑制すると説明されている。
【先行技術文献】
【特許文献】
【0006】
特開2018-188123号公報
特開2012-106617号公報
【発明の概要】
【発明が解決しようとする課題】
【0007】
上記したように、特許文献1に紹介されているシートクッションエアバッグは衝撃発生時に展開膨張する。この展開膨張時において、当該シートクッションエアバッグは乗員の腰部の下方から当該腰部を上昇させる。そしてその結果、乗員の前方への移動が抑制され、ひいては上記のサブマリン現象が生じ難くなると考えられる。
【0008】
ここで、シートクッションエアバッグおよび座部の上方には乗員が着座し、当該座部には乗員に因る下向きの荷重が作用する。このため座部は、シートクッションエアバッグの展開膨張直後においては、乗員が妨げになって上方には変形し難い。
【0009】
つまり座部は、シートクッションエアバッグの展開膨張直後には、先ず変形し易い下方に向けて変形し、その後、上方に向けて変形する。したがってシートクッションエアバッグの展開膨張時には、座席の座部に、下方に向けた大きな力が作用する。
【0010】
衝撃発生時にシートベルトにより乗員を安定的に拘束し支持するためには、このとき座席に着座している乗員の腰部を大きく上昇させるのが好適であり、そのためにはシートクッションエアバッグを上下方向に大きく展開膨張させる必要がある。
しかしその一方で、シートクッションエアバッグを上下方向に大きく展開膨張させる場合、当該シートクッションエアバッグから座席の座部に作用する下方向の力もまた大きくなる。
(【0011】以降は省略されています)
この特許をJ-PlatPat(特許庁公式サイト)で参照する
関連特許
他の特許を見る