TOP
|
特許
|
意匠
|
商標
特許ウォッチ
Twitter
他の特許を見る
公開番号
2025180224
公報種別
公開特許公報(A)
公開日
2025-12-11
出願番号
2024087401
出願日
2024-05-29
発明の名称
通知システム
出願人
日本信号株式会社
代理人
弁理士法人朝日特許事務所
主分類
G07C
9/29 20200101AFI20251204BHJP(チェック装置)
要約
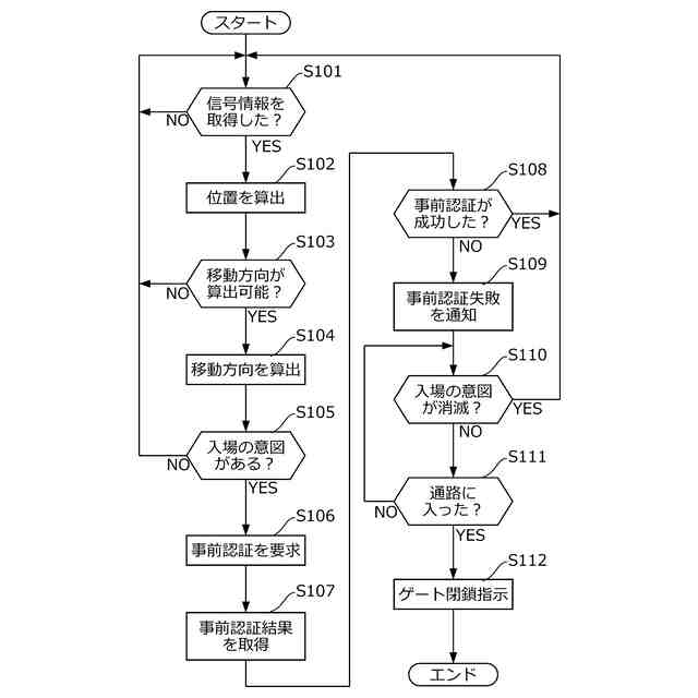
【課題】複数のユーザのうち、所定の空間へ入場する意図が有ると判定されるユーザに限り、入場の可否を通知する。
【解決手段】信号情報取得部111は、信号情報を取得する。位置算出部112は、信号情報に基づいて、信号を発した携帯端末3の位置を算出する。移動方向算出部113は、携帯端末3の移動方向を算出する。意図判定部114は、携帯端末3の位置と移動方向とに基づいて、この携帯端末3を所持するユーザUに、空間Aへ入場する意図が有るか否かを判定する。認証部115は、信号情報に含まれる携帯端末IDに基づいて、ユーザUの認証をサーバ装置4に対して要求し、受け取った回答に基づいて、認証結果を意図判定部114に伝える。通知部116は、ユーザUが空間Aへ入場する意図を有している、と判定された場合に、受け取った回答により示される認証の結果をユーザUに通知する。
【選択図】図7
特許請求の範囲
【請求項1】
端末から信号を継続的に受信する無線機と、
前記信号の情報を取得し、該情報から前記端末の位置及び移動方向を算出して所定の空間へ入場する意図が該端末のユーザに有るか否かを判定する判定装置と、
前記端末のユーザに前記意図が有ると判定された場合に前記信号が示す前記端末の事前認証の結果を該ユーザに通知する通知装置と、
を有する通知システム。
続きを表示(約 420 文字)
【請求項2】
前記通知装置は、前記事前認証が失敗した結果のみを通知する
請求項1に記載の通知システム。
【請求項3】
前記判定装置は、前記移動方向に加えて前記端末の移動速度を算出する
請求項1に記載の通知システム。
【請求項4】
前記無線機は、前記ユーザが移動する平面の上方又は下方に設けられ、
前記判定装置は、前記無線機が前記信号を受信した角度の情報を取得する
請求項1に記載の通知システム。
【請求項5】
前記空間へ入場するための通路に設けられたゲートと、
認証されていないユーザが前記空間に入場する前に前記ゲートを駆動して閉鎖させる駆動装置と、を有し、
前記通知装置は、前記意図が前記端末のユーザに有ると判定され、かつ、前記事前認証が失敗した場合に、前記ゲートが閉鎖される前に前記結果を通知する
請求項1に記載の通知システム。
発明の詳細な説明
【技術分野】
【0001】
本発明は、信号を受信する無線機を制御してその信号を発した端末のユーザに入退場の可否を通知する通知システムに関する。
続きを表示(約 1,400 文字)
【背景技術】
【0002】
ユーザにサービスを提供する空間への入場を対価と引き換えに許可する場合、一般に、その入場口、通路等に自動改札機、セキュリティゲート等の装置が置かれる。これらの装置には通路内に複数人が存在してもそれらを個別に識別可能なものがある。
【0003】
一方、これらの装置は、例えば対価を支払っていないユーザの入場を拒否するために、フラップドア、ゲート等の機械的な入場制限の機構を有することが多い。しかし、入場制限の機構は、入場しようとするユーザ一人ひとりを識別して、それぞれの入場制限を判定しなければならない。そのため、空間へ入場するために並んでいる行列の先頭のユーザが、入場の直前に拒否されると、そのユーザは通路を引き返すことになり、後方に並んでいたユーザも後退が求められることになる。したがって、直前に入場を制限するシステムは、混雑を発生させる上に望ましい処理能力を得られない。
【0004】
そこで、混雑を避けるため、案内機により入場直前ではなく、通路等に差し掛かる前に入場が許可されるか否かをユーザに案内する技術が研究されている。
【0005】
特許文献1は、自動改札機での出場を禁止される恐れがあることをユーザに予め知らせることにより不意に自動改札機に通行禁止をされることを防ぎ、混雑を緩和する案内機、を開示している。この案内機によれば、ユーザは、例えばICカードのみを所持し携帯端末を持っていない場合に、出場前に自動改札機の通行が許可されるか否かを確認できるため、混雑を避けることができる。
【0006】
特許文献2は、通路における利用者の通行可否を通行方向とともに判定するセンタと、このセンタにデータ通信可能に接続され、利用者の通行を制限する通行制御装置とを有する通行制御システム、を開示している。このシステムは、近距離無線通信手段により付近にいる人を検知し、認証の前段階の処理を行うので、認証の遅れにより人の流れが乱れることが抑えられる。
【0007】
特許文献3は、自動改札機の入出場が許可される場合と許可されない場合とで、振動手段を異なる振動パターンで振動させる携帯端末装置、を開示している。この携帯端末装置によれば、通行可否の結果が所有者に分かりやすく伝わるので、人の流れの乱れを抑えることができる。
【先行技術文献】
【特許文献】
【0008】
特開2010-176223号公報
特開2006-268853号公報
特開2006-31112号公報
【発明の概要】
【発明が解決しようとする課題】
【0009】
しかし、特許文献1に記載された案内機は、ユーザが任意に利用するものである。そのため、この案内機の設置目的に協力的なユーザがいなければ、混雑回避の効果を奏し得ない。また、この特許文献1の技術は、多数のユーザに対応するために多数の案内機が必要になる。
【0010】
特許文献2に記載された通行制御システムは、無線の通信可能範囲で検知するため、領域指定が大まかになる。つまり、このシステムは、ユーザそれぞれを入場の意図の有無で区別することができない。そのため、このシステムは、入場の意図がないユーザに対する不要なアクションを発生させることがある。
(【0011】以降は省略されています)
この特許をJ-PlatPat(特許庁公式サイト)で参照する
関連特許
日本信号株式会社
情報読取装置
1日前
日本信号株式会社
通知システム
1日前
日本信号株式会社
車両検知装置
7日前
日本信号株式会社
開閉システム
1か月前
日本信号株式会社
障害物検知装置
16日前
日本信号株式会社
障害物検知装置
16日前
日本信号株式会社
遠隔支援システム
2日前
日本信号株式会社
地上子及び地上子の製造方法
22日前
日本信号株式会社
車番式テナントチェッカ連携システム
9日前
個人
自動販売機
15日前
旭精工株式会社
紙幣処理装置
1日前
株式会社イシダ
商品処理装置
2か月前
株式会社タムラ製作所
自動販売機
1か月前
独立行政法人 国立印刷局
補刷システム
3日前
沖電気工業株式会社
施錠開閉装置
2か月前
沖電気工業株式会社
媒体処理装置
9日前
沖電気工業株式会社
媒体処理装置
9日前
沖電気工業株式会社
媒体処理装置
9日前
沖電気工業株式会社
媒体処理装置
9日前
アサヒ飲料株式会社
遠隔決済方法
1か月前
沖電気工業株式会社
紙幣処理装置
3か月前
沖電気工業株式会社
媒体処理装置
3か月前
株式会社ライト
情報処理装置
1日前
株式会社デンソー
車載器
2か月前
富士電機株式会社
収納搬出装置
1日前
グローリー株式会社
物品投出装置
3か月前
グローリー株式会社
貨幣処理装置
1か月前
日本金銭機械株式会社
硬貨処理装置
2か月前
アサヒ飲料株式会社
自動販売機の決済方法
1か月前
日本金銭機械株式会社
硬貨処理装置
2か月前
株式会社寺岡精工
商品登録システム
1か月前
株式会社知財事業研究所
特殊駐車場システム
24日前
グローリー株式会社
キオスクシステム
1日前
株式会社寺岡精工
販売データ処理装置
1か月前
旭精工株式会社
紙葉類処理装置および紙葉類処理方法
2か月前
沖電気工業株式会社
媒体処理装置
3か月前
続きを見る
他の特許を見る