TOP
|
特許
|
意匠
|
商標
特許ウォッチ
Twitter
他の特許を見る
10個以上の画像は省略されています。
公開番号
2025179838
公報種別
公開特許公報(A)
公開日
2025-12-10
出願番号
2025089267
出願日
2025-05-28
発明の名称
整髪装置
出願人
深せん市小題大作科技有限公司
代理人
TRY国際弁理士法人
主分類
A45D
20/10 20060101AFI20251203BHJP(手持品または旅行用品)
要約
【課題】ユーザに接触する筐体の温度が高くなり過ぎることを防止する。
【解決手段】一実施形態による整髪装置の筐体には、互いに接続されたハンドル部及び作動部が設けられており、筐体は、外殻及び内殻を含み、外殻は、内殻の外周に囲設されている。風吹付通路は、内殻内に位置し、風吹付通路は、風取込口及び風吹付口を有し、風吹付口は、風吹付通路及び風吹付空間に連通し、放熱通路は、外殻と内殻との間に位置し、放熱通路は、放熱入風口及び放熱出風口を有し、放熱入風口は、ハンドル部に位置し且つ風吹付通路に連通し、放熱出風口は、作動部に位置する。駆動部材及び加熱部材は、何れも風吹付通路内に位置し、且つ駆動部材及び加熱部材は、何れもハンドル部に位置する。内殻内の空気は、加熱部材の作動による熱を吸収するため、内殻に熱が蓄積されて昇温するが、放熱通路は、空気を流動させることができ、内殻の熱を持ち去ることができる。
【選択図】 図3
特許請求の範囲
【請求項1】
整髪装置であって、筐体と、風吹付通路及び放熱通路と、駆動部材及び加熱部材とを含み、
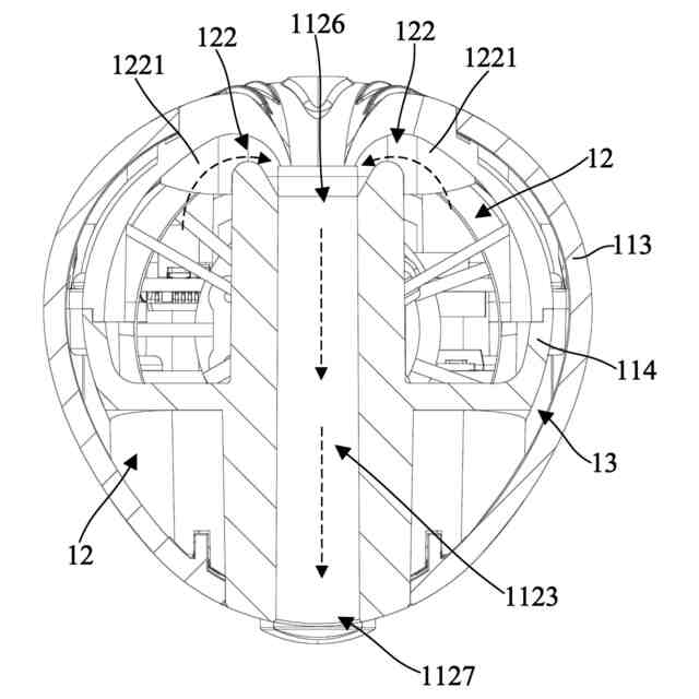
前記筐体には、互いに接続されたハンドル部及び作動部が設けられており、前記作動部は、対向して設けられた第一作動部及び第二作動部を含み、前記第一作動部及び前記第二作動部により風吹付空間が区画形成され、前記筐体は、外殻及び内殻を含み、前記外殻は、前記内殻の外周に囲設されており、
前記風吹付通路は、前記内殻内に位置し、前記風吹付通路は、風取込口及び風吹付口を有し、前記風取込口は、前記ハンドル部に位置し、前記風吹付口は、前記作動部に位置し、前記風吹付口は、前記風吹付通路及び前記風吹付空間に連通し、前記放熱通路は、前記外殻と前記内殻との間に位置し、前記放熱通路は、放熱入風口及び放熱出風口を有し、前記放熱入風口は、前記ハンドル部に位置し且つ前記風吹付通路に連通し、前記放熱出風口は、前記作動部に位置し、
前記駆動部材及び前記加熱部材は、何れも前記風吹付通路内に位置し、前記駆動部材が前記加熱部材に接続され且つ前記駆動部材及び前記加熱部材が何れも前記ハンドル部に位置する、ことを特徴とする整髪装置。
続きを表示(約 1,200 文字)
【請求項2】
前記第一作動部及び前記第二作動部は、何れも前記風吹付口及び前記放熱出風口を有する、ことを特徴とする請求項1に記載の整髪装置。
【請求項3】
前記放熱入風口は、前記内殻に位置し、前記放熱出風口は、前記風吹付空間外の前記外殻に位置する、ことを特徴とする請求項1に記載の整髪装置。
【請求項4】
前記作動部は、頂端及び中端を含み、前記頂端、前記中端及び前記ハンドル部は、順次に前記筐体の長さ方向に沿って分布し、前記中端は、前記作動部における前記長さ方向の2分の1の箇所に位置し、前記放熱出風口は、前記頂端と前記中端との間に位置する、ことを特徴とする請求項1に記載の整髪装置。
【請求項5】
前記第一作動部及び前記第二作動部は何れも、対向する第一側及び第二側を有し、前記第一側及び前記第二側は、何れも外界に連通し、前記風吹付口は、前記第一側に位置し、前記放熱出風口は、前記風吹付口に対して前記第二側に近接して設けられ、前記駆動部材は、前記風吹付通路内の気流を、前記風吹付口を流れて前記第一側から前記第二側に至る方向に沿って流動するように駆動するためのものである、ことを特徴とする請求項1に記載の整髪装置。
【請求項6】
前記風取込口は、前記外殻及び前記内殻に穿設されて風吹付通路に連通し、前記放熱入風口は、前記加熱部材と前記駆動部材との間に位置し、前記駆動部材は、前記放熱入風口と前記風取込口との間に位置する、ことを特徴とする請求項1に記載の整髪装置。
【請求項7】
前記内殻には、第一導流部及び第二導流部が設けられており、前記第一導流部と前記第二導流部とは、前記放熱入風口が形成されるように対向しており、前記第一導流部は、前記ハンドル部から前記作動部の方向に向かって前記風吹付通路外へ傾斜して設けられ、前記第二導流部は、前記作動部から前記ハンドル部の方向に向かって前記風吹付通路内へ傾斜して設けられている、ことを特徴とする請求項1に記載の整髪装置。
【請求項8】
前記筐体は、導風壁を含み、前記導風壁は、前記放熱通路内に位置し、且つ前記放熱入風口と前記放熱出風口との間に位置し、前記導風壁は、前記放熱入風口の気流を前記放熱出風口まで導くように適合されている、ことを特徴とする請求項1に記載の整髪装置。
【請求項9】
前記導風壁は、第一サブ壁及び第二サブ壁を含み、前記筐体は、遮風壁を更に含み、前記遮風壁は、前記第一サブ壁及び前記第二サブ壁に接続され、前記放熱入風口は、前記遮風壁と、前記第一サブ壁と、前記第二サブ壁とによって囲設された空間内に位置する、ことを特徴とする請求項8に記載の整髪装置。
【請求項10】
前記風吹付口内には、複数の導流板が設けられており、複数の前記導流板は、前記筐体の長さ方向に沿って離間して分布している、ことを特徴とする請求項1に記載の整髪装置。
発明の詳細な説明
【技術分野】
【0001】
本願は、整髪用品の技術分野に関し、具体的に、整髪装置に関する。
続きを表示(約 1,200 文字)
【背景技術】
【0002】
整髪装置は、髪の風乾や髪のストレート化等の機能を実現できるが、関連技術の整髪装置の加熱部材が作動する際に発生する熱は、筐体に伝導されるため、ユーザに接触する筐体の温度が高くなり、ユーザの使用体験に影響を与えてしまう。
【発明の概要】
【発明が解決しようとする課題】
【0003】
本発明の実施形態は、上記少なくとも1つの課題を改善するための整髪装置を提案する。
【0004】
本発明の実施形態は、以下の技術態様によって上記目的を実現する。
【課題を解決するための手段】
【0005】
本発明は、整髪装置を提供し、整髪装置は、筐体、風吹付通路、放熱通路、駆動部材及び加熱部材を含み、筐体には、互いに接続されたハンドル部及び作動部が設けられており、作動部は、対向して設けられた第一作動部及び第二作動部を含み、第一作動部及び第二作動部により風吹付空間が区画形成され、筐体は、外殻及び内殻を含み、外殻は、内殻の外周に囲設されている。風吹付通路は、内殻内に位置し、風吹付通路は、風取込口及び風吹付口を有し、風取込口は、ハンドル部に位置し、風吹付口は、作動部に位置し、風吹付口は、風吹付通路及び風吹付空間に連通し、放熱通路は、外殻と内殻との間に位置し、放熱通路は、放熱入風口及び放熱出風口を有し、放熱入風口は、ハンドル部に位置し且つ風吹付通路に連通し、放熱出風口は、作動部に位置する。駆動部材及び加熱部材は、何れも風吹付通路内に位置し、駆動部材が加熱部材内に接続され且つ駆動部材及び加熱部材が何れもハンドル部に位置する。
【0006】
いくつかの実施形態において、第一作動部及び第二作動部は、何れも風吹付口及び放熱出風口を有する。
【0007】
いくつかの実施形態において、放熱入風口は、内殻に位置し、放熱出風口は、風吹付空間外の外殻に位置する。
【0008】
いくつかの実施形態において、作動部は、頂端及び中端を含み、頂端、中端及びハンドル部は、順次に筐体の長さ方向に沿って分布し、中端は、作動部における長さ方向の2分の1の箇所に位置し、放熱出風口は、頂端と中端との間に位置する。
【0009】
いくつかの実施形態において、第一作動部及び第二作動部は何れも、対向する第一側及び第二側を有し、第一側及び第二側は、何れも外界に連通し、風吹付口は、第一側に位置し、放熱出風口は、風吹付口に対して第二側に近接して設けられ、駆動部材は、風吹付通路内の気流を、風吹付口を流れて第一側から第二側に至る方向に沿って流動するように駆動するためのものである。
【0010】
いくつかの実施形態において、風取込口は、外殻及び内殻に穿設されて風吹付通路に連通し、放熱入風口は、加熱部材と駆動部材との間に位置し、駆動部材は、放熱入風口と風取込口との間に位置する。
(【0011】以降は省略されています)
この特許をJ-PlatPat(特許庁公式サイト)で参照する
関連特許
個人
包み箱
3か月前
個人
杖
5か月前
個人
爪やすり
1か月前
個人
傘
8か月前
個人
傘
3か月前
個人
折り畳み傘
5か月前
個人
二重把手袋
8か月前
個人
財布
6か月前
個人
集水可能傘
6日前
個人
シール
7か月前
個人
バッグ
5か月前
個人
眼鏡ホルダー
4か月前
個人
シート状パック
8か月前
個人
美容用具
4か月前
個人
ゲル状のシート
29日前
個人
傘
10か月前
個人
肩ベルトカバー
3か月前
個人
刺抜き具
9か月前
個人
傘の先端キャップ
7か月前
個人
補助持ち手付き傘
6か月前
個人
滑らないヘアピン
10か月前
ベス工業株式会社
整髪具
6か月前
個人
電動爪削り器
11か月前
個人
手提げ袋携帯ホルダー
9か月前
大忠株式会社
バッグ
10か月前
個人
折りたたみ式提げ手。
8か月前
個人
スマートフォンカバー
8か月前
株式会社文殊
巾着袋
4か月前
個人
リュックサック
12か月前
株式会社松風
人工爪組成物
13日前
株式会社バンビ
長財布
9か月前
コクヨ株式会社
バッグ
8か月前
個人
エクステプレート
3か月前
個人
傘巻き取り補助具
2か月前
株式会社イケテイ
袋物
6か月前
株式会社バンビ
長財布
2か月前
続きを見る
他の特許を見る