TOP
|
特許
|
意匠
|
商標
特許ウォッチ
Twitter
他の特許を見る
10個以上の画像は省略されています。
公開番号
2025179020
公報種別
公開特許公報(A)
公開日
2025-12-09
出願番号
2025077300
出願日
2025-05-07
発明の名称
表示パネルの製造装置
出願人
三星ディスプレイ株式會社
,
Samsung Display Co.,Ltd.
代理人
個人
主分類
G09F
9/00 20060101AFI20251202BHJP(教育;暗号方法;表示;広告;シール)
要約
【課題】表示パネルの製造装置において、マイクロLEDにのみ正確にレーザビームを印加可能とし、加圧力の均一度を上昇可能とする。
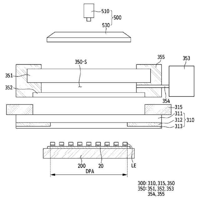
【解決手段】表示パネルの製造装置に関し、一実施形態による表示パネルの製造装置は、表示基板が安着する支え部、レーザビームの透過領域に対応する開口部を定義するマスクおよび、前記マスクを加圧する加圧部材を含む加圧部、前記支え部の前面に配置され、前記マスクを介して前記表示基板にレーザ光を照射するレーザ照射部を含み、前記マスクはレーザ光を透光させるベース層と、前記ベース層上に配置され、前記開口部を含む遮光パターン層を含み得る。
【選択図】図7
特許請求の範囲
【請求項1】
表示基板が安着する支え部;
レーザビームの透過領域に対応する開口部を定義するマスクおよび、前記マスクを加圧する加圧部材を含む加圧部;
前記支え部の前面に配置され、前記マスクを介して前記表示基板にレーザ光を照射するレーザ照射部を含み、
前記マスクはレーザ光を透光させるベース層と、前記ベース層上に配置され、前記開口部を含む遮光パターン層を含む、表示パネルの製造装置。
続きを表示(約 820 文字)
【請求項2】
前記加圧部材は前記マスク上に配置され、互いに厚さ方向に重なる透光部材と弾性部材を含み、前記透光部材と前記弾性部材の間に密閉空間を形成し、前記密閉空間のガス圧を調節するガス圧調整器をさらに含む、請求項1に記載の表示パネルの製造装置。
【請求項3】
前記弾性部材は前記マスク上に配置され、前記密閉空間のガス圧が高くなると前記弾性部材が膨張して前記マスクを加圧する、請求項2に記載の表示パネルの製造装置。
【請求項4】
前記加圧部材は前記ガス圧調整器と前記密閉空間の間に連結されたガス導管をさらに含む、請求項2に記載の表示パネルの製造装置。
【請求項5】
前記マスクはフォトマスクであり、
前記フォトマスクは、
透明または半透明の平面プレート状のベース層;および
前記ベース層に配置され、遮光性を持つ遮光パターンを有する遮光パターン層を含む、請求項1に記載の表示パネルの製造装置。
【請求項6】
前記フォトマスクは前記表示基板と対向するように配置される、請求項5に記載の表示パネルの製造装置。
【請求項7】
前記フォトマスクは前記レーザ照射部と対向するように配置される、請求項5に記載の表示パネルの製造装置。
【請求項8】
前記遮光パターンは前記表示基板の発光素子が配列された表示領域に対応する領域に形成された開口部を含む、請求項5に記載の表示パネルの製造装置。
【請求項9】
前記遮光パターンは前記表示基板に配列された発光素子と対応する領域に形成された開口部を含む、請求項5に記載の表示パネルの製造装置。
【請求項10】
前記マスクの外側の一面に結着されて前記マスクを支持する載置部材を含む、請求項2に記載の表示パネルの製造装置。
(【請求項11】以降は省略されています)
発明の詳細な説明
【技術分野】
【0001】
本発明は表示パネルの製造装置に関する。
続きを表示(約 1,300 文字)
【背景技術】
【0002】
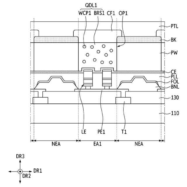
マイクロLED(Micro LED)はバックライトなしで自ら光を出す超小型無機発光物質である。具体的には、マイクロLEDは有機発光ダイオードチップと比較して長さが10分の1、面積は100分の1程度で小さい。一例として、マイクロLEDは横、縦、高さが約10μm~100μmの範囲の超小型LEDを指す。
【0003】
マイクロLEDはエピ工程などによりウェハなどの成長基板上において、多数のチップ形態で成長させて製造することができる。このように製造されたマイクロLEDは、通常中継基板に移送された後、ターゲット基板に転写されることによりディスプレイモジュールが用いられる。
【0004】
マイクロLEDの転写工程は、中継基板の背面(中継基板の前面には複数のマイクロLEDが配列される)にレーザビームを照射して中継基板のマイクロLEDをターゲット基板に転写するレーザ転写方式を用いることができる。
【0005】
しかし、レーザ転写方式は、中継基板の背面に照射されるレーザビームがマイクロLEDの間の領域と中継基板の外側領域にも通過することによって、マイクロLED以外の領域のターゲット基板にも印加されるという問題があった。ターゲット基板にレーザビームが印加されると、ターゲット基板の温度が上昇してターゲット基板がダメージを受けるという問題が生じる。
【先行技術文献】
【特許文献】
【0006】
特許第6691576号明細書
韓国公開特許第2022-0097716号公報
米国特許出願公開第2021-0398938号明細書
【発明の概要】
【発明が解決しようとする課題】
【0007】
本発明が解決しようとする課題は、マイクロLED以外の周辺領域に照射されるレーザビームを反射させてマイクロLEDにのみ正確にレーザビームを印加可能とし、レーザ透光部材の加圧により生成される加圧力の均一度を上昇可能とする表示パネルの製造装置を提供することにある。
【0008】
本発明の課題は以上で言及した課題に制限されず、言及されていないまた他の技術的課題は以下の記載から当業者に明確に理解されるものである。
【課題を解決するための手段】
【0009】
前記課題を解決するための一実施形態による表示パネルの製造装置は、表示基板が安着する支え部、レーザビームの透過領域に対応する開口部を定義するマスクおよび、前記マスクを加圧する加圧部材を含む加圧部、前記支え部の前面に配置され、前記マスクを介して前記表示基板にレーザ光を照射するレーザ照射部を含み、前記マスクはレーザ光を透光させるベース層と、前記ベース層上に配置され、前記開口部を含む遮光パターン層を含む。
【0010】
前記加圧部材は前記マスク上に配置され、互いに厚さ方向に重なる透光部材と弾性部材を含み、前記透光部材と前記弾性部材の間に密閉空間を形成し、前記密閉空間のガス圧を調節するガス圧調整器をさらに含み得る。
(【0011】以降は省略されています)
この特許をJ-PlatPat(特許庁公式サイト)で参照する
関連特許
個人
教育のAI化
1か月前
個人
英語教材
1か月前
日本精機株式会社
表示装置
2か月前
日本精機株式会社
表示装置
1か月前
個人
計算用教具
2か月前
中国電力株式会社
標示旗
2か月前
個人
インフィニティミラー
1か月前
日本精機株式会社
車両用表示装置
1か月前
個人
微細構造を模した理科学習教材
1か月前
個人
モデルで薔薇の花嫁様を描く為
3か月前
日本精機株式会社
車両用センサ装置
2か月前
日榮新化株式会社
対象物質感知シート
1か月前
シャープ株式会社
表示装置
2か月前
ニチレイマグネット株式会社
サイン器具
1か月前
株式会社ウメラボ
学習支援システム
2か月前
株式会社ウメラボ
学習支援システム
2か月前
ニチレイマグネット株式会社
磁着式電飾装置
2か月前
朝日インテック株式会社
ラベルシート
1か月前
日本精機株式会社
表示装置及びその製造方法
1か月前
シャープ株式会社
表示装置
1か月前
株式会社リコー
画像投射システム
2か月前
朝日インテック株式会社
生体モデル装置
1か月前
株式会社イリオスNOTO
シート保管具
1か月前
リンテック株式会社
表示体
2か月前
シチズンファインデバイス株式会社
液晶表示装置
3か月前
学校法人関西医科大学
腹腔鏡手術訓練装置
2か月前
国立大学法人秋田大学
運転シミュレータ
1か月前
ローム株式会社
半導体装置およびシステム
19日前
セイコーエプソン株式会社
表示方法
3か月前
セイコーエプソン株式会社
表示方法
3か月前
リンテック株式会社
粘着ラベル
2か月前
ローム株式会社
暗号化装置
2か月前
TOPPANホールディングス株式会社
ラベル
2か月前
キヤノン株式会社
発光装置
2か月前
ヘラマンタイトン株式会社
シート状部材保持具
20日前
キヤノン株式会社
表示装置
11日前
続きを見る
他の特許を見る