TOP
|
特許
|
意匠
|
商標
特許ウォッチ
Twitter
他の特許を見る
公開番号
2025179018
公報種別
公開特許公報(A)
公開日
2025-12-09
出願番号
2025075796
出願日
2025-04-30
発明の名称
炭化ケイ素結晶の成長管理
出願人
セミコンダクター・コンポーネンツ・インダストリーズ・リミテッド・ライアビリティ・カンパニー
代理人
園田・小林弁理士法人
主分類
C30B
29/36 20060101AFI20251202BHJP(結晶成長)
要約
【課題】炭化ケイ素(SiC)結晶を成長させるための方法、装置及びシステムを提供する。
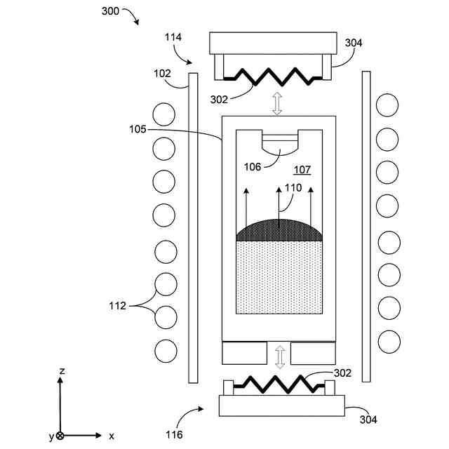
【解決手段】炭化ケイ素(SiC)インゴットを成長させるための物理気相輸送(PVT)装置は、可動加熱器を追加することによって改善することができる。加熱器は、誘導性又は抵抗性のいずれかであり得る。成長段階中の温度勾配を厳密に制御することによって、また、成長段階に続いてin-situアニールを追加することによって、得られるSiC結晶を、より高く、より少ない欠陥を伴うようにすることができ、その後の研削又は研磨操作中に亀裂が入る可能性を低減することができる。
【選択図】図3
特許請求の範囲
【請求項1】
炭化ケイ素(SiC)を形成する方法であって、
SiC前駆体を含むるつぼの上部領域のシードモジュール内にSiCシード結晶を配設することと、
前記るつぼの側面を加熱するための誘導加熱器及び前記るつぼの端部を加熱するための第1の可動加熱器を使用して、前記るつぼを加熱して前記SiC前駆体を昇華させることと、
前記SiCシード結晶の底面にSiCを凝縮させることによって結晶SiCインゴットを成長させることと、
前記第1の可動加熱器及び前記第2の可動加熱器の位置を変更して、前記結晶SiCインゴットの成長速度を調整することと、を含む、方法。
続きを表示(約 1,300 文字)
【請求項2】
前記るつぼを加熱して前記SiC前駆体を昇華させることは、前記SiC前駆体を粉末からガスに変換することを含むか、又は
前記誘導加熱器を使用して前記るつぼを加熱することは、前記るつぼの前記側面に巻き付いた無線周波数(RF)コイルに通電することを含むか、又は
前記第1の可動加熱器を使用して前記るつぼを加熱することは、前記るつぼの前記端部に平行である平面に配設された1つ以上の可動誘導コイルに通電することを含むか、又は
前記第1の可動加熱器を使用して前記るつぼを加熱することは、前記るつぼの前記端部に平行である平面に配設された1つ以上の可動抵抗素子に通電することを含むか、又は
前記るつぼを加熱することは、前記るつぼの温度を約1800℃~約2500℃の範囲内に上昇させるか、又は
前記るつぼを加熱することは、前記るつぼの別の端部を加熱するために第2の可動加熱器を使用する、請求項1に記載の方法。
【請求項3】
装置であって、
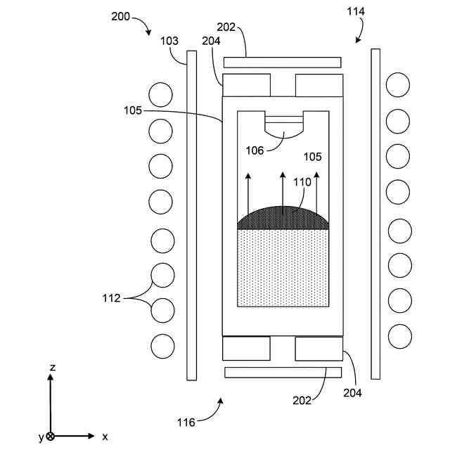
上部領域及び下部領域を有するるつぼと、
前記るつぼの前記下部領域に配設された炭化ケイ素(SiC)前駆体と、
前記るつぼの前記上部領域に配設されたSiCシードと、
前記るつぼの側壁を取り囲む誘導加熱器と、
前記るつぼの上端に配設された第1の可動加熱器と、
前記るつぼの下端に配設された第2の可動加熱器と、を備える、装置。
【請求項4】
前記第1の可動加熱器及び前記第2の可動加熱器は、前記るつぼの垂直軸に沿って移動可能であるか、又は
前記第1の可動加熱器及び前記第2の可動加熱器は誘導加熱素子を含むか、又は
前記第1の可動加熱器及び前記第2の可動加熱器は抵抗加熱素子を含むか、又は
前記抵抗加熱素子は、タングステン、モリブデン、若しくはグラファイトのうちの少なくとも1つを含むか、又は
前記第1の可動加熱器及び前記第2の可動加熱器は、前記るつぼの前記上端及び前記下端から異なる距離に独立して位置付けられ得るか、又は
前記るつぼ内の圧力は、約0.1Torr~約50Torrに維持されるか、又は
前記るつぼは、外側シェルを更に含み、前記第1の可動加熱器及び前記第2の可動加熱器は、前記外側シェルの内側に配設されるか、又は
前記るつぼは、外側シェルを更に含み、前記誘導加熱器は、前記外側シェルの外側に配設される、請求項3に記載の装置。
【請求項5】
システムであって、
SiC結晶インゴットを成長させるためのプロセスチャンバと、
前記プロセスチャンバの側面の周囲に配設された固定加熱器と、
前記プロセスチャンバの第1の端部に配設された第1の可動加熱器と、
前記プロセスチャンバの第2の端部に配設された第2の可動加熱器と、
目標スケジュールに従って、前記第1の可動加熱器の第1の温度及び前記第2の可動加熱器の第2の温度を制御するようにプログラムされたプロセッサと、を備える、システム。
発明の詳細な説明
【技術分野】
【0001】
関連出願の相互参照
本特許出願は、2024年5月13日に出願された「Managing Growth of Silicon Carbide Crystals」と題する米国特許出願第18/661,875号の利益を主張するものであり、その全体が参照により本明細書に組み込まれる。
続きを表示(約 1,400 文字)
【0002】
本明細書は、エレクトロニクス産業で使用される炭化ケイ素(SiC)結晶を成長させるための方法及び装置に関する。より具体的には、本明細書は、物理気相輸送(physical vapor transport、PVT)炉におけるSiC結晶成長の制御に関する。
【背景技術】
【0003】
炭化ケイ素は、集積回路の製造においてシリコンの代替基板材料として使用することができる。SiCベースのマイクロチップ、例えば、金属酸化膜半導体電界効果トランジスタ(SiC metal-oxide-semiconductor field effect transistor(MOSFET))のいくつかの有用な特性としては、重量の低減、低電力消費、及び高温動作を維持する能力が挙げられる。シリコンデバイスが最高約120℃の温度で動作するのに対して、SiCデバイスは、500℃~800℃もの高温で動作することができる。これは、シリコンよりも約3.5倍高い、SiCの高い熱伝導率によるものである。したがって、SiCデバイスは、電気自動車(electric vehicle、EV)、ハイブリッド電気自動車(hybrid electric vehicle、HEV)、ソーラーパネルなど電力用途、及び産業用途に特に適している。SiCデバイスは、DC-DCコンバータ及び車載高速バッテリ充電器など車両部品においてEV生産に導入されている。
【発明の概要】
【0004】
いくつかの態様では、本明細書に記載の技法は、炭化ケイ素(SiC)を形成する方法に関し、本方法は、SiC前駆体を含むるつぼの上部領域のシードモジュール内にSiCシード結晶を配設することと、るつぼの側面を加熱するための誘導加熱器及びるつぼの端部を加熱するための第1の可動加熱器を使用して、るつぼを加熱してSiC前駆体を昇華させることと、SiCシード結晶の底面にSiCを凝縮させることによって結晶SiCインゴットを成長させることと、を含む。
【0005】
いくつかの態様では、本明細書に記載の技法は方法に関し、るつぼを加熱してSiC前駆体を昇華させることは、SiC前駆体を粉末からガスに変換することを含む。
【0006】
いくつかの態様では、本明細書に記載の技法は方法に関し、誘導加熱器を使用してるつぼを加熱することは、るつぼの側面に巻き付いた無線周波数(radio frequency、RF)コイルに通電することを含む。
【0007】
いくつかの態様では、本明細書に記載の技法は方法に関し、第1の可動加熱器を使用してるつぼを加熱することは、るつぼの端部に平行である平面に配設された1つ以上の可動誘導コイルに通電することを含む。
【0008】
いくつかの態様では、本明細書に記載の技法は方法に関し、第1の可動加熱器を使用してるつぼを加熱することは、るつぼの端部に平行である平面に配設された1つ以上の可動抵抗素子に通電することを含む。
【0009】
いくつかの態様では、本明細書に記載の技法は方法に関し、るつぼを加熱することは、るつぼの温度を約1800℃~約2500℃の範囲内に上昇させる。
【0010】
いくつかの態様では、本明細書に記載の技法は方法に関し、るつぼを加熱することは、第2の可動加熱器を使用してるつぼの別の端部を加熱する。
(【0011】以降は省略されています)
この特許をJ-PlatPat(特許庁公式サイト)で参照する
関連特許
SECカーボン株式会社
坩堝
8か月前
株式会社CUSIC
SiC積層体の製造方法
6か月前
SECカーボン株式会社
結晶成長装置
7か月前
住友金属鉱山株式会社
結晶育成装置
3か月前
アムジエン・インコーポレーテツド
SLC30A8発現を阻害するためのRNAiコンストラクト及びその使用方法
1か月前
学校法人 東洋大学
マルチカラー結晶の結晶成長方法
6か月前
株式会社FLOSFIA
構造体および構造体の製造方法
3か月前
株式会社SUMCO
単結晶の製造方法
5か月前
株式会社東芝
ウエーハ及びその製造方法
8か月前
信越化学工業株式会社
炭化金属被覆材料
5か月前
富士電機株式会社
半導体装置及びその製造方法
19日前
コマディール・エス アー
サファイア棒状体の製造方法
6か月前
セイコーエプソン株式会社
人工水晶製造装置
3か月前
信越半導体株式会社
半導体ウェーハの製造方法
1か月前
株式会社C&A
処理装置および方法
6か月前
日本碍子株式会社
AlN単結晶基板及びデバイス
2か月前
株式会社レゾナック
SiCエピタキシャルウェハ
7か月前
住友金属鉱山株式会社
圧電性酸化物単結晶基板の製造方法
6か月前
住友金属鉱山株式会社
酸化物単結晶基板の製造方法
今日
住友金属鉱山株式会社
圧電性酸化物単結晶基板の製造方法
5か月前
信越半導体株式会社
3C-SiC膜の結晶性評価方法
8か月前
住友金属鉱山株式会社
単結晶の育成方法及びその装置
2か月前
住友電気工業株式会社
炭化珪素基板の製造方法
4か月前
住友電気工業株式会社
炭化珪素基板の製造方法
4か月前
住友化学株式会社
窒化物積層体の製造方法および窒化物積層体
4か月前
信越半導体株式会社
3C-SiC単結晶基板の評価方法
4か月前
旭化成株式会社
結晶の製造方法、六方晶系半導体結晶及び素子
7か月前
株式会社SUMCO
単結晶シリコンインゴットの製造方法
5か月前
サイクリスタル ゲーエムベーハー
バルクSiC結晶の製造方法
2か月前
グローバルウェーハズ・ジャパン株式会社
半導体基板の製造方法
6か月前
株式会社Kanazawa Diamond
ダイヤモンド
6か月前
三菱マテリアル電子化成株式会社
シリコンインゴット
1か月前
住友化学株式会社
窒化物結晶基板の製造方法、および窒化物結晶基板
7か月前
住友化学株式会社
窒化物結晶基板、および窒化物結晶基板の製造方法
5か月前
学校法人 名城大学
結晶成長用基板の作製方法
3か月前
信越半導体株式会社
ヘテロエピタキシャルウェーハの製造方法
5か月前
続きを見る
他の特許を見る