TOP
|
特許
|
意匠
|
商標
特許ウォッチ
Twitter
他の特許を見る
10個以上の画像は省略されています。
公開番号
2025178959
公報種別
公開特許公報(A)
公開日
2025-12-09
出願番号
2024085852
出願日
2024-05-27
発明の名称
マッサージ機
出願人
ファミリーイナダ株式会社
代理人
主分類
A61H
7/00 20060101AFI20251202BHJP(医学または獣医学;衛生学)
要約
【課題】使用者がより好適な揺すり動作を体感することができるマッサージ機を提供することを目的とする。
【解決手段】マッサージ機は、本体部22と、臀部を支持する着座部200と、着座部200に対して固定され、着座部200を本体部22に対して移動可能に支持する移動部材21と、移動部材21を往復動させる駆動部222と、制御部9と、を備え、移動部材21は、本体部22に対して往復動が自在に支持されており、着座部200の着座面201には、使用者を押し上げる押上部202が少なくとも左右に設けられ、制御部9は、駆動部222で着座部200を往復動させる往復動作と、押上部202を左右独立に押し上げる押上動作を連動させるよう制御する。
【選択図】図5
特許請求の範囲
【請求項1】
本体部と、
臀部を支持する着座部と、
前記着座部に対して固定され、前記着座部を前記本体部に対して移動可能に支持する移動部材と、
前記移動部材を往復動させる駆動部と、
制御部と、を備え、
前記移動部材は、前記本体部に対して往復動が自在に支持されており、
前記着座部の着座面には、使用者を押し上げる押上部が少なくとも左右に設けられ、
前記制御部は、
前記駆動部で前記着座部を往復動させる往復動作と、前記押上部を左右独立に押し上げる押上動作を連動させるよう制御するマッサージ機。
続きを表示(約 930 文字)
【請求項2】
前記押上部はエアセルからなり、前記エアセルの膨張により使用者を押し上げる請求項1に記載のマッサージ機。
【請求項3】
前記駆動部は、複数のエアセルからなり、
前記移動部材は、前記複数のエアセルと当接する当接部を有し、
前記複数のエアセルは、前記当接部を挟むように一対に設けられ、
前記移動部材の往復動は、一対の前記複数のエアセルの膨張収縮により、前記当接部を前記本体部に対して移動させることにより行われる請求項1に記載のマッサージ機。
【請求項4】
前記複数のエアセルは、少なくとも前記当接部を左右方向に挟むように一対に設けられている請求項3に記載のマッサージ機。
【請求項5】
前記制御部は、前記駆動部の前記エアセルに出力する単位時間あたりの空気の給気流量を変更することが可能であり、
前記着座部の往動及び/又は復動において、前記給気流量の時間変化を表す曲線は、上に凸の形状となるように前記給気流量を制御する請求項3に記載のマッサージ機。
【請求項6】
前記制御部は、前記往復動が、スペクトル密度が周波数に反比例するゆらぎとなるよう前記駆動部を制御することを含む請求項1に記載のマッサージ機。
【請求項7】
前記制御部は、前記押上部による押上動作が、スペクトル密度が周波数に反比例するゆらぎとなるよう制御することを含む請求項1に記載のマッサージ機。
【請求項8】
前記制御部は、前記複数のエアセルの左右方向における一方側の膨張と、前記押上部の左右方向における他方側の押上動作とを連動して行う請求項4に記載のマッサージ機。
【請求項9】
前記制御部は、前記駆動部の前記エアセルに出力する単位時間あたりの空気の給気流量を変更することが可能であり、
前記着座部の往動及び/又は復動において、前記給気流量の時間変化を表す曲線は、上に凸の形状となるように前記給気流量を制御し、
前記曲線の傾きが負である区間において、前記押上動作を実行するよう制御する請求項8に記載のマッサージ機。
発明の詳細な説明
【技術分野】
【0001】
本開示は、マッサージ機に関する。
続きを表示(約 1,800 文字)
【背景技術】
【0002】
本願出願人による特開2008-22892号公報(以下、特許文献1)は、エアセルなどを利用して座本体を揺動させる技術を公開している。
【先行技術文献】
【特許文献】
【0003】
特開2008-22892号公報
【発明の概要】
【0004】
マッサージ機においては、使用者をリラックスさせるために、特殊な動きをさせたいという要望がある。例えば、1/fゆらぎと呼ばれる、スペクトル密度が周波数に反比例するゆらぎとなる動作など、使用者をリラックスさせる動きをさせたいという要望がある。
【0005】
この点、特許文献1では、エアセルを切り替えて往復動作を行う際に、左右の揺れの方向が切り替わるタイミングで、慣性により身体に衝撃が与えられるという問題がある。この衝撃によって、1/fゆらぎのような使用者をリラックスさせる動きを行っても、衝撃によってリラックスが妨げられる可能性がある。そこで、本開示では、使用者がより好適な揺すり動作を体感することができるマッサージ機を提供することを目的とする。
【0006】
ある実施の形態に従うと、マッサージ機は、本体部と、臀部を支持する着座部と、着座部に対して固定され、着座部を本体部に対して移動可能に支持する移動部材と、移動部材を往復動させる駆動部と、制御部と、を備え、移動部材は、本体部に対して往復動が自在に支持されており、着座部の着座面には、使用者を押し上げる押上部が少なくとも左右に設けられ、制御部は、駆動部で着座部を往復動させる往復動作と、押上部を左右独立に押し上げる押上動作を連動させるよう制御する。
【0007】
更なる詳細は、後述の実施形態として説明される。
【図面の簡単な説明】
【0008】
本発明の一実施形態に係るマッサージ機の正面斜視図である。
本発明の一実施形態に係るマッサージ機の模式図である。
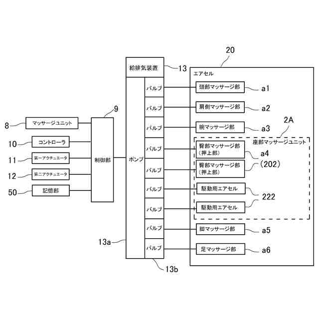
マッサージ機の機能ブロック図である。
マッサージ機の姿勢を説明する側面図である。
座部マッサージユニットの正面斜視図である。
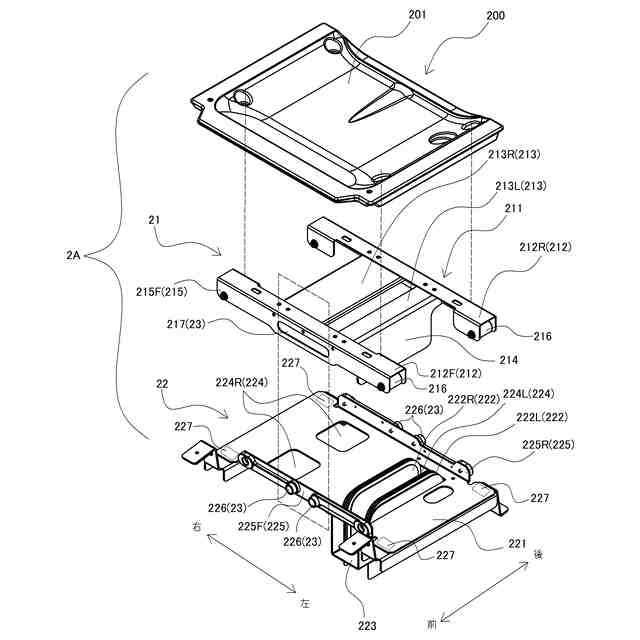
座部マッサージユニットの分解正面斜視図である。
(a)は移動部材の平面図であり、(b)は移動部材の正面図である。
(a)は本体部の平面図であり、(b)は本体部の正面図である。
マッサージ機の座部に使用者が着座した状態を示す正面図である。
座部マッサージユニットの揺すり動作と押上部材の押上動作を組み合わせた状態の正面図であり、(a)は着座部を右に移動させる動作を示す図であり、(b)は着座部を左に移動させる動作を示す図である。
着座部を移動させている時のエアセルへの単位時間あたりの空気の給気流量を示したグラフであり、(a)は駆動用エアセル222への空気の給気流量のグラフであり、(b)は押上部202への空気の給気流量のグラフである。
時間T3、T4における駆動用エアセル222への単位時間あたりの空気の給気流量を示したグラフである。
座部マッサージユニットの揺すり動作によって着座部を左右に複数回移動させた場合の回数と停止位置Pの一例を表した図である。
マッサージコース中において、座部マッサージユニットの揺すり動作によって着座部が左右の最大位置で停止しない確率の一例を表した図である。
本発明の他の実施形態に係る座部マッサージユニットの側面図である。
【発明を実施するための形態】
【0009】
<1.マッサージ機の概要>
【0010】
(1)実施の形態に係るマッサージ機は、マッサージ機は、本体部と、臀部を支持する着座部と、着座部に対して固定され、着座部を本体部に対して移動可能に支持する移動部材と、移動部材を往復動させる駆動部と、制御部と、を備え、移動部材は、本体部に対して往復動が自在に支持されており、着座部の着座面には、使用者を押し上げる押上部が少なくとも左右に設けられ、制御部は、駆動部で着座部を往復動させる往復動作と、押上部を左右独立に押し上げる押上動作を連動させるよう制御する。
(【0011】以降は省略されています)
この特許をJ-PlatPat(特許庁公式サイト)で参照する
関連特許
個人
貼付剤
1か月前
個人
簡易担架
25日前
個人
健康器具
9か月前
個人
短下肢装具
4か月前
個人
腋臭防止剤
25日前
個人
鼾防止用具
9か月前
個人
足踏み器具
1か月前
個人
脈波測定方法
9か月前
個人
洗井間専家。
8か月前
個人
嚥下鍛錬装置
5か月前
個人
導電香
10か月前
個人
排尿補助器具
1か月前
個人
マッサージ機
10か月前
個人
脈波測定方法
9か月前
個人
前腕誘導装置
4か月前
個人
白内障治療法
9か月前
個人
テスト肺
6日前
個人
ウォート指圧法
1か月前
個人
バッグ式オムツ
5か月前
個人
アイマスク装置
3か月前
個人
ホバーアイロン
8か月前
個人
胸骨圧迫補助具
3か月前
個人
矯正椅子
6か月前
個人
水分吸収性物品
4日前
個人
歯の修復用材料
5か月前
個人
腰ベルト
1か月前
個人
汚れ防止シート
2か月前
個人
哺乳瓶冷まし容器
4か月前
個人
美容セット
1か月前
個人
車椅子持ち上げ器
9か月前
三生医薬株式会社
錠剤
8か月前
個人
口内洗浄具
9か月前
個人
排尿排便補助器具
27日前
個人
シャンプー
7か月前
個人
介護移乗アシスト
4日前
個人
歯の保護用シール
6か月前
続きを見る
他の特許を見る