TOP
|
特許
|
意匠
|
商標
特許ウォッチ
Twitter
他の特許を見る
10個以上の画像は省略されています。
公開番号
2025178900
公報種別
公開特許公報(A)
公開日
2025-12-09
出願番号
2024085770
出願日
2024-05-27
発明の名称
システム、サーバー、画像形成装置及びログイン方法
出願人
シャープ株式会社
代理人
個人
,
個人
,
個人
,
個人
主分類
G06F
15/00 20060101AFI20251202BHJP(計算;計数)
要約
【課題】例えば、ネットワークの状態に応じて、システムにおいて適切に処理ができることを示す情報を画像形成装置等において出力可能なシステム等を提供する。
【解決手段】本開示のシステムは、サーバーと、複数の画像形成装置と、サービスにおいて利用されるデータセンターと含むシステムにおいて、一の画像形成装置から、前記サービスを起動する要求があったときに、前記データセンターと他の画像形成装置との間で確立されているセッション数が第1の閾値未満のときは前記サービスにログインする画面を前記一の画像形成装置に表示し、前記データセンターと前記他の画像形成装置との間で確立されているセッション数が第1の閾値以上のときは、サービスの実行を待機する画面を前記一の画像形成装置に表示する。
【選択図】図9
特許請求の範囲
【請求項1】
サーバーと、複数の画像形成装置と、サービスにおいて利用されるデータセンターと含むシステムにおいて、
一の画像形成装置から、前記サービスを起動する要求があったときに、
前記データセンターと他の画像形成装置との間で確立されているセッション数が第1の閾値未満のときは前記サービスにログインする画面を前記一の画像形成装置に表示し、
前記データセンターと前記他の画像形成装置との間で確立されているセッション数が第1の閾値以上のときは、サービスの実行を待機する画面を前記一の画像形成装置に表示する
システム。
続きを表示(約 2,000 文字)
【請求項2】
前記サーバーは、
前記一の画像形成装置から前記サービスを起動時にセッションを作成する要求を受信し、
前記データセンターと前記他の画像形成装置との間で確立されているセッション数が第1の閾値未満のときは、前記データセンターに前記一の画像形成装置のセッションを登録し、
前記データセンターと前記他の画像形成装置との間で確立されているセッション数が第1の閾値以上のときは、前記データセンターに前記一の画像形成装置のセッションについて順番情報付きのセッションを登録する
請求項1に記載のシステム。
【請求項3】
前記サーバーは、前記データセンターに前記順番情報付きのセッションが登録されたときは、順番に関する情報を前記データセンターから受信し、
前記画像形成装置は、前記サーバーから順番に関する情報を取得し、前記サービスの実行を待機する画面に、前記順番に関する情報を含めて表示する
請求項2に記載のシステム。
【請求項4】
前記画像形成装置は、前記順番に関する情報として、前記データセンターにセッションが登録されるまでの順番を前記サービスの実行を待機する画面に表示する
請求項3に記載のシステム。
【請求項5】
前記サーバーは、前記一の画像形成装置からの要求に基づいて、前記順番に関する情報を前記データセンターから取得する
請求項3に記載のシステム。
【請求項6】
前記順番に関する情報は、前記データセンターに順番待ちとして登録されている前記画像形成装置の数を含んでおり、
前記サーバーは、
前記データセンターと前記他の画像形成装置との間で確立されているセッション数と、前記データセンターに順番待ちとして登録されている前記画像形成装置の数との合計が、第1の閾値より大きい第2の閾値以上のときは、前記一の画像形成装置に、前記サービスを利用できない旨の表示画面を表示する
請求項3に記載のシステム。
【請求項7】
複数の画像形成装置と、サービスにおいて利用されるデータセンターとがネットワークを介して通信可能なシステムにおけるサーバーであって、
制御部と、表示制御部とを備え、
前記制御部は、
前記一の画像形成装置から前記サービスを起動時にセッション登録要求を受信し、
前記データセンターと前記他の画像形成装置との間で確立されているセッション数が第1の閾値未満のときは、前記データセンターに前記一の画像形成装置のセッションを登録し、
前記データセンターと前記他の画像形成装置との間で確立されているセッション数が第1の閾値以上のときは、前記データセンターに前記一の画像形成装置のセッションについて順番情報付きのセッションを登録し、
前記表示制御部は、
前記データセンターと他の画像形成装置との間で確立されているセッション数が第1の閾値未満のときは、前記サービスにログインする画面を前記一の画像形成装置に表示する制御を行い、
前記データセンターと前記他の画像形成装置とので確立されているセッション数が第1の閾値以上のときは、サービスの実行を待機する画面を前記一の画像形成装置に表示する制御を行う
サーバー。
【請求項8】
サービスにおいて利用されるデータセンターと通信可能なサーバーと通信をする通信部と、
制御部と、表示部と、を備え、
前記制御部は、
前記サービスを起動するときに、前記通信部を介して、前記サーバーに対して、前記データセンターへのセッションを作成する要求を送信し、
前記データセンターと他の画像形成装置との間で確立されているセッション数が第1の閾値未満のときは前記サービスにログインする画面を前記表示部に表示し、
前記データセンターと前記他の画像形成装置との間で確立されているセッション数が第1の閾値以上のときは、サービスの実行を待機する画面を前記表示部に表示する
画像形成装置。
【請求項9】
サーバーと、複数の画像形成装置と、サービスにおいて利用されるデータセンターと含むシステムのログイン方法において、
一の画像形成装置から、前記サービスを起動する要求があったときに、
前記データセンターと他の画像形成装置との間で確立されているセッション数が第1の閾値未満のときは前記サービスにログインする画面を前記一の画像形成装置に表示するステップと、
前記データセンターと前記他の画像形成装置との間で確立されているセッション数が第1の閾値以上のときは、サービスの実行を待機する画面を前記一の画像形成装置に表示するステップと
を含むログイン方法。
発明の詳細な説明
【技術分野】
【0001】
本開示は、システム等に関する。
続きを表示(約 2,500 文字)
【背景技術】
【0002】
例えば、特許文献1に示すように、サーバー装置が画像処理の上限を超えないように、許可する処理量である予約量を決定し応答する発明が開示されている。
【先行技術文献】
【特許文献】
【0003】
特開2014-6775号公報
【発明の概要】
【発明が解決しようとする課題】
【0004】
本開示は、例えば、ネットワークの状態に応じて、システムにおいて適切に処理ができることを示す情報を画像形成装置等において出力可能なシステム等を提供することを目的の一つとする。
【課題を解決するための手段】
【0005】
本開示のシステムは、サーバーと、複数の画像形成装置と、サービスにおいて利用されるデータセンターと含むシステムにおいて、一の画像形成装置から、前記サービスを起動する要求があったときに、前記データセンターと他の画像形成装置との間で確立されているセッション数が第1の閾値未満のときは前記サービスにログインする画面を前記一の画像形成装置に表示し、前記データセンターと前記他の画像形成装置との間で確立されているセッション数が第1の閾値以上のときは、サービスの実行を待機する画面を前記一の画像形成装置に表示する。
【0006】
本開示のサーバーは、複数の画像形成装置と、サービスにおいて利用されるデータセンターとがネットワークを介して通信可能なシステムにおけるサーバーであって、制御部と、表示制御部とを備え、前記制御部は、前記一の画像形成装置から前記サービスを起動時にセッション登録要求を受信し、前記データセンターと前記他の画像形成装置との間で確立されているセッション数が第1の閾値未満のときは、前記データセンターに前記一の画像形成装置のセッションを登録し、前記データセンターと前記他の画像形成装置との間で確立されているセッション数が第1の閾値以上のときは、前記データセンターに前記一の画像形成装置のセッションについて順番情報付きのセッションを登録し、前記表示制御部は、前記データセンターと他の画像形成装置との間で確立されているセッション数が第1の閾値未満のときは、前記サービスにログインする画面を前記一の画像形成装置に表示する制御を行い、前記データセンターと前記他の画像形成装置とので確立されているセッション数が第1の閾値以上のときは、サービスの実行を待機する画面を前記一の画像形成装置に表示する制御を行う。
【0007】
本開示の画像形成装置は、サービスにおいて利用されるデータセンターと通信可能なサーバーと通信をする通信部と、制御部と、表示部と、を備え、前記制御部は、前記サービスを起動するときに、前記通信部を介して、前記サーバーに対して、前記データセンターへのセッションを作成する要求を送信し、前記データセンターと他の画像形成装置との間で確立されているセッション数が第1の閾値未満のときは前記サービスにログインする画面を前記表示部に表示し、前記データセンターと前記他の画像形成装置との間で確立されているセッション数が第1の閾値以上のときは、サービスの実行を待機する画面を前記表示部に表示する。
【0008】
サーバーと、複数の画像形成装置と、サービスにおいて利用されるデータセンターと含むシステムのログイン方法において、一の画像形成装置から、前記サービスを起動する要求があったときに、前記データセンターと他の画像形成装置との間で確立されているセッション数が第1の閾値未満のときは前記サービスにログインする画面を前記一の画像形成装置に表示するステップと、前記データセンターと前記他の画像形成装置との間で確立されているセッション数が第1の閾値以上のときは、サービスの実行を待機する画面を前記一の画像形成装置に表示するステップとを含む。
【発明の効果】
【0009】
本開示は、例えば、ネットワークの状態に応じて、システムにおいて適切に処理ができることを示す情報を画像形成装置等において出力可能なシステム等を提供することを目的の一つとする。
【図面の簡単な説明】
【0010】
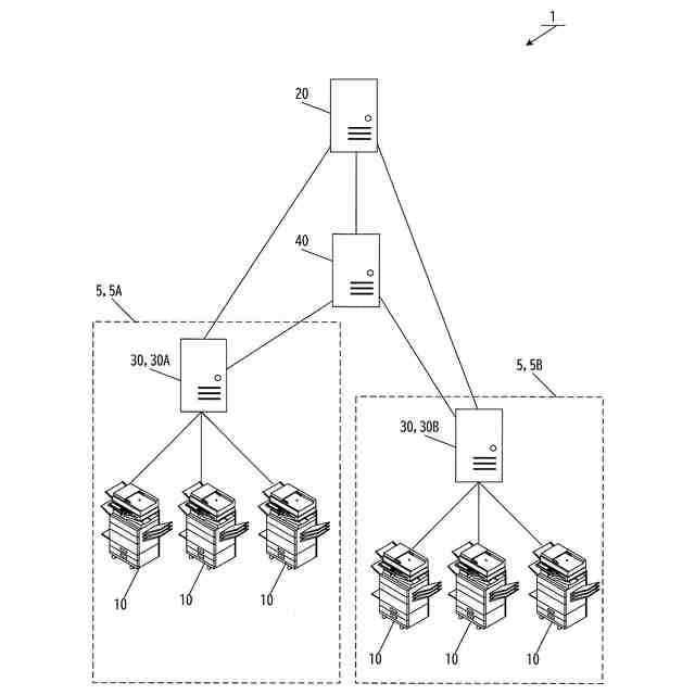
第1実施形態における画像形成装置の全体を説明するための図である。
第1実施形態における画像形成装置のハードウェアの構成を説明する図である。
第1実施形態におけるサーバー装置のハードウェアの構成を説明する図である。
第1実施形態におけるソフトウェアの構成を説明する図である。
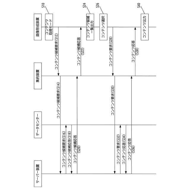
第1実施形態における処理の流れを説明する図である。
第1実施形態における通信経路を説明する図である。
第1実施形態における処理の流れを説明する図である。
第1実施形態における処理の流れを説明する図である。
第1実施形態における処理の流れを説明する図である。
第1実施形態における処理の流れを説明する図である。
第1実施形態における処理の流れを説明する図である。
第1実施形態における動作例(表示画面例)を説明する図である。
第1実施形態における動作例(表示画面例)を説明する図である。
第1実施形態における動作例(表示画面例)を説明する図である。
第1実施形態における動作例(表示画面例)を説明する図である。
第1実施形態における動作例(表示画面例)を説明する図である。
第2実施形態における処理の流れを説明する図である。
第2実施形態における動作例(表示画面例)を説明する図である。
第2実施形態における動作例(表示画面例)を説明する図である。
第3実施形態におけるソフトウェアの構成を説明する図である。
第3実施形態における処理の流れを説明する図である。
第4実施形態における処理の流れを説明する図である。
第5実施形態における処理の流れを説明する図である。
【発明を実施するための形態】
(【0011】以降は省略されています)
この特許をJ-PlatPat(特許庁公式サイト)で参照する
関連特許
シャープ株式会社
照明管
6日前
シャープ株式会社
冷蔵庫
今日
シャープ株式会社
洗濯機
2日前
シャープ株式会社
表示装置
1か月前
シャープ株式会社
端末装置
1日前
シャープ株式会社
照明装置
6日前
シャープ株式会社
制御装置
6日前
シャープ株式会社
照明装置
6日前
シャープ株式会社
表示装置
今日
シャープ株式会社
照明装置
13日前
シャープ株式会社
加熱調理機
13日前
シャープ株式会社
加熱調理器
21日前
シャープ株式会社
捺染トナー
6日前
シャープ株式会社
空気調和機
21日前
シャープ株式会社
空気調和機
21日前
シャープ株式会社
空気調和機
21日前
シャープ株式会社
画像形成装置
29日前
シャープ株式会社
画像形成装置
15日前
シャープ株式会社
リモコン装置
今日
シャープ株式会社
塵埃回収装置
8日前
シャープ株式会社
緩衝材および梱包体
8日前
シャープ株式会社
端末装置および通信方法
21日前
シャープ株式会社
表示装置、および表示方法
6日前
シャープ株式会社
通信端末および水道メータ
15日前
シャープ株式会社
処理装置及び表示制御方法
今日
シャープ株式会社
風向変更板、及び空気調和機
22日前
シャープ株式会社
定着装置および画像形成装置
14日前
シャープ株式会社
端末装置、および、基地局装置
1日前
シャープ株式会社
画像処理装置及び表示制御方法
1か月前
シャープ株式会社
制御装置、及び、装置制御方法
13日前
シャープ株式会社
端末装置、および、基地局装置
22日前
シャープ株式会社
端末装置、および、基地局装置
22日前
シャープ株式会社
情報処理装置及び情報処理方法
今日
シャープ株式会社
表示制御装置及び表示制御方法
22日前
シャープ株式会社
濃度検出方法および画像形成装置
6日前
シャープ株式会社
画像形成装置および画像形成方法
今日
続きを見る
他の特許を見る