TOP
|
特許
|
意匠
|
商標
特許ウォッチ
Twitter
他の特許を見る
10個以上の画像は省略されています。
公開番号
2025178378
公報種別
公開特許公報(A)
公開日
2025-12-05
出願番号
2025161188,2024139697
出願日
2025-09-29,2014-11-25
発明の名称
表示装置
出願人
株式会社半導体エネルギー研究所
代理人
主分類
G09F
9/30 20060101AFI20251128BHJP(教育;暗号方法;表示;広告;シール)
要約
【課題】操作性に優れた新規なヒューマンインターフェイスを提供できる。または、操作
性に優れた新規な情報処理装置を提供できる。または、新規な情報処理装置や新規な表示
装置などを提供できる。
【解決手段】画像情報を供給され検知情報を供給する入出力装置と、画像情報を供給し検
知情報を供給される演算装置を有する。入出力装置は、表示情報を表示する複数の表示部
および一の表示部の表示を遮るものを検知する検知部を備え、一の表示部および検知部が
配置される一の領域、他の表示部が配置される他の領域並びに一の領域と他の領域の間に
挟まれる屈曲部を備える。また、演算装置は演算部と、演算部に実行させるプログラムを
記憶する記憶部と、を有する構成に想到した。
【選択図】図5
特許請求の範囲
【請求項1】
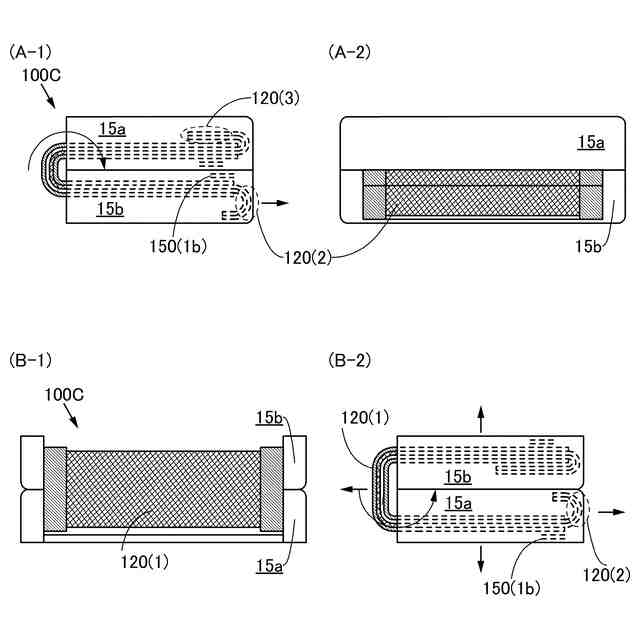
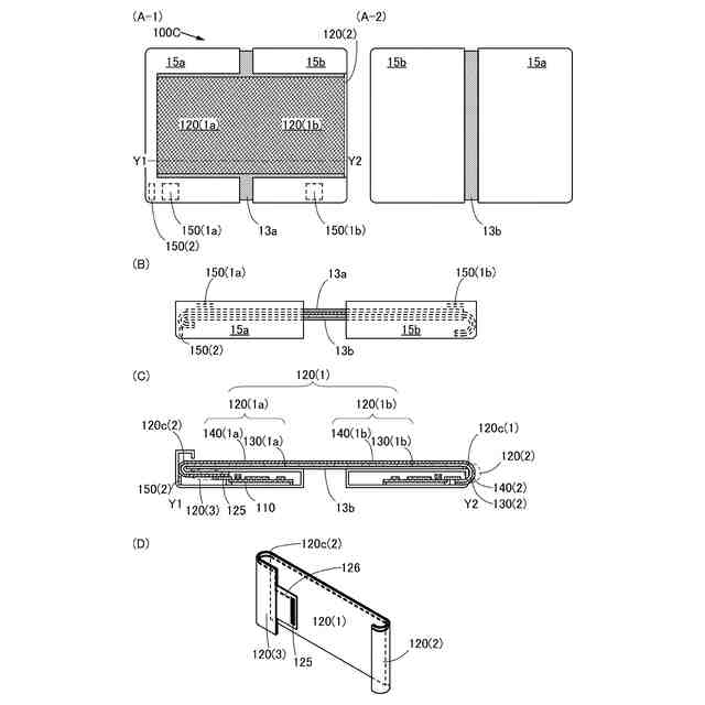
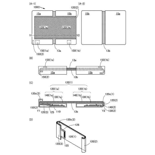
第1の表示領域と、第2の表示領域と、前記第1の表示領域及び前記第2の表示領域の間に位置し、且つ表示面を内側にして折り曲げが可能な第3の表示領域と、を有する表示パネルを備えた表示装置であって、
前記表示パネルの裏面側に配置され、且つ前記第1の表示領域との重なりを有する第1の部材と、
前記表示パネルの裏面側に配置され、且つ前記第2の表示領域との重なりを有する第2の部材と、
前記表示パネルの裏面側に配置され、且つ前記第1の表示領域との重なりと、前記第2の表示領域との重なりと、前記第3の表示領域との重なりと、を有する第3の部材と、を有し、
前記第3の部材は、前記第3の表示領域とともに折り曲げが可能であり、
前記第3の部材は、前記第1の部材と前記表示パネルの間に位置する部分と、前記第2の部材と前記表示パネルの間に位置する部分と、を有し、
前記表示パネルは、端子領域を有し、
前記端子領域は、前記第3の部材の前記表示パネルとは反対側に配置され、
前記端子領域と、前記第3の部材との間に、前記第1の部材の少なくとも一部が配置される、表示装置。
続きを表示(約 1,900 文字)
【請求項2】
第1の表示領域と、第2の表示領域と、前記第1の表示領域及び前記第2の表示領域の間に位置し、且つ表示面を内側にして折り曲げが可能な第3の表示領域と、を有する表示パネルを備えた表示装置であって、
前記表示パネルの裏面側に配置され、且つ前記第1の表示領域との重なりを有する第1の部材と、
前記表示パネルの裏面側に配置され、且つ前記第2の表示領域との重なりを有する第2の部材と、
前記表示パネルの裏面側に配置され、且つ前記第1の表示領域との重なりと、前記第2の表示領域との重なりと、前記第3の表示領域との重なりと、を有する第3の部材と、を有し、
前記第3の部材は、前記第3の表示領域とともに折り曲げが可能であり、
前記第3の部材は、前記第1の部材と前記表示パネルの間に位置する部分と、前記第2の部材と前記表示パネルの間に位置する部分と、を有し、
前記表示パネルは、端子領域と、屈曲部と、を有し、
前記端子領域と前記第1の表示領域とは、前記屈曲部を介して繋がっており、
前記端子領域は、前記第3の部材の前記表示パネルとは反対側に配置され、
前記端子領域と、前記第3の部材との間に、前記第1の部材の少なくとも一部が配置される、表示装置。
【請求項3】
第1の表示領域と、第2の表示領域と、前記第1の表示領域及び前記第2の表示領域の間に位置し、且つ表示面を内側にして折り曲げが可能な第3の表示領域と、を有する表示パネルを備えた表示装置であって、
前記表示パネルの裏面側に配置され、且つ前記第1の表示領域との重なりを有する第1の部材と、
前記表示パネルの裏面側に配置され、且つ前記第2の表示領域との重なりを有する第2の部材と、
前記表示パネルの裏面側に配置され、且つ前記第1の表示領域との重なりと、前記第2の表示領域との重なりと、前記第3の表示領域との重なりと、を有する第3の部材と、を有し、
前記第3の部材は、前記第3の表示領域とともに折り曲げが可能であり、
前記第3の部材は、前記第1の部材と前記表示パネルの間に位置する部分と、前記第2の部材と前記表示パネルの間に位置する部分と、を有し、
前記表示パネルは、端子領域と、屈曲部と、を有し、
前記端子領域と前記第1の表示領域とは、前記屈曲部を介して繋がっており、
前記屈曲部は、前記第3の部材と重ならない部分を有し、
前記端子領域は、前記第3の部材の前記表示パネルとは反対側に配置され、
前記端子領域と、前記第3の部材との間に、前記第1の部材の少なくとも一部が配置される、表示装置。
【請求項4】
第1の表示領域と、第2の表示領域と、前記第1の表示領域及び前記第2の表示領域の間に位置し、且つ表示面を内側にして折り曲げが可能な第3の表示領域と、を有する表示パネルを備えた表示装置であって、
前記表示パネルの裏面側に配置され、且つ前記第1の表示領域との重なりを有する第1の部材と、
前記表示パネルの裏面側に配置され、且つ前記第2の表示領域との重なりを有する第2の部材と、
前記表示パネルの裏面側に配置され、且つ前記第1の表示領域との重なりと、前記第2の表示領域との重なりと、前記第3の表示領域との重なりと、を有する第3の部材と、を有し、
前記第3の部材は、前記第3の表示領域とともに折り曲げが可能であり、
前記第3の部材は、前記第1の部材と前記表示パネルの間に位置する部分と、前記第2の部材と前記表示パネルの間に位置する部分と、を有し、
前記表示パネルは、端子領域と、屈曲部と、を有し、
前記端子領域と前記第1の表示領域とは、前記屈曲部を介して繋がっており、
前記屈曲部は、前記第3の部材と重ならない部分を有し、
前記端子領域は、前記第3の部材の前記表示パネルとは反対側に配置される、表示装置。
【請求項5】
前記端子領域は、前記第1の表示領域との重なりを有する、
請求項1乃至4のいずれか一に記載の表示装置。
【請求項6】
前記表示パネルは、有機ELパネルである、
請求項1乃至5のいずれか一に記載の表示装置。
【請求項7】
前記表示パネルは、前記端子領域と、前記第1の表示領域との間に、配線領域を備える、
請求項1乃至6のいずれか一に記載の表示装置。
発明の詳細な説明
【技術分野】
【0001】
本発明の一態様は、画像情報の処理および表示方法、プログラムおよびプログラムが記録
された記録媒体を有する装置に関する。特に、本発明の一態様は、表示部を備える情報処
理装置に処理された情報を含む画像を表示する画像情報の処理、表示方法および表示部を
備える情報処理装置に処理された情報を含む画像を表示させるプログラム並びに当該プロ
グラムが記録された記録媒体を有する情報処理装置に関する。
続きを表示(約 1,300 文字)
【0002】
なお、本発明の一態様は、上記の技術分野に限定されない。本明細書等で開示する発明の
一態様の技術分野は、物、方法、または、製造方法に関するものである。または、本発明
の一態様は、プロセス、マシン、マニュファクチャ、または、組成物(コンポジション・
オブ・マター)に関するものである。そのため、より具体的に本明細書で開示する本発明
の一態様の技術分野としては、半導体装置、表示装置、発光装置、蓄電装置、記憶装置、
それらの駆動方法、または、それらの製造方法、を一例として挙げることができる。
【背景技術】
【0003】
また、情報伝達手段に係る社会基盤が充実されている。これにより、多様で潤沢な情報を
職場や自宅だけでなく外出先でも情報処理装置を用いて取得、加工または発信できるよう
になっている。
【0004】
このような背景において、携帯可能な情報処理装置が盛んに開発されている。
【0005】
例えば、携帯可能な情報処理装置は持ち歩いて使用されることが多く、落下により思わぬ
力が情報処理装置およびそれに用いられる表示装置に加わることがある。破壊されにくい
表示装置の一例として、発光層を分離する構造体と第2の電極層との密着性が高められた
構成が知られている(特許文献1)。
【0006】
例えば、筐体の正面及び長手方向の上部に表示装置が配置されていることを特徴とする携
帯電話機が知られている(特許文献2)。
【先行技術文献】
【特許文献】
【0007】
特開2012-190794号公報
特開2010-153813号公報
【発明の概要】
【発明が解決しようとする課題】
【0008】
本発明の一態様は、操作性に優れた新規なヒューマンインターフェイスを提供することを
課題の一とする。または、操作性に優れた新規な情報処理装置を提供することを課題の一
とする。または、新規な情報処理装置や新規な表示装置などを提供することを課題の一と
する。
【0009】
なお、これらの課題の記載は、他の課題の存在を妨げるものではない。なお、本発明の一
態様は、これらの課題の全てを解決する必要はないものとする。なお、これら以外の課題
は、明細書、図面、請求項などの記載から、自ずと明らかとなるものであり、明細書、図
面、請求項などの記載から、これら以外の課題を抽出することが可能である。
【課題を解決するための手段】
【0010】
本発明の一態様は、第1の画像情報および第2の画像情報を供給され第1の検知情報を供
給する入出力装置と、第1の画像情報および第2の画像情報を供給し第1の検知情報を供
給される演算装置と、を有する情報処理装置である。
(【0011】以降は省略されています)
この特許をJ-PlatPat(特許庁公式サイト)で参照する
関連特許
個人
教育のAI化
1か月前
個人
英語教材
1か月前
個人
回転式カード学習具
3か月前
日本精機株式会社
表示装置
2か月前
日本精機株式会社
表示装置
3か月前
個人
時刻表示機能つき手帳
4か月前
日本精機株式会社
表示装置
1か月前
個人
計算用教具
2か月前
中国電力株式会社
標示旗
2か月前
日本精機株式会社
車両用表示装置
1か月前
日本精機株式会社
車両用表示装置
3か月前
個人
インフィニティミラー
1か月前
日本精機株式会社
車両用表示装置
4か月前
日本精機株式会社
車両用表示装置
4か月前
日本精機株式会社
車両用センサ装置
2か月前
個人
微細構造を模した理科学習教材
1か月前
個人
モデルで薔薇の花嫁様を描く為
3か月前
日榮新化株式会社
対象物質感知シート
1か月前
シャープ株式会社
表示装置
2か月前
株式会社一弘社
情報表示板
3か月前
ニチレイマグネット株式会社
サイン器具
1か月前
個人
音楽教材
3か月前
株式会社ウメラボ
学習支援システム
2か月前
株式会社ウメラボ
学習支援システム
2か月前
朝日インテック株式会社
ラベルシート
1か月前
株式会社半導体エネルギー研究所
半導体装置
4か月前
ニチレイマグネット株式会社
磁着式電飾装置
2か月前
日本精機株式会社
表示装置及びその製造方法
1か月前
株式会社デンソー
電子制御装置
今日
リンテック株式会社
表示体
2か月前
株式会社リコー
画像投射システム
2か月前
シャープ株式会社
表示装置
1か月前
株式会社イリオスNOTO
シート保管具
1か月前
朝日インテック株式会社
生体モデル装置
1か月前
BEST株式会社
吊り下げ表示部材
3か月前
株式会社サンゲツ
見本帳
3か月前
続きを見る
他の特許を見る