TOP
|
特許
|
意匠
|
商標
特許ウォッチ
Twitter
他の特許を見る
10個以上の画像は省略されています。
公開番号
2025178226
公報種別
公開特許公報(A)
公開日
2025-12-05
出願番号
2025086670
出願日
2025-05-23
発明の名称
ガス状汚染物質を処理するための反応器及びその装置
出願人
ビー エイチ ティー サービシーズ ピー ティー イー リミテッド
代理人
TRY国際弁理士法人
主分類
B01D
53/68 20060101AFI20251128BHJP(物理的または化学的方法または装置一般)
要約
【課題】マイクロ波を利用して製造プロセスの排出物を熱分解する反応器及びその装置を提供する。
【解決手段】給気モジュールと、反応モジュール、1つ又は複数のマイクロ波モジュールと、センサとを含むガス状汚染物質を処理するための反応器であって、給気モジュールは、製造プロセスからの排出物をガイドする1つ又は複数のガイド管路を含み、反応モジュールは流体によって給気モジュールに接続され、反応モジュールは本体と、反応チャンバーとを含み、ガイド管路が反応チャンバーに連通し、マイクロ波モジュールは、マイクロ波発生ユニットと、導波ユニットとを含み、導波ユニットは反応チャンバーに接続され、且つマイクロ波発生ユニットにおいて発生されたマイクロ波放射を反応チャンバーに伝送し、センサは反応チャンバーの中に設けられ、センサは導波ユニットからのマイクロ波放射を受け取り、マイクロ波放射を熱エネルギーに変換するように構成される。
【選択図】図3
特許請求の範囲
【請求項1】
ガス状汚染物質を処理するための反応器であって、
製造プロセスからの排出物をガイドするように構成される1つ又は複数のガイド管路を含む給気モジュールと、
流体によって前記給気モジュールに接続される反応モジュールであって、本体と、前記本体によって確定された反応チャンバーとを含み、前記給気モジュールの前記ガイド管路が前記反応チャンバーに連通する反応モジュールと、
1つ又は複数のマイクロ波モジュールであって、前記反応モジュールに接続され、それぞれ、マイクロ波発生ユニットと、前記マイクロ波発生ユニットに接続された導波ユニットとを含み、前記導波ユニットは前記反応チャンバーに接続され、且つ前記マイクロ波発生ユニットにおいて発生されたマイクロ波放射を前記反応チャンバーに伝送するマイクロ波モジュールであって、
前記反応チャンバーの中に設けられたセンサであって、前記導波ユニットからの前記マイクロ波放射を受け取り、前記マイクロ波放射を熱エネルギーに変換するように構成されるセンサと、を含み、
前記反応チャンバー内の温度は少なくとも1000℃である、
反応器。
続きを表示(約 1,700 文字)
【請求項2】
前記本体は、環状壁部と、前記環状壁部上に設けられたヘッドコンポーネントとを含み、前記環状壁部は前記反応チャンバーを確定しており、前記マイクロ波モジュールの前記導波ユニットは、横方向に前記環状壁部に接続され且つ前記反応チャンバーに放射結合され、1つ又は複数の横方向に沿って前記マイクロ波放射を発する、請求項1に記載の反応器。
【請求項3】
前記センサは、前記反応チャンバーの中に固定されたスリーブと、前記スリーブによって確定された中空部とを含み、前記ガイド管路は、前記反応チャンバーの外部に位置する給気端と、前記反応チャンバーの中に位置する排気端と、前記給気端と前記排気端との間に接続され、且つ前記反応モジュールの前記本体に挿着された管体とを含み、前記排気端と前記中空部は互いに連通し、これによって前記排出物は前記センサの前記中空部を流れる、請求項1に記載の反応器。
【請求項4】
前記ガイド管路は前記本体の頂部に挿着され、前記ガイド管路は、前記反応チャンバーの外部に位置する給気端と、前記反応チャンバーの中に位置する排気端と、前記給気端と前記排気端との間に接続された管体とを含み、前記センサは、前記反応チャンバーの中に固定されたスリーブと、前記スリーブによって確定された中空部とを含み、前記スリーブは前記管体より大きい内径を有し、且つ前記ガイド管路の前記管体の排気セクションは前記スリーブの前記中空部に位置し、これによって前記排出物は前記センサの前記中空部を流れる、請求項1に記載の反応器。
【請求項5】
前記センサは、前記反応チャンバーの中に固定されたスリーブと、前記スリーブによって確定された中空部とを含み、前記スリーブは1つ又は複数の給気口を有し、前記給気口は前記ガイド管路の下流に連通し、これによって前記排出物は前記センサの前記中空部を流れる、請求項1に記載の反応器。
【請求項6】
前記本体は、頂部部分と、底部部分と、前記頂部部分と前記底部部分との間に接続された環状の壁部分とを含み、且つ前記センサは、前記反応チャンバー内に設けられたスリーブと、前記スリーブによって確定された中空部とを含み、前記スリーブは、前記本体の前記頂部部分から、前記本体の前記底部部分に設けられた流出開口部にまで延在し、前記頂部部分と前記底部部分との間に、前記環状の壁部分内に位置し且つ前記スリーブを囲繞する環状の空間が確定されており、前記環状の空間は、流体によって前記ガイド管路に連通して前記排出物を導入し、前記スリーブ上に設けられた1つ又は複数の流入口に流体によって連通し、これによって前記排出物を前記中空部にガイドする、請求項1に記載の反応器。
【請求項7】
前記本体は環状壁部を含み、前記マイクロ波モジュールの前記導波ユニットは前記環状壁部に接続され、これによって前記導波ユニットの出力端は前記マイクロ波放射を前記センサに伝送する、請求項1に記載の反応器。
【請求項8】
前記センサは、前記反応チャンバーの中に固定されたスリーブと、前記スリーブによって確定された1つ又は複数のガスチャネルとを含み、前記ガスチャネルは前記ガイド管路の下流に接続される、請求項1に記載の反応器。
【請求項9】
前記センサは、前記反応チャンバーの中に固定されたスリーブと、前記スリーブによって確定された中空部とを含み、前記スリーブは、1つ又は複数の断熱材料から製造された第1の管壁と、1つ又は複数のセンサ材料から製造された第2の管壁とを含み、前記第1の管壁と前記第2の管壁は互いに嵌着される、請求項1に記載の反応器。
【請求項10】
ガス状汚染物質を処理するための装置であって、
請求項1~9のいずれか一項に記載の反応器と、
前記反応器の下流に接続されて前記反応器からの前記排出物を受け取る水タンクと、
前記水タンクに接続されて前記水タンクを流れる前記排出物を受け取る二次反応器と、
を含む装置。
発明の詳細な説明
【技術分野】
【0001】
本開示は、ガス状汚染物質を処理するための反応器及びその装置に関し、特に、マイクロ波を利用して製造プロセスの排出物を熱分解する反応器及びその装置に関する。
続きを表示(約 3,200 文字)
【背景技術】
【0002】
製造、電子及び化学産業では、例えば、半導体、ディスプレイ、太陽電池パネル、フィルムなどの製造プロセスがいずれも人体又は環境に有害な様々な化学物質を含むガス状汚染物質を発生させるため、ガス状汚染物質を処理するための装置を併設する必要がある。一般的なものとして、燃焼式、プラズマ式、水洗式、触媒式などがあり、現在分解効率が良いのは燃焼式又はプラズマ式である。従来技術としては、米国登録特許第US12161964B2号、第US12158266B2号及び第US11985754B2号、米国出願公開特許第US20240375158A1号、第US20240381519A1号及び第US20240082782A1号に開示された装置が挙げられる。
【0003】
しかしながら、燃焼式排ガス処理装置において燃料が使用されるため、多くのエネルギー消費及び温室効果ガスの排出が問題となり、しかも装置のメンテナンスコストが高く、体積も大きい。プラズマ式排ガス処理装置は、複雑な電力システム及び電界設計が必要であるため、費用が高いが、安定性が低く、電磁干渉が生じる恐れもある。
【発明の概要】
【0004】
本開示は、ガス状汚染物質を処理するための反応器であって、給気モジュールと、反応モジュールと、1つ又は複数のマイクロ波モジュールと、センサとを含み、当該給気モジュールは、製造プロセスからの排出物をガイドするように構成される1つ又は複数のガイド管路を含み、当該反応モジュールは、流体によって当該給気モジュールに接続され、当該反応モジュールは本体と、当該本体によって確定された反応チャンバーとを含み、当該給気モジュールの当該ガイド管路が当該反応チャンバーに連通し、当該マイクロ波モジュールは、当該反応モジュールに接続され、それぞれ、マイクロ波発生ユニットと、当該マイクロ波発生ユニットに接続された導波ユニットとを含み、当該導波ユニットは当該反応チャンバーに接続され、且つ当該マイクロ波発生ユニットにおいて発生されたマイクロ波放射を当該反応チャンバーに伝送し、当該センサは当該反応チャンバーの中に設けられ、当該センサは当該導波ユニットからの当該マイクロ波放射を受け取り、当該マイクロ波放射を熱エネルギーに変換するように構成され、当該反応チャンバー内の温度は少なくとも1000℃である反応器を提供する。
【0005】
本開示は、さらに、ガス状汚染物質を処理するための装置であって、上記の当該反応器と、水タンクと、二次反応器とを含み、当該水タンクは当該反応器の下流に接続されて当該反応器からの当該排出物を受け取り、当該二次反応器は当該水タンクに接続されて当該水タンクを流れる当該排出物を受け取る装置を提供する。
【図面の簡単な説明】
【0006】
本開示の一例による熱反応器のブロック図である。
本開示の一例による熱反応器の斜視図である。
図2Aの分解図である。
図2Aの横断面の概略図である。
図2Aの立体的な断面概略図である。
図2Aの縦断面の概略図である。
本開示の別の例による熱反応器の斜視図である。
図5Aの分解図である。
図5Aの立体的な断面概略図である。
図5Aの縦断面の概略図である。
本開示の一例によるガス状汚染物質を処理するための装置の斜視図である。
【発明を実施するための形態】
【0007】
本開示は、ガス状汚染物質を処理するための反応器、特に、熱反応器を提供し、当該反応器は、除害(abatement)装置として、例えば、排ガス(waste gas)など、半導体、ディスプレイパネル、太陽電池パネルなどの製造プロセスからの排出流(effluent stream)である汚染物質を処理するために使用することができ、さらに、当該反応器は、例えば、化学気相堆積(Chemical Vapor Deposition,CVD)又はエッチングプロセスにおいて発生された含フッ素化合物(PFCs)、シラン及びその誘導体、含塩素化合物、含窒素化合物、揮発性有機化合物(VOCs)及び金属有機化合物など、環境及び人体に有害な物質を処理することができる。当該熱反応器は、ガス状汚染物質を処理するための単独な装置であってもよく、ガス状汚染物質を処理するための装置に組み込んでその部分とすることもでき、例えば、当該熱反応器は、燃焼・水洗式排ガス処理装置における熱反応器又は燃焼式排ガス処理装置における熱反応器などであってもよい。
【0008】
図1は、一例の当該熱反応器のブロック図を示し、当該熱反応器は、給気モジュール10と、反応モジュール11と、マイクロ波モジュール12と、センサ13とを含み、給気モジュール10は、製造プロセスからの排出流Eを反応モジュール11にガイドし、センサ13は、反応モジュール11の中に設けられ、センサ13及びマイクロ波モジュール12を併設することにより、反応モジュール11の中に高温及び熱が生成され、これによって排出流Eを分解する。マイクロ波モジュール12は、マイクロ波発生ユニット12aと、マイクロ波発生ユニット12aに接続された導波ユニット12bとを含み、マイクロ波発生ユニット12aは電源に接続され、マイクロ波放射を発生させ、導波ユニット12bは当該マイクロ波放射を伝送し、且つ当該マイクロ波放射をセンサ13に伝送する。反応モジュール11は排出流Eを熱領域に通過させるように構成され、当該熱領域は、センサ13が当該マイクロ波放射によって加熱されて形成される。当該マイクロ波放射及びセンサ13を併設することにより、少ない電力消費と短い時間で、熱分解用の高温を得ることができる。
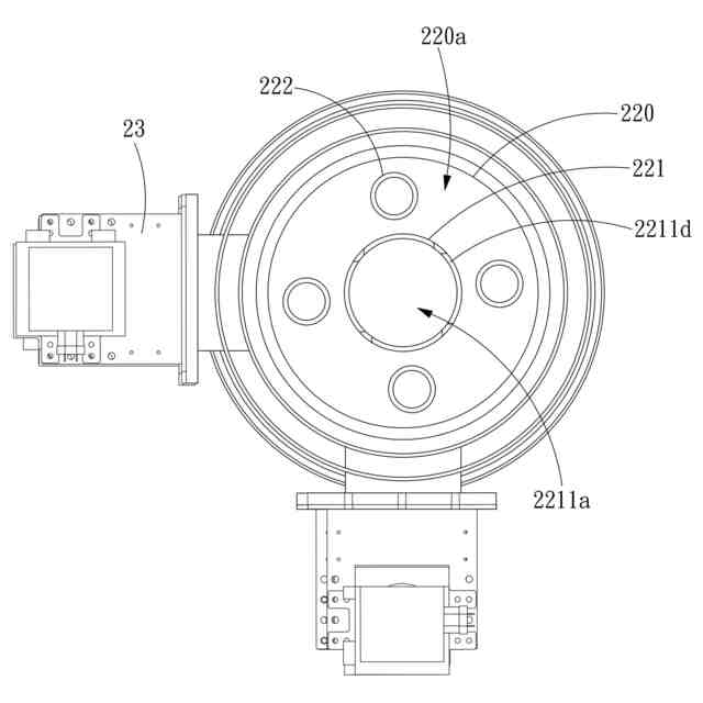
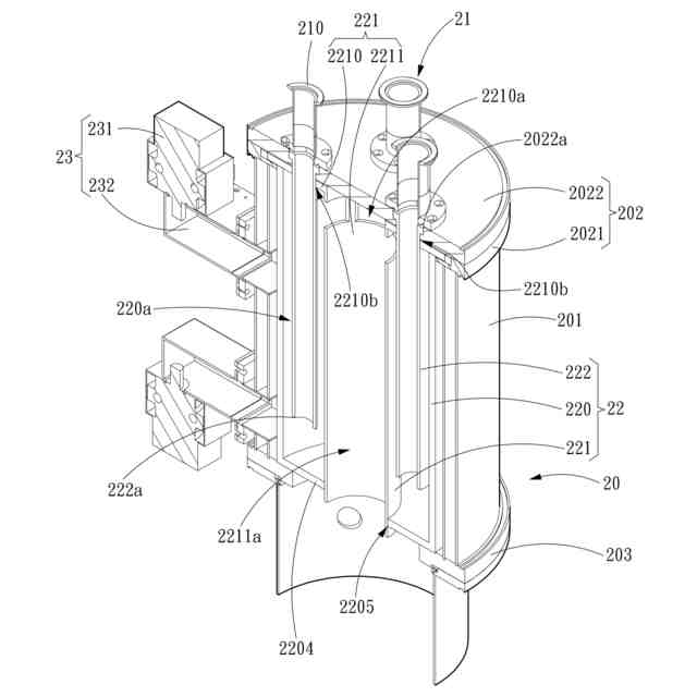
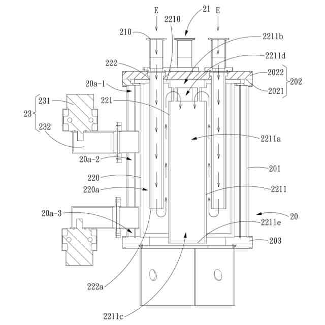
【0009】
図2A~図4は、一例による当該熱反応器の概略図を示し、当該熱反応器は、除害ユニット20と、複数の給気管21と、センサコンポーネント22と、複数のマイクロ波モジュール23とを含み、除害ユニット20は、外筒201と、頂蓋コンポーネント202と、環状ベース203とを含む。外筒201は環状ベース203に設けられ、環状ベース203は、当該熱反応器の下流のコンポーネント、例えば、水タンク又は湿式スクラバーに接続され、頂蓋コンポーネント202は外筒201に設けられ、頂蓋コンポーネント202はフランジ2021と、蓋体2022とを含み、フランジ2021は外筒201に設けられ、蓋体2022はフランジ2021に設けられ、除害ユニット20はチャンバーを確定しており、当該チャンバーを上部領域20a-1、中間領域20a-2及び下部領域20a-3に分けることができる。本例では、給気管21は4つであり、蓋体2022は4つの第1の貫通孔2022aを有し、給気管21は第1の貫通孔2022aに設けられる。排出流Eは給気管21の給気端210から当該チャンバーに注入され、給気管21は直立して設けられ、即ち、給気管21は蓋体2022の平面又は水平面(又は地面)に対して垂直であり、別の例では、給気管21を、例えば、当該平面又は当該水平面と60~90度の角度を挟むように、斜めに設けることもできる。
【0010】
いくつかの例では、除害ユニット20を反応モジュールと呼ぶこともでき、除害ユニット20によって画定されたチャンバーを反応チャンバーと呼ぶこともでき、外筒201を環状壁部と呼ぶこともでき、頂蓋コンポーネント202をヘッドコンポーネントと呼ぶこともできる。
(【0011】以降は省略されています)
この特許をJ-PlatPat(特許庁公式サイト)で参照する
関連特許
プライミクス株式会社
攪拌装置
19日前
株式会社切川物産
撹拌装置
20日前
トヨタ紡織株式会社
フィルタ
13日前
株式会社高垣製作所
粉粒体加工装置
4日前
個人
吸着材複合粒子
4日前
トヨタ紡織株式会社
水流帯電装置
13日前
栗田工業株式会社
ギ酸の回収方法
20日前
東芝ライテック株式会社
紫外線処理装置
19日前
株式会社ダイセル
圧力容器
11日前
株式会社HELIX
加熱装置
5日前
株式会社ダルトン
空気清浄化装置のフィルタ保持装置
4日前
愛三工業株式会社
水素分離膜
11日前
株式会社豊田中央研究所
二酸化炭素回収システム
13日前
セイコーエプソン株式会社
フィルター装置
11日前
三菱化工機株式会社
粒子の分級装置及び粒子の分級方法
4日前
日本スピンドル製造株式会社
除去フィルタ及び除去装置
4日前
株式会社デンソー
電気化学セル
12日前
トヨタ自動車株式会社
予測モデル
4日前
株式会社ハイドロネクスト
金属材料
6日前
エヌ・イーケムキャット株式会社
貴金属吸着材料
5日前
株式会社HELIX
供給装置及び加熱装置
5日前
栗田工業株式会社
方法、システム及びプログラム
11日前
トヨタ車体株式会社
ガス処理装置
4日前
大陽日酸株式会社
ガス分離方法及びガス分離装置
19日前
大陽日酸株式会社
ガス分離方法及びガス分離装置
19日前
大陽日酸株式会社
ガス分離方法及びガス分離装置
19日前
株式会社ハイドロネクスト
水素分離装置
6日前
日本化薬株式会社
フィルタ、およびフィルタを備えるガス発生器
6日前
いすゞ自動車株式会社
二酸化炭素回収装置
11日前
セイコーエプソン株式会社
流体デバイス
11日前
三菱ケミカル株式会社
触媒およびそれを用いるメタノールの製造方法
19日前
いすゞ自動車株式会社
二酸化炭素回収装置
11日前
いすゞ自動車株式会社
二酸化炭素回収装置
11日前
アイエス ジャパン株式会社
粉体の製造方法及び中実粉体
11日前
祈光訊息能科技有限公司
液体分子光子処理装置、処理方法と応用
1日前
川崎重工業株式会社
カーボンリサイクルシステム
5日前
続きを見る
他の特許を見る