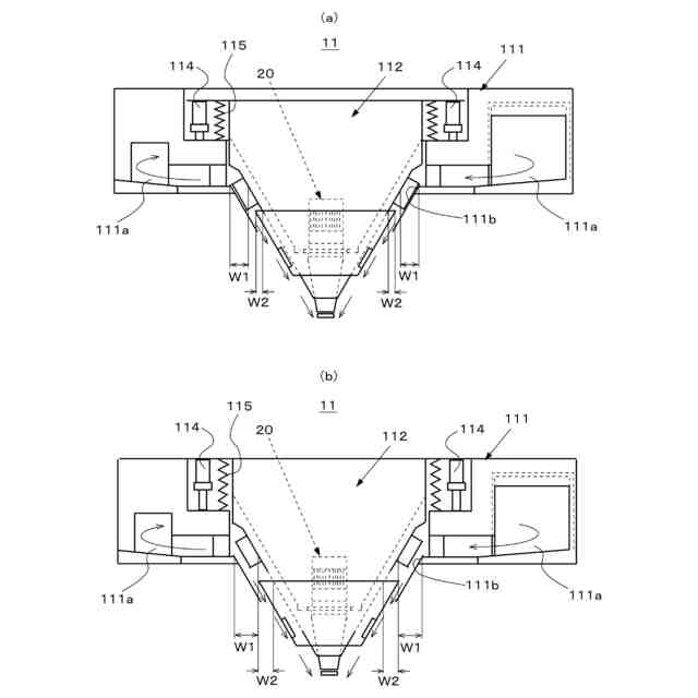
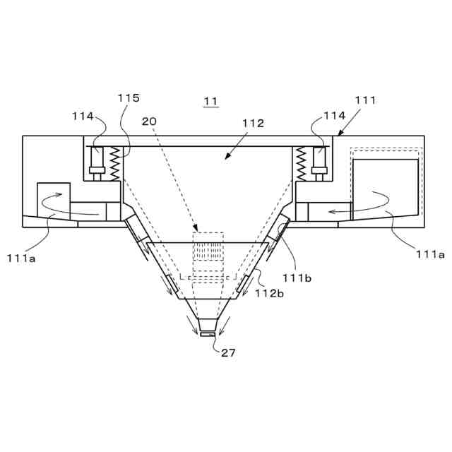
TOP
|
特許
|
意匠
|
商標
特許ウォッチ
Twitter
他の特許を見る
公開番号
2025173759
公報種別
公開特許公報(A)
公開日
2025-11-28
出願番号
2024079504
出願日
2024-05-15
発明の名称
粉体の製造方法及び中実粉体
出願人
アイエス ジャパン株式会社
代理人
弁理士法人 津国
主分類
B01J
2/04 20060101AFI20251120BHJP(物理的または化学的方法または装置一般)
要約
【課題】凹状粉体及び中空粉体の含有率が低く、中実粉体の含有率が高い粉体製品の製造を可能とする。
【解決手段】送風機13から送り込まれる空気を加熱して熱風を生成し、ロータリアトマイザ20によって乾燥室10内に噴霧される原液の液滴を、乾燥室10内に供給される熱風によって乾燥させる粉体の製造方法であって、乾燥室10内に供給される熱風の温度を、100℃~30℃の範囲内から選択すること、熱風の温度及び前記乾燥室10の最大径に基づいて、送風機13の単位時間当たりの送風量を決定すること、熱風の温度及び乾燥室10の最大径に基づいて、乾燥室10内に供給される熱風の風速を決定すること、を含み、熱風の温度、送風機13の単位時間当たりの送風量、及び乾燥室10内に供給される熱風の風速を維持するための制御をしつつ、乾燥室10内に噴霧される原液の液滴を乾燥させることにより、中実粉体を生成する。
【選択図】図1
特許請求の範囲
【請求項1】
送風機から送り込まれる空気を加熱して熱風を生成し、ロータリアトマイザによって乾燥室内に噴霧される原液の液滴を、前記乾燥室内に供給される前記熱風によって乾燥させる粉体の製造方法であって、
前記乾燥室内に供給される前記熱風の温度を、100℃~30℃の範囲内から選択すること、
前記熱風の温度及び前記乾燥室の最大径に基づいて、前記送風機の単位時間当たりの送風量を決定すること、
前記熱風の温度及び前記乾燥室の最大径に基づいて、前記乾燥室内に供給される前記熱風の風速を決定すること、を含み、
前記熱風の温度、前記送風機の単位時間当たりの送風量、及び前記乾燥室内に供給される前記熱風の風速を維持するための制御をしつつ、前記乾燥室内に噴霧される前記原液の液滴を乾燥させることにより、中実粉体を生成することを特徴とする粉体の製造方法。
続きを表示(約 300 文字)
【請求項2】
前記乾燥室の最大径を960mm以上とし、前記送風機の単位時間当たりの送風量を1.0m
3
/min以上とし、前記乾燥室内に供給される前記熱風の風速を12.0m/s以上とした請求項1に記載の粉体の製造方法。
【請求項3】
前記ロータリアトマイザに供給される前記原液の単位時間当たりの流量を1.0L/h~2.0L/hの範囲内とし、前記ロータリアトマイザの回転数を30000rpm以下とした請求項1に記載の粉体の製造方法。
【請求項4】
請求項1~3のいずれか1項に記載の粉体の製造方法によって製造されたことを特徴とする中実粉体。
発明の詳細な説明
【技術分野】
【0001】
本発明は、スプレードライヤ設備を使用した粉体の製造方法に関し、特に、100℃~30℃の低温の熱風によって、中実粉体の含有率を飛躍的に向上させることを可能とする粉体の製造方法に関する。
続きを表示(約 2,700 文字)
【背景技術】
【0002】
一般的なスプレードライヤ設備は、製造される粉体製品の品質を一定に保つため、比較的高温の熱風によって原液を乾燥させている。例えば、研究開発用の小型スプレードライヤ設備であれば、乾燥室の入口における熱風の温度は、140℃~200℃程度に設定される。また、粉体製品の量産に用いられる小型、中型及び大型スプレードライヤ設備であれば、乾燥室の入口における熱風の温度は、220℃~300℃程度に設定される。
【0003】
しかし、140℃以上の熱風の温度は、原液を瞬時に乾燥させるのに十分過ぎる高温である。高温に曝されて過剰に乾燥された粉体は、嵩が減少して硬くなり、品質が低い。また、空気を加熱して熱風を生成するための熱源として、電気、液化天然ガス(LNG)、液化石油ガス(LPG)、灯油、重油などが用いられる。熱風の温度が高くなるほど、これら熱源の消費量が多くなる。従来は、140℃以上の過剰に高温の熱風を生成するために、熱源が無駄に消費されていた。さらに、乾燥室の入口に供給される熱風の温度が高いほど、スプレードライヤ設備から排出される熱風の温度も高くなる。スプレードライヤ設備が屋内に設置される場合は、スプレードライヤ設備から排出される熱風によって、屋内が高温に加熱されてしまう。粉体製品の製造に携わる作業者は、常に、高温下で作業しなければならなかった。
【0004】
そこで、本出願人は、特開2022-189024号公報(特許文献1)において、120℃以下の一定温度の熱風によって粉体の生成を可能とするスプレードライヤ設備を提案した。このスプレードライヤ設備は、乾燥室内に供給される熱風の温度分布を均一に近づけるための第1手段と、乾燥室内に噴霧される原液の液滴径を一定に近づけるための第2手段と、乾燥室内の温度分布を一定に保つための第3手段と、少なくとも乾燥室内において、乾燥に必要な粉体の滞留時間を確保するための第4手段と、乾燥室内の圧力を一定に保つための第5手段と、を備える。これらの第1~第5手段によって、熱風の温度分布と、原液の液滴径と、乾燥室内の温度分布と、乾燥室内における粉体の滞留時間とを厳密に制御することにより、120℃以下の低温の熱風による粉体の生成を可能とした。
【先行技術文献】
【特許文献】
【0005】
特開2022-189024号公報
【発明の概要】
【発明が解決しようとする課題】
【0006】
特開2022-189024号公報のスプレードライヤ設備を使用し、乾燥室内に供給される熱風の温度を100℃に設定して粉体を製造した。この結果、製造された粉体が、図11(a)~(d)に示す3種の形態となることが判明した。図11(a)、(b)は、表面に窪みが形成された凹状粉体を示す。図11(b)は、表面に窪みがなく、内部に空隙が形成された中空粉体を示す。図11(d)は、表面に窪みがなく、中身が詰まった中実粉体を示す。
【0007】
スプレードライヤ設備によって製造された粉体に、凹状粉体、中空粉体及び中実粉体の3種の形態が混在すると、粉体の嵩比重(重量/容積)が不安定になる。嵩比重が不安定な粉体は、プレス加工によって均一な密度の成形体にすることが困難である。このため、成形体の内部に微細な空隙が形成されたり、成形体の外部に割れや欠けが生じたりする問題がある。このような問題は、例えば、錠剤のような小さな成形体ほど起こりやすい。
【0008】
本発明者は、凹状粉体、中空粉体及び中実粉体の3種の形態が生成される原因を、次のように考える。乾燥室内に噴霧される原液の液滴には、粉体の原料となる粒子が分散した状態で含まれている。乾燥室内に噴霧された液滴の水分は、熱風に曝される表面から順次蒸発し、液滴の体積が縮小する。蒸発した水分に含まれていた粒子は、液滴の表面へ移動する。このため、液滴の表面の水分が早く蒸発するほど、液滴の表面へ移動した粒子の密度が高くなり、液滴の表面に乾燥した粒子の殻が形成される。この結果、液滴の乾燥が更に進んだとしても、液滴の体積は縮小しなくなり、水分が蒸発した液滴の内部は減圧される。このとき、液滴の表面の乾燥した粒子の殻に脆弱な部分があれば、この部分が窪んで凹状粉体が生成される。液滴の表面の乾燥した粒子の殻に脆弱な部分がなければ、内部に空隙を残した中空粉体が生成される。一方、液滴の表面に乾燥した粒子の殻が形成されなかった場合は、液滴の乾燥が進むにつれて液滴の体積が縮小し、粒子が詰まった中実粉体が生成される。特開2022-189024号公報のスプレードライヤ設備によって、中実粉体が生成された原因は、比較的に低温の100℃の熱風によって、液滴の表面の水分がゆっくりと蒸発され、液滴の表面に乾燥した粒子の殻が形成されずに、液滴の体積の縮小が進んだことによるものと予想する。しかし、特開2022-189024号公報のスプレードライヤ設備によって製造された粉体は、中空粉体の含有率が高く、中実粉体の含有率が低かった。
【0009】
本発明は、上記の問題点に鑑みてなされたものであり、凹状粉体及び中空粉体の含有率が低く、中実粉体の含有率が高い粉体製品の製造を可能とし、プレス加工によって均一な密度の成形体にすることができる粉体の製造方法を提供することを目的とする。
【課題を解決するための手段】
【0010】
(1)上記目的を達成するために、本発明の粉体の製造方法は、送風機から送り込まれる空気を加熱して熱風を生成し、ロータリアトマイザによって乾燥室内に噴霧される原液の液滴を、前記乾燥室内に供給される前記熱風によって乾燥させる粉体の製造方法であって、前記乾燥室内に供給される前記熱風の温度を、100℃~30℃の範囲内から選択すること、前記熱風の温度及び前記乾燥室の最大径に基づいて、前記送風機の単位時間当たりの送風量を決定すること、前記熱風の温度及び前記乾燥室の最大径に基づいて、前記乾燥室内に供給される前記熱風の風速を決定すること、を含み、前記熱風の温度、前記送風機の単位時間当たりの送風量、及び前記乾燥室内に供給される前記熱風の風速を維持するための制御をしつつ、前記乾燥室内に噴霧される前記原液の液滴を乾燥させることにより、中実粉体を生成することを特徴とする。
(【0011】以降は省略されています)
この特許をJ-PlatPat(特許庁公式サイト)で参照する
関連特許
株式会社西部技研
除湿装置
1か月前
株式会社日本触媒
ドロー溶質
1か月前
プライミクス株式会社
攪拌装置
9日前
日本バイリーン株式会社
フィルタ
23日前
サンノプコ株式会社
消泡剤
1か月前
東レ株式会社
遠心ポッティング方法
1か月前
トヨタ自動車株式会社
濾過装置
24日前
株式会社切川物産
撹拌装置
10日前
トヨタ紡織株式会社
フィルタ
3日前
松岡紙業 株式会社
油吸着体の製造方法
1か月前
栗田工業株式会社
ギ酸の回収方法
10日前
トヨタ紡織株式会社
水流帯電装置
3日前
個人
気液混合装置
1か月前
富士電機株式会社
ガス処理システム
1か月前
東芝ライテック株式会社
光照射装置
24日前
株式会社フクハラ
圧縮空気圧回路ユニット
1か月前
株式会社明電舎
成膜装置
1か月前
東芝ライテック株式会社
紫外線処理装置
9日前
日本化薬株式会社
直鎖ブテン製造用触媒及びその使用
1か月前
本田技研工業株式会社
二酸化炭素回収装置
1か月前
株式会社ダイセル
圧力容器
1日前
個人
フッ化炭素糸物にフッ素をコーティングした浄水手段
1か月前
三浦工業株式会社
撹拌装置
1か月前
いであ株式会社
PFAS除去用バイオ炭の製造方法
25日前
JFEエンジニアリング株式会社
二酸化炭素回収方法
1か月前
三菱重工業株式会社
石膏脱水システム
23日前
栗田工業株式会社
有機物含有水の脱泡処理装置
17日前
日本碍子株式会社
電気加熱式担体
1か月前
愛三工業株式会社
水素分離膜
1日前
オルガノ株式会社
ろ過膜の洗浄方法及び洗浄装置
17日前
みづほ工業株式会社
撹拌装置、及び撹拌羽根取付け方法
1か月前
パナソニックIPマネジメント株式会社
除湿装置
1か月前
三菱ケミカル株式会社
精製ガスの製造方法
1か月前
パナソニックIPマネジメント株式会社
除湿装置
1か月前
パナソニックIPマネジメント株式会社
除湿装置
1か月前
株式会社豊田中央研究所
二酸化炭素回収システム
3日前
続きを見る
他の特許を見る