TOP
|
特許
|
意匠
|
商標
特許ウォッチ
Twitter
他の特許を見る
10個以上の画像は省略されています。
公開番号
2025177905
公報種別
公開特許公報(A)
公開日
2025-12-05
出願番号
2024085059
出願日
2024-05-24
発明の名称
内視鏡
出願人
富士フイルム株式会社
代理人
弁理士法人航栄事務所
主分類
A61B
1/008 20060101AFI20251128BHJP(医学または獣医学;衛生学)
要約
【課題】超音波振動子アレイの一部を対象部位に適切に接触させる内視鏡を提供する。
【解決手段】超音波振動子アレイを含む先端部と、上記先端部の基端側に設けられた湾曲部と、を含む挿入部と、上記湾曲部の湾曲操作が可能な湾曲操作部と、を備え、上記湾曲部は、第1領域と、上記第1領域と上記先端部の間の第2領域と、を含み、上記第1領域は、上記湾曲操作部が第1範囲で操作されている場合に、上記先端部における上記超音波振動子アレイが設けられた面側に湾曲し、上記第2領域は、上記湾曲操作部が上記第1範囲で操作されている場合に上記先端部の軸線に沿って延びた状態に保持される内視鏡。
【選択図】図8
特許請求の範囲
【請求項1】
超音波振動子アレイを含む先端部と、前記先端部の基端側に設けられた湾曲部と、を含む挿入部と、
前記湾曲部の湾曲操作が可能な湾曲操作部と、を備え、
前記湾曲部は、第1領域と、前記第1領域と前記先端部の間の第2領域と、を含み、
前記第1領域は、前記湾曲操作部が第1範囲で操作されている場合に、前記先端部における前記超音波振動子アレイが設けられた面側に湾曲し、
前記第2領域は、前記湾曲操作部が前記第1範囲で操作されている場合に前記先端部の軸線に沿って延びた状態に保持される内視鏡。
続きを表示(約 920 文字)
【請求項2】
請求項1に記載の内視鏡であって、
前記先端部は、前記超音波振動子アレイよりも前記湾曲部側に、処置具の導出口を有する内視鏡。
【請求項3】
請求項2に記載の内視鏡であって、
前記湾曲操作部が前記第1範囲で操作された場合の前記湾曲部の湾曲角度の第1上限値は、50°以上100°以下である内視鏡。
【請求項4】
請求項3に記載の内視鏡であって、
前記第1上限値は、60°以上95°以下である内視鏡。
【請求項5】
請求項1から4のいずれか1項に記載の内視鏡であって、
前記第2領域の少なくとも一部は、前記湾曲操作部が前記第1範囲を超えた第2範囲で操作された場合に、前記先端部における前記超音波振動子アレイが設けられた面側に湾曲する内視鏡。
【請求項6】
請求項5に記載の内視鏡であって、
前記第1領域は、前記湾曲操作部が前記第2範囲で操作された場合に、前記湾曲操作部が前記第1範囲の前記第2範囲側の端まで操作された場合の湾曲状態を保持する内視鏡。
【請求項7】
請求項6に記載の内視鏡であって、
前記第2領域における前記先端部側の端部は、前記湾曲操作部による湾曲操作が不能に構成されている内視鏡。
【請求項8】
請求項7に記載の内視鏡であって、
前記第2領域における前記先端部側の前記端部は、外力により湾曲可能に構成されている内視鏡。
【請求項9】
請求項8に記載の内視鏡であって、
前記湾曲操作部が前記第2範囲で操作された場合の前記湾曲部の湾曲角度の第2上限値は、165°以上195°以下である内視鏡。
【請求項10】
請求項9に記載の内視鏡であって、
前記湾曲部は、更に、前記先端部における前記超音波振動子アレイが設けられた面側とは反対側に湾曲可能であり、
前記湾曲操作部が操作された場合の前記反対側への湾曲角度の第3上限値は、前記第2上限値よりも小さい内視鏡。
(【請求項11】以降は省略されています)
発明の詳細な説明
【技術分野】
【0001】
本発明は、内視鏡に関する。
続きを表示(約 1,800 文字)
【背景技術】
【0002】
特許文献1、3、5、6には、先端部分を基端部分よりも大きく湾曲させることのできる湾曲部を有する内視鏡が記載されている。
【0003】
特許文献2には、複数の曲率半径で湾曲可能な湾曲部を有する内視鏡が記載されている。
【0004】
特許文献4には、挿入部の軸線方向に沿って複数の節輪が連結されて構成される内視鏡の湾曲部構造において、複数の節輪は、隣接する節輪本体同士の間隔が湾曲部の基端部側よりも湾曲部の先端部側の方が徐々に大きくなるように連結されていることが記載されている。
【先行技術文献】
【特許文献】
【0005】
特開2005-334050号公報
特開2004-154545号公報
特開平02-271817号公報
特開2000-342517号公報
実開昭56-124401号公報
特開平11-155806号公報
国際公開第2022/153798号
【発明の概要】
【発明が解決しようとする課題】
【0006】
本開示の技術では、超音波振動子アレイの一部を対象部位に適切に接触させることのできる内視鏡を提供する。
【課題を解決するための手段】
【0007】
本開示の技術の一態様の内視鏡は、超音波振動子アレイを含む先端部と、上記先端部の基端側に設けられた湾曲部と、を含む挿入部と、上記湾曲部の湾曲操作が可能な湾曲操作部と、を備え、上記湾曲部は、第1領域と、上記第1領域と上記先端部の間の第2領域と、を含み、上記第1領域は、上記湾曲操作部が第1範囲で操作されている場合に、上記先端部における上記超音波振動子アレイが設けられた面側に湾曲し、上記第2領域は、上記湾曲操作部が上記第1範囲で操作されている場合に上記先端部の軸線に沿って延びた状態に保持されるものである。
【発明の効果】
【0008】
本開示の技術によれば、超音波振動子アレイの一部を対象部位に適切に接触させることができる。
【図面の簡単な説明】
【0009】
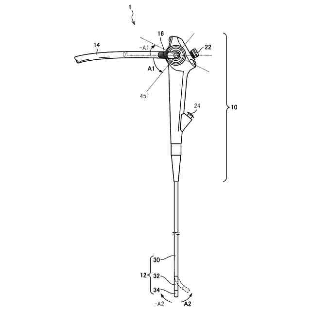
図1は、本開示の技術の一態様の内視鏡としての超音波内視鏡1の全体図である。
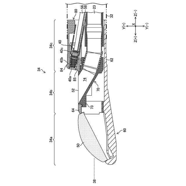
図2は、第1実施形態の先端硬性部34の斜視図である。
図3は、第1実施形態の先端硬性部34の分解斜視図である。
図4は、第1実施形態の先端硬性部34の断面図である。
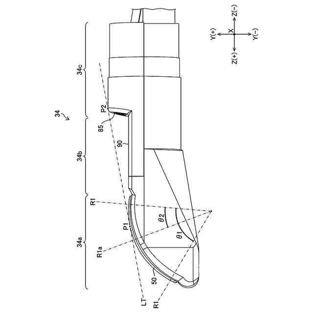
図5は、接線LTを含む先端硬性部34の斜視図である。
図6は、接線LTを含む先端硬性部34の側面図である。
図7は、変形例の先端硬性部34の断面図である。
図8は、図1に示す内視鏡1の湾曲部32の要部を模式的に示す斜視図である。
図9は、図8に示す第1可動部材32Aの拡大斜視図である。
図10は、図8に示す第2可動部材32Bの拡大斜視図である。
図11は、図8に示す湾曲部32を方向Xに見た状態を模式的に示す図である。
図12は、図11に示す状態からアングルレバー16をA1方向へ回転させた場合の湾曲部32の湾曲状態を説明するための模式図である。
図13は、内視鏡1を気管支に挿入して使用する状態を説明するための模式図である。
図14は、図12に示す状態からアングルレバー16の回転角度を大きくした場合の湾曲部32の湾曲状態を説明するための模式図である。
図15は、内視鏡1を気管支に挿入して使用する状態を説明するための模式図である。
図16は、図11に示す状態からアングルレバー16を-A1方向へ回転させた場合の湾曲部32の湾曲状態を説明するための模式図である。
図17は、内視鏡1を気管支に挿入して使用する別の状態を説明するための模式図である。
【発明を実施するための形態】
【0010】
図1は、本開示の技術の一態様の内視鏡としての超音波内視鏡1の全体図である。図1に示すように、超音波内視鏡1(以下、単に「内視鏡1」と略す)は、病変部(観察部位、検査部位、診察部位でも可)の細胞組織の採取などに用いられる。なお、本実施形態では病変部として気管支のリンパ節を例に挙げて説明を行う。
(【0011】以降は省略されています)
この特許をJ-PlatPat(特許庁公式サイト)で参照する
関連特許
個人
貼付剤
1か月前
個人
簡易担架
22日前
個人
腋臭防止剤
22日前
個人
短下肢装具
4か月前
個人
足踏み器具
29日前
個人
嚥下鍛錬装置
5か月前
個人
前腕誘導装置
4か月前
個人
排尿補助器具
1か月前
個人
アイマスク装置
3か月前
個人
歯の修復用材料
5か月前
個人
ウォート指圧法
1か月前
個人
汚れ防止シート
2か月前
個人
腰ベルト
1か月前
個人
水分吸収性物品
1日前
個人
バッグ式オムツ
5か月前
個人
胸骨圧迫補助具
3か月前
個人
矯正椅子
6か月前
個人
テスト肺
3日前
個人
美容セット
1か月前
個人
湿布連続貼り機。
3か月前
個人
哺乳瓶冷まし容器
4か月前
個人
排尿排便補助器具
24日前
個人
介護移乗アシスト
1日前
個人
陣痛緩和具
5か月前
個人
歯の保護用シール
6か月前
個人
治療用酸化防御装置
2か月前
株式会社大野
骨壷
5か月前
株式会社八光
剥離吸引管
6か月前
株式会社コーセー
化粧料
1か月前
個人
性行為補助具
4か月前
個人
エア誘導コルセット
3か月前
個人
高気圧環境装置
5か月前
個人
形見の製造方法
5か月前
株式会社ダリヤ
毛髪化粧料
2か月前
個人
シリンダ式歩行補助具
4か月前
株式会社ダリヤ
毛髪化粧料
1日前
続きを見る
他の特許を見る